TOP
|
特許
|
意匠
|
商標
特許ウォッチ
Twitter
他の特許を見る
公開番号
2025138794
公報種別
公開特許公報(A)
公開日
2025-09-25
出願番号
2025110263,2021175276
出願日
2025-06-30,2021-10-27
発明の名称
装飾部材および時計
出願人
シチズン時計株式会社
代理人
弁理士法人虎ノ門知的財産事務所
主分類
C23C
16/27 20060101AFI20250917BHJP(金属質材料への被覆;金属質材料による材料への被覆;化学的表面処理;金属質材料の拡散処理;真空蒸着,スパッタリング,イオン注入法,または化学蒸着による被覆一般;金属質材料の防食または鉱皮の抑制一般)
要約
【課題】優れた硬度および摩擦係数を有すると共に、青色の外観色を有する装飾部材を提供すること。
【解決手段】装飾部材は、基材上に、第1密着層、第2密着層、硬質層および最表層が、この順で積層された装飾部材であって、前記硬質層は、ダイヤモンドライクカーボン(以下DLCと記載)を含み、厚さが0.4μm以上1.2μm以下であり、前記最表層は、DLCを含み、前記基材、前記第1密着層および前記第2密着層が、この順で積層された積層体上に形成した前記硬質層について、L
*
a
*
b
*
表色系におけるL
*
値が48以上49以下であり、a
*
値が0以上0.1以下であり、b
*
が1.5以上1.7以下であり、前記装飾部材の最表にある前記最表層について、L
*
a
*
b
*
表色系におけるL
*
値が30以上31以下であり、a
*
値が1.1以上1.7以下であり、b
*
が-11以上-9以下である。
【選択図】図1
特許請求の範囲
【請求項1】
基材上に、第1密着層、第2密着層、硬質層および最表層が、この順で積層された装飾部材であって、
前記第1密着層は、TiおよびCrから選ばれる少なくとも1種の元素を含み、
前記第2密着層は、SiおよびGeから選ばれる少なくとも1種の元素を含み、
前記硬質層は、ダイヤモンドライクカーボンを含み、厚さが0.4μm以上1.2μm以下であり、
前記最表層は、ダイヤモンドライクカーボンを含み、
前記基材、前記第1密着層および前記第2密着層が、この順で積層された積層体上に形成した前記硬質層について、L
*
a
*
b
*
表色系(CIE 1976)におけるL
*
値が48以上49以下であり、a
*
値が0以上0.1以下であり、b
*
値が1.5以上1.7以下であり、
前記装飾部材の最表にある前記最表層について、L
*
a
*
b
*
表色系(CIE 1976)におけるL
*
値が30以上31以下であり、a
*
値が1.1以上1.7以下であり、b
*
値が-11以上-9以下であり、
前記最表層に含まれる前記ダイヤモンドライクカーボンの粒径が、前記硬質層に含まれる前記ダイヤモンドライクカーボンの粒径よりも小さい
装飾部材。
続きを表示(約 100 文字)
【請求項2】
前記最表層は、厚さが0.05μm以上0.07μm以下である
請求項1に記載の装飾部材。
【請求項3】
請求項1または2に記載の装飾部材を含む
時計。
発明の詳細な説明
【技術分野】
【0001】
本発明は、装飾部材、時計および装飾部材の製造方法に関する。
続きを表示(約 1,700 文字)
【背景技術】
【0002】
特許文献1には、基材と、上記基材上に形成されたダイヤモンドライクカーボン(以下DLCと記載)からなる黒色硬質皮膜とを有する装飾品が記載されている。具体的には、上記黒色硬質皮膜は、DLCからなる傾斜層を含み、上記傾斜層中の水素含有量が上記基材から離れるにしたがって増加している。
【先行技術文献】
【特許文献】
【0003】
特開2018-53365号公報
【発明の概要】
【発明が解決しようとする課題】
【0004】
特許文献1の装飾品は、硬度および摩擦係数といった黒色硬質皮膜の性能に優れているが、黒色以外の外観色を表現できないという問題がある。
【0005】
そこで、本発明の目的は、優れた硬度および摩擦係数を有すると共に、青色の外観色を有する装飾部材を提供することにある。
【課題を解決するための手段】
【0006】
本発明の装飾部材は、基材上に、第1密着層、第2密着層、硬質層および最表層が、この順で積層された装飾部材であって、前記第1密着層は、TiおよびCrから選ばれる少なくとも1種の元素を含み、前記第2密着層は、SiおよびGeから選ばれる少なくとも1種の元素を含み、前記硬質層は、DLCを含み、厚さが0.4μm以上1.2μm以下であり、前記最表層は、DLCを含み、前記基材、前記第1密着層および前記第2密着層が、この順で積層された積層体上に形成した前記硬質層について、L
*
a
*
b
*
表色系(CIE 1976)におけるL
*
値が48以上49以下であり、a
*
値が0以上0.1以下であり、b
*
値が1.5以上1.7以下であり、前記装飾部材の最表にある前記最表層について、L
*
a
*
b
*
表色系(CIE 1976)におけるL
*
値が30以上31以下であり、a
*
値が1.1以上1.7以下であり、b
*
値が-11以上-9以下である。
【発明の効果】
【0007】
本発明の装飾部材は、優れた硬度および摩擦係数を有すると共に、青色の外観色を有する。
【図面の簡単な説明】
【0008】
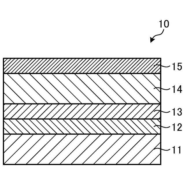
図1は、実施形態に係る装飾部材を説明するための図である。
図2は、参考例の装飾部材を説明するための図である。
図3は、参考例で得られた装飾部材の硬質層14について、SEM観察を行った結果を示す図である。
図4は、実施例で得られた装飾部材の最表層15について、SEM観察を行った結果を示す図である。
図5は、参考例で得られた装飾部材の硬質層14について測定したXPSスペクトルを示す図である。
図6は、実施例で得られた装飾部材の最表層15について測定したXPSスペクトルを示す図である。
【発明を実施するための形態】
【0009】
本発明を実施するための形態(実施形態)につき、詳細に説明する。以下の実施形態に記載した内容により本発明が限定されるものではない。また、以下に記載した構成要素には、当業者が容易に想定できるもの、実質的に同一のものが含まれる。さらに、以下に記載した構成は適宜組み合わせることが可能である。また、本発明の要旨を逸脱しない範囲で構成の種々の省略、置換または変更を行うことができる。
【0010】
<実施形態に係る装飾部材>
図1は、実施形態に係る装飾部材を説明するための図である。図1は、装飾部材10の断面図を模式的に表している。装飾部材10では、基材11上に、第1密着層12、第2密着層13、硬質層14および最表層15が、この順で積層されている。
(【0011】以降は省略されています)
この特許をJ-PlatPat(特許庁公式サイト)で参照する
関連特許
シチズン時計株式会社
電子時計
28日前
シチズン時計株式会社
機械式時計
1か月前
シチズン時計株式会社
光プローブ
1か月前
シチズン時計株式会社
装飾部材及び装飾部材の製造方法
20日前
シチズン時計株式会社
駆動装置、電子時計、駆動方法、及びプログラム
6日前
シチズン時計株式会社
機械式時計
6日前
シチズン時計株式会社
文字板および時計
20日前
シチズン時計株式会社
装飾部材および時計
6日前
個人
フッ素樹脂塗装鋼板の保管方法
2か月前
株式会社京都マテリアルズ
めっき部材
2日前
株式会社オプトラン
蒸着装置
5か月前
株式会社三愛工業所
アルミニウム材
4か月前
株式会社KSマテリアル
防錆組成物
2か月前
日本化学産業株式会社
複合めっき皮膜
1か月前
台灣晶技股ふん有限公司
無電解めっき法
28日前
東京エレクトロン株式会社
成膜方法
20日前
日東電工株式会社
積層体の製造方法
4か月前
JFEスチール株式会社
鋼部品
2か月前
住友重機械工業株式会社
成膜装置
3か月前
東京エレクトロン株式会社
基板処理装置
3か月前
東京エレクトロン株式会社
基板処理装置
5か月前
住友重機械工業株式会社
成膜装置
2か月前
信越半導体株式会社
真空蒸着方法
4か月前
株式会社内村
防食具、防食具の設置方法
22日前
DOWAサーモテック株式会社
浸炭方法
4か月前
東京エレクトロン株式会社
基板処理装置
5か月前
黒崎播磨株式会社
溶射装置
6日前
国立大学法人千葉大学
成膜装置及び成膜方法
26日前
フジタ技研株式会社
被覆部材、及び、表面被覆金型
今日
株式会社デンソー
接合体
12日前
ケニックス株式会社
蒸発源装置
1か月前
黒崎播磨株式会社
溶射用ランス
4か月前
川崎重工業株式会社
水素遮蔽膜
1か月前
株式会社アルバック
成膜装置、および搬送方法
1か月前
学校法人静岡理工科大学
放電被覆装置及び放電被覆方法
1か月前
株式会社神戸製鋼所
成膜方法
2か月前
続きを見る
他の特許を見る