TOP
|
特許
|
意匠
|
商標
特許ウォッチ
Twitter
他の特許を見る
10個以上の画像は省略されています。
公開番号
2025138515
公報種別
公開特許公報(A)
公開日
2025-09-25
出願番号
2024037653
出願日
2024-03-11
発明の名称
画像処理装置、放射線画像撮影システム及びプログラム
出願人
富士フイルム株式会社
代理人
弁理士法人太陽国際特許事務所
主分類
A61B
6/50 20240101AFI20250917BHJP(医学または獣医学;衛生学)
要約
【課題】従来の技術に比較して、乳房の放射線画像から、ノイズの影響を低減した状態で石灰化病変を検出することができる画像処理装置、放射線画像撮影システム、及びプログラムを得る。
【解決手段】画像処理装置4は、放射線により乳房を撮影して得られた放射線画像を取得する画像取得部30と、取得した放射線画像における輝度勾配の変化率における局所領域の各々毎のばらつきの度合いを示すばらつき度を用いて、輝度勾配の変化率を平準化する平準化部32と、平準化した輝度勾配の変化率に対して予め定められた閾値を用いた閾値処理を行うことにより、放射線画像における石灰化病変の位置を検出する石灰化検出部33と、を備える。
【選択図】図4
特許請求の範囲
【請求項1】
少なくとも1つのプロセッサを備え、
前記プロセッサは、
放射線により乳房を撮影して得られた放射線画像を取得し、
取得した前記放射線画像における輝度勾配の変化率における局所領域の各々毎のばらつきの度合いを示すばらつき度を用いて、前記輝度勾配の変化率を平準化し、
平準化した前記輝度勾配の変化率に対して予め定められた閾値を用いた閾値処理を行うことにより、前記放射線画像における石灰化病変の位置を検出する、
画像処理装置。
続きを表示(約 790 文字)
【請求項2】
前記プロセッサは、
前記石灰化病変の位置の検出結果を用いて、前記乳房の合成2次元画像を作成する、
請求項1に記載の画像処理装置。
【請求項3】
前記ばらつき度は、前記輝度勾配の変化率における局所領域の各々毎の標準偏差又は分散である、
請求項1又は請求項2に記載の画像処理装置。
【請求項4】
前記プロセッサは、
前記平準化を、前記ばらつき度の逆数を前記輝度勾配の変化率に乗算することにより行う、
請求項1又は請求項2に記載の画像処理装置。
【請求項5】
前記プロセッサは、
前記輝度勾配の変化率を、勾配集中フィルタを用いたフィルタリングにより導出する、
請求項1又は請求項2に記載の画像処理装置。
【請求項6】
前記プロセッサは、
前記勾配集中フィルタとして、重み付けが等方性を有するもの、及び重み付けが異方性を有するものの何れか一方を適用する、
請求項5に記載の画像処理装置。
【請求項7】
請求項1又は請求項2に記載の画像処理装置と、
前記画像処理装置によって用いられる放射線画像を撮影する放射線画像撮影装置と、
を含む放射線画像撮影システム。
【請求項8】
放射線により乳房を撮影して得られた放射線画像を取得し、
取得した前記放射線画像における輝度勾配の変化率における局所領域の各々毎のばらつきの度合いを示すばらつき度を用いて、前記輝度勾配の変化率を平準化し、
平準化した前記輝度勾配の変化率に対して予め定められた閾値を用いた閾値処理を行うことにより、前記放射線画像における石灰化病変の位置を検出する、
処理をコンピュータに実行させるプログラム。
発明の詳細な説明
【技術分野】
【0001】
本開示は、画像処理装置、放射線画像撮影システム及びプログラムに関する。
続きを表示(約 1,600 文字)
【背景技術】
【0002】
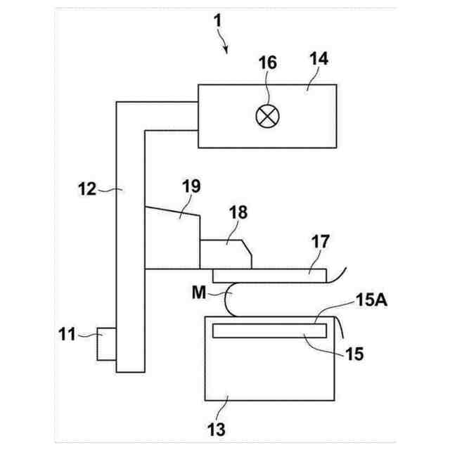
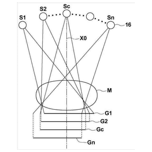
近年、乳がんの早期発見を促すため、乳房を撮影する放射線画像撮影装置(マンモグラフィと呼ばれる)を用いた画像診断が注目されている。また、マンモグラフィにおいて、放射線源を移動させて複数の線源位置から乳房に放射線を照射して撮影を行い、これにより取得した複数の投影画像を再構成して所望の断層面を強調した断層画像を生成するトモシンセシス撮影が提案されている。トモシンセシス撮影では、撮影装置の特性及び必要な断層画像に応じて、放射線源を放射線検出器と平行に移動させたり、円又は楕円の弧を描くように移動させたりして、複数の線源位置において乳房を撮影することにより複数の投影画像を取得し、単純逆投影法若しくはフィルタ逆投影法等の逆投影法、又は逐次再構成法等を用いてこれらの投影画像を再構成して断層画像を生成する。
【0003】
このような断層画像を乳房における複数の断層面において生成することにより、乳房内において断層面が並ぶ深さ方向に重なり合った構造を分離することができる。このため、予め定められた方向から被写体に放射線を照射する、従来の単純撮影により取得される2次元画像(以下、単純2次元画像とする)においては検出が困難であった病変等の異常部位を発見することが可能となる。
【0004】
以上のような断層画像を利用した技術として、特許文献1には、トモシンセシス撮影により取得された、放射線検出器の検出面から放射線源側に向けた距離(高さ方向の位置)が異なる複数の断層画像を、加算法、平均法、最大値投影法又は最小値投影法等によって合成することにより、単純2次元画像に相当する擬似的な2次元画像(以下、合成2次元画像とする)を生成する技術が開示されている。
【0005】
ところで、以上のような合成2次元画像等の乳房の放射線画像においては、サイズの大きな石灰化の病変(以下、「石灰化病変」ともいう。)については検出することが容易であるが、サイズが比較的小さな石灰化病変については、ノイズの影響が大きく作用するため、検出することが著しく困難である。
【0006】
この問題を解決するために適用することのできる技術として、特許文献2には、真陽性の異常陰影であるかどうか疑わしい異常陰影候補及び/又は視認性の低い異常陰影候補の検出情報のみを提供し、医師の見落とし防止、読影作業の効率化を図ることを目的とした異常陰影候補の表示方法が開示されている。
【0007】
この表示方法は、医用画像を画像解析して異常陰影候補を検出する検出工程と、前記検出された異常陰影候補のうち、表示すべき異常陰影候補を抽出する抽出工程と、前記抽出された異常陰影候補の検出情報を表示する表示工程と、を含むことを特徴とする。
【0008】
また、特許文献3には、類似症例を安定的に提供することを目的とした画像表示装置が開示されている。
【0009】
この画像表示装置は、表示手段と、乳房画像に、当該乳房画像のうち医師により指定された指定領域において検出された病変候補の特徴量を対応付けて記憶する記憶手段と、診断対象の乳房画像のうちユーザにより指定された指定領域において病変候補を検出するとともに、当該病変候補の特徴量を算出する候補検出手段と、前記算出された特徴量と類似する特徴量に対応する乳房画像を前記記憶手段から取得し、類似症例として前記表示手段に表示させる制御手段と、を備える。
【先行技術文献】
【特許文献】
【0010】
特開2014-128716号公報
特開2006-325640号公報
特開2010-000130号公報
【発明の概要】
【発明が解決しようとする課題】
(【0011】以降は省略されています)
この特許をJ-PlatPat(特許庁公式サイト)で参照する
関連特許
富士フイルム株式会社
塗布装置
9日前
富士フイルム株式会社
超音波プローブ
5日前
富士フイルム株式会社
超音波プローブ
5日前
富士フイルム株式会社
超音波プローブ
5日前
富士フイルム株式会社
内視鏡の補助装置
5日前
富士フイルム株式会社
内視鏡補助具の操作装置
9日前
富士フイルム株式会社
混合物、組成物、及び化合物
9日前
富士フイルム株式会社
フタロシアニン化合物の製造方法
9日前
富士フイルム株式会社
感光性転写材料及びその製造方法
9日前
富士フイルム株式会社
ウェブ切換装置及びウェブ切換方法
9日前
富士フイルム株式会社
医療支援装置、方法およびプログラム
9日前
富士フイルム株式会社
センサユニット、及び医用画像撮像装置
5日前
富士フイルム株式会社
情報処理装置、情報処理方法、及びプログラム
9日前
富士フイルム株式会社
放射線撮影装置、及び放射線撮影装置の制御方法
5日前
富士フイルム株式会社
画像表示装置、画像表示方法、及び画像表示プログラム
9日前
富士フイルム株式会社
機上現像型平版印刷版原版、及び印刷版の作製方法
2日前
富士フイルム株式会社
情報処理装置、情報処理方法及び情報処理プログラム
2日前
富士フイルム株式会社
不溶性担体を含む免疫学的測定試薬の製造方法、保存方法、測定対象物質の測定方法、および免疫学的測定試薬
9日前
富士フイルム株式会社
セクレトーム含有組成物の生成、並びにその使用及び分析方法
4日前
富士フイルム株式会社
情報処理装置、情報処理装置の作動方法、情報処理装置の作動プログラム、及び情報管理システム
4日前
富士フイルム株式会社
ポリイミド前駆体又はポリアミドイミド前駆体の製造方法、硬化性樹脂組成物の製造方法、硬化性樹脂組成物、及びポリイミド前駆体又はポリアミドイミド前駆体
9日前
個人
短下肢装具
2か月前
個人
白内障治療法
7か月前
個人
嚥下鍛錬装置
3か月前
個人
洗井間専家。
6か月前
個人
排尿補助器具
5日前
個人
脈波測定方法
8か月前
個人
前腕誘導装置
3か月前
個人
アイマスク装置
1か月前
個人
矯正椅子
4か月前
個人
胸骨圧迫補助具
1か月前
個人
バッグ式オムツ
4か月前
個人
汚れ防止シート
20日前
個人
ホバーアイロン
6か月前
個人
歯の修復用材料
3か月前
個人
ウォート指圧法
3日前
続きを見る
他の特許を見る