TOP
|
特許
|
意匠
|
商標
特許ウォッチ
Twitter
他の特許を見る
10個以上の画像は省略されています。
公開番号
2025137192
公報種別
公開特許公報(A)
公開日
2025-09-19
出願番号
2024036254
出願日
2024-03-08
発明の名称
クランプ装置、電子機器組立体、及び自転車
出願人
ヤマハ発動機株式会社
代理人
弁理士法人はるか国際特許事務所
主分類
B62J
11/00 20200101AFI20250911BHJP(鉄道以外の路面車両)
要約
【課題】ハンドルバーに取り付けられる電子機器の位置調整を可能とし、また位置調整のための作業を容易化できるクランプ装置を提供する。
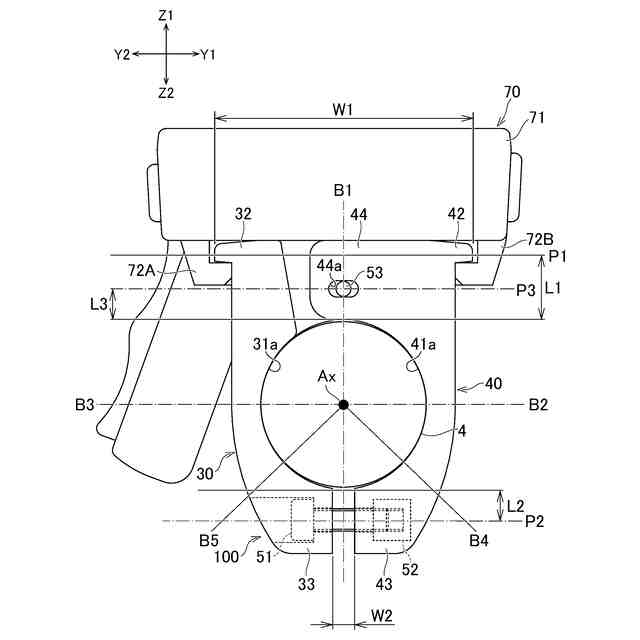
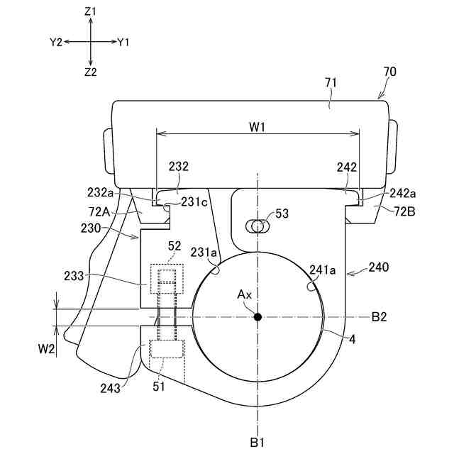
【解決手段】ハンドルバー4の周方向における第1調整部33と第2調整部43との間の距離を固定する締結手段とを有している。第1係合部32と第2係合部42は、ハンドルバー4の外周面の接線方向において第1被係合部72Aと第2被係合部72Bとの間に位置している。締結手段は、第1調整部33と第2調整部43との間の距離W2の調整を許容するように構成されている。第1調整部33と第2調整部43との距離W2の縮小に起因して、第1係合部32と第2係合部42との距離W1が拡大する。
【選択図】図4
特許請求の範囲
【請求項1】
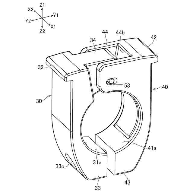
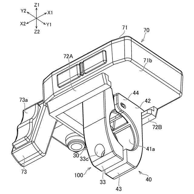
第1被係合部と第2被係合部とを有している電子機器を、ハンドルバーに取り付けるためのクランプ装置であって、
前記ハンドルバーの外周面の一部に沿う第1内周面と、前記ハンドルバーの長さ方向における前記第1被係合部の移動を許容するように前記第1被係合部に係合可能な第1係合部と、第1調整部とを有している第1クランプ部材と、
前記ハンドルバーの外周面の別の一部に沿う第2内周面と、前記ハンドルバーの長さ方向における前記第2被係合部の移動を許容するように前記第2被係合部に係合可能な第2係合部と、第2調整部とを有している第2クランプ部材と、
前記ハンドルバーの周方向における前記第1調整部と前記第2調整部との間の距離を固定する締結手段と
を有し、
前記第1係合部と前記第2係合部は、前記前記ハンドルバーの外周面の接線方向において前記第1被係合部と前記第2被係合部との間に位置し、
前記締結手段は、前記第1調整部と前記第2調整部との間の前記距離の調整を許容するように構成され、
前記第1調整部と前記第2調整部との距離の縮小に起因して、前記第1係合部と前記第2係合部との距離が拡大する
クランプ装置。
続きを表示(約 1,400 文字)
【請求項2】
連結軸部をさらに有し、
前記第1クランプ部材と前記第2クランプ部材は、前記ハンドルバーの外周面の接線方向において前記第1係合部と前記第2係合部との間に位置する第1被連結部と第2被連結部とをそれぞれ有し、
前記連結軸部は、前記第1係合部と前記第2係合部との間の距離の拡大及び縮小を許容するように前記第1被連結部と前記第2被連結部とを連結している
請求項1に記載されるクランプ装置。
【請求項3】
前記連結軸部は、前記第1被連結部から前記ハンドルバーの長さ方向に突出し、
前記第2被連結部に前記連結軸部が嵌められる連結孔が形成され、
前記連結孔は、前記ハンドルバーの外周面の前記接線方向において前記連結軸部よりも大きい
請求項2に記載されるクランプ装置。
【請求項4】
前記連結軸部と前記ハンドルバーの外周面との距離は、前記ハンドルバーの外周面の接線に沿っており且つ前記第1係合部と前記第2係合部とを通過する平面と、前記ハンドルバーの外周面との距離よりも小さい
請求項3に記載されるクランプ装置。
【請求項5】
前記第1調整部と、前記第1内周面と前記ハンドルバーの外周面との接触面、及び前記第1係合部は、力点、支点、及び作用点としてそれぞれ機能し、
前記第2調整部と、前記第2内周面と前記ハンドルバーの外周面との接触面、及び前記第2係合部は、力点、支点、及び作用点としてそれぞれ機能する
請求項1に記載されるクランプ装置。
【請求項6】
前記ハンドルバーの前記外周面の接線に沿っており且つ前記第1係合部と前記第2係合部とを通過する平面までの、前記ハンドルバーの外周面からの距離は、前記ハンドルバーの前記外周面の接線に沿っており且つ前記第1調整部と前記第2調整部とを通過する平面までの、前記ハンドルバーの外周面からの距離よりも大きい
請求項1に記載されるクランプ装置。
【請求項7】
前記ハンドルバーの前記外周面の接線に沿っており且つ前記第1係合部と前記第2係合部とを通過する方向における前記第1係合部と前記第2係合部との距離は、前記ハンドルバーの前記外周面の接線に沿っており且つ前記第1調整部と前記第2調整部とを通過する方向における前記第1調整部と前記第2調整部との距離よりも大きい
請求項1に記載されるクランプ装置。
【請求項8】
前記第1係合部と前記第2係合部との中間位置の角度位置を前記ハンドルバーの周方向において0度としたとき、前記第1調整部と第2調整部の少なくとも一方は90度から270度の範囲に位置している
請求項1に記載されるクランプ装置。
【請求項9】
前記第1係合部と前記第2係合部との中間位置の角度位置を前記ハンドルバーの周方向において0度としたとき、前記第1調整部と第2調整部との中間位置は、135度から225度の範囲に位置している
請求項1に記載されるクランプ装置。
【請求項10】
前記ハンドルバーの外周面の接線に沿っており且つ前記第1係合部と前記第2係合部とを通過する平面と、前記第1調整部と前記第2調整部とが向き合う方向は、実質的に平行である
請求項1に記載されるクランプ装置。
(【請求項11】以降は省略されています)
発明の詳細な説明
【技術分野】
【0001】
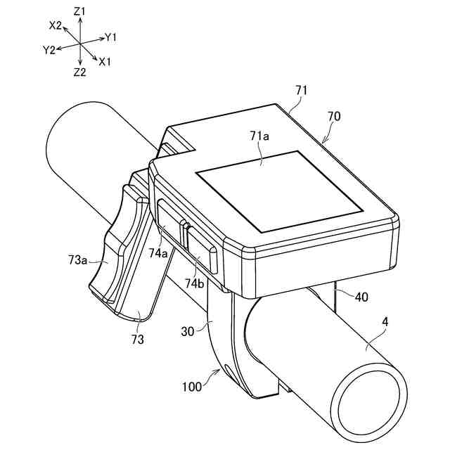
本開示は、クランプ装置、電子機器組立体、及び自転車に関する。
続きを表示(約 1,900 文字)
【背景技術】
【0002】
自転車のハンドルバーに、車速や、走行距離、時刻などを表示する電子機器が取り付けられる場合がある。特許文献1では、ハンドルバーに取り付けられているクランプ装置(特許文献1において、部品の取付装置)に対して、このような電子機器が脱着可能となっている。また、特許文献2で示されるように、電動アシスト自転車のハンドルバーに取り付けられる電子機器は、アシストモードや、バッテリ残量などを表示したり、アシストモードを切り換えるためのスイッチ(ボタン)を有する場合がある。
【先行技術文献】
【特許文献】
【0003】
登録実用新案第2544082号公報
特開2015-85919号
【発明の概要】
【発明が解決しようとする課題】
【0004】
自転車のハンドルバーには、車速等を表示する上述した電子機器の他にも、種々の部品・装置が取り付けられる場合がある。例えば、携帯電話を支持するためのクランプ装置や、灯火器などが、ハンドルバーに取り付けられる場合がある。そのため、クランプ装置の位置の自由度が制限され、最適な位置に電子機器を取り付けることができない場合がある。例えば、グリップから遠い位置にボタンが位置してしまう場合がある。
【0005】
本開示の目的は、電子機器の位置の調整を可能とし、また位置調整 のための作業を容易化できるクランプ装置を提供することにある。
【課題を解決するための手段】
【0006】
(1)本開示で提案するクランプ装置は、第1被係合部と第2被係合部とを有している電子機器を、ハンドルバーに取り付けるためのクランプ装置である。前記クランプ装置は、前記ハンドルバーの外周面の一部に沿う第1内周面と、前記ハンドルバーの長さ方向における前記第1被係合部の移動を許容するように前記第1被係合部に係合可能な第1係合部と、第1調整部とを有している第1クランプ部材と、前記ハンドルバーの外周面の別の一部に沿う第2内周面と、前記ハンドルバーの長さ方向における前記第2被係合部の移動を許容するように前記第2被係合部に係合可能な第2係合部と、第2調整部とを有している第2クランプ部材と、前記ハンドルバーの周方向における前記第1調整部と前記第2調整部との間の距離を固定する締結手段とを有している。前記第1係合部と前記第2係合部は、前記前記ハンドルバーの外周面の接線方向において前記第1被係合部と前記第2被係合部との間に位置している。前記締結手段は、前記第1調整部と前記第2調整部との間の前記距離の調整を許容するように構成されている。前記第1調整部と前記第2調整部との距離の縮小に起因して、前記第1係合部と前記第2係合部との距離が拡大する。
【0007】
このクランプ装置によると、締結手段を操作することによって、クランプ装置とハンドルバーとの相対位置、及びクランプ装置と電子機器との相対位置の双方を調整したり、固定したりできる。そのため、それらの位置調整のための作業を容易化できる。
【0008】
(2)(1)のクランプ装置は、連結軸部をさらに有してよい。前記第1クランプ部材と前記第2クランプ部材は、前記ハンドルバーの外周面の接線方向において前記第1係合部と前記第2係合部との間に位置する第1被連結部と第2被連結部とをそれぞれ有している。前記連結軸部は、前記第1係合部と前記第2係合部との間の距離の拡大及び縮小を許容するように前記第1被連結部と前記第2被連結部とを連結している。この構造によると、2つのクランプ部材の分離を防止できる。その結果、クランプ装置の取り扱いが容易となる。
【0009】
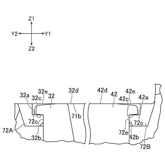
(3)(2)のクランプ装置において、前記連結軸部は、前記第1被連結部から前記ハンドルバーの長さ方向に突出している。前記第2被連結部に前記連結軸部が嵌められる連結孔が形成されてよい。前記連結孔は、前記ハンドルバーの外周面の前記接線方向において前記連結軸部よりも大きくてよい。
【0010】
(4)(3)のクランプ装置において、前記連結軸部と前記ハンドルバーの外周面との距離は、前記ハンドルバーの外周面の接線に沿っており且つ前記第1係合部と前記第2係合部とを通過する平面と、前記ハンドルバーの外周面との距離よりも小さくてよい。連結軸部のこの配置によると、前記ハンドルバーの外周面の接線方向での連結孔のサイズを小さくできる。その結果、第2クランプ部材の強度低下を抑えることができる。
(【0011】以降は省略されています)
この特許をJ-PlatPat(特許庁公式サイト)で参照する
関連特許
ヤマハ発動機株式会社
リーン車両
5日前
ヤマハ発動機株式会社
船舶推進機
6日前
ヤマハ発動機株式会社
船舶推進機
6日前
ヤマハ発動機株式会社
船舶推進機
6日前
ヤマハ発動機株式会社
船舶推進機
6日前
ヤマハ発動機株式会社
船舶推進機
6日前
ヤマハ発動機株式会社
鞍乗型車両
11日前
ヤマハ発動機株式会社
電池パック及び電池パックの製造方法
26日前
三井化学株式会社
ドローン用ブレード
19日前
ヤマハ発動機株式会社
無段変速機、及び無段変速機を備える鞍乗型車両
11日前
ヤマハ発動機株式会社
無段変速機、及び無段変速機を備える鞍乗型車両
11日前
ヤマハ発動機株式会社
無段変速機、及び、無段変速機を有する鞍乗型車両
11日前
ヤマハ発動機株式会社
無段変速機、及び、無段変速機を有する鞍乗型車両
11日前
ヤマハ発動機株式会社
エンジンユニット、及びエンジンユニットを備える鞍乗型車両
11日前
ヤマハ発動機株式会社
バッテリ制御システム、バッテリパック、小型電動車両、バッテリ制御方法およびコンピュータプログラム
19日前
ヤマハ発動機株式会社
支持部材配置決定装置、支持部材配置決定方法、支持部材配置決定プログラムおよび記録媒体
22日前
個人
カート
3か月前
個人
走行装置
4か月前
個人
三輪バイク
5日前
個人
電動走行車両
4か月前
個人
乗り物
5か月前
個人
発音装置
7か月前
個人
駐輪設備
1か月前
個人
閂式ハンドル錠
4か月前
個人
自転車用歩数計
13日前
個人
折り畳み自転車
10か月前
個人
電動モビリティ
7か月前
個人
ボギー・フレーム
2か月前
個人
自転車用傘捕捉具
12か月前
個人
ルーフ付きトライク
2か月前
個人
“zen-go.”
3か月前
個人
自由方向乗車自転車
7か月前
個人
体重掛けリフト台車
11か月前
個人
ルーフ付きトライク
3か月前
個人
三輪電動車両
13日前
個人
アタッチメント
12か月前
続きを見る
他の特許を見る