TOP
|
特許
|
意匠
|
商標
特許ウォッチ
Twitter
他の特許を見る
10個以上の画像は省略されています。
公開番号
2025137155
公報種別
公開特許公報(A)
公開日
2025-09-19
出願番号
2024036201
出願日
2024-03-08
発明の名称
酸性電解銅めっき液
出願人
三菱マテリアル株式会社
代理人
個人
,
個人
,
個人
,
個人
主分類
C25D
3/38 20060101AFI20250911BHJP(電気分解または電気泳動方法;そのための装置)
要約
【課題】空孔度が高く、かつ、結晶粒径が小さい多孔質銅層をめっき法によって安定して形成することが可能な酸性電解銅めっき液を提供する。
【解決手段】可溶性銅塩と、アゾール系化合物と、カルボン酸と、水と、酸と、を含み、前記アゾール系化合物の含有量が5mmol/L以上100mmol/L以下の範囲内、前記カルボン酸の含有量が5mg/L以上500mg/L以下の範囲内とすることを特徴とする。前記アゾール系化合物が、五員環中に2個以上3個以下の窒素原子を有するものであることが好ましい。
【選択図】なし
特許請求の範囲
【請求項1】
可溶性銅塩と、アゾール系化合物と、カルボン酸と、水と、酸と、を含み、
前記アゾール系化合物の含有量が5mmol/L以上100mmol/L以下の範囲内、前記カルボン酸の含有量が5mg/L以上500mg/L以下の範囲内とすることを特徴とする酸性電解銅めっき液。
続きを表示(約 480 文字)
【請求項2】
前記アゾール系化合物が、五員環中に2個以上3個以下の窒素原子を有する下記の式(1)~式(4)に示されるものであることを特徴とする請求項1に記載の酸性電解銅めっき液。
TIFF
2025137155000008.tif
143
170
上記式(1)~式(4)中、R1~R4は、同一又は互いに異なってもよく、炭素数10以下のアルキル基、炭素数10以下のアルケニル基、炭素数10以下のアルキニル基、炭素数10以下のアリール基、炭素数10以下のアラルキル基、炭素数10以下のアルコキシ基のいずれかであるか、又は、これらの水素原子をハロゲン原子、水酸基、カルボキシル基、アミノ基、炭素数5以下のアルキル置換アミノ基、アルキル鎖の炭素数5以下のヒドロキシアルキル置換アミノ基、メルカプト基のいずれかに置換した基であるか、又は、アミノ基、炭素数5以下のアルキル置換アミノ基、アルキル鎖の炭素数5以下のヒドロキシアルキル置換アミノ基、メルカプト基、水酸基、カルボキシル基、ハロゲン原子、又は、水素原子のいずれかである。
発明の詳細な説明
【技術分野】
【0001】
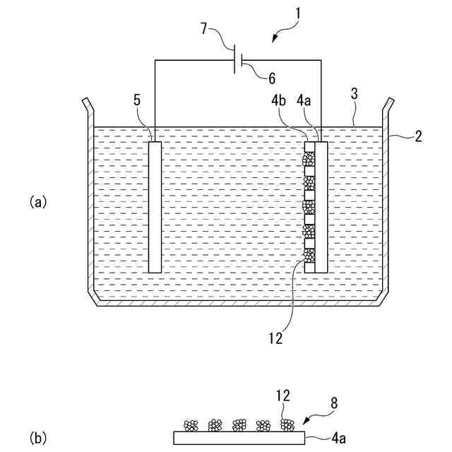
本発明は、部材の表面に多孔質の銅層を形成する際に用いられる酸性電解銅めっき液に関するものである。
続きを表示(約 2,400 文字)
【背景技術】
【0002】
近年、半導体デバイスの性能は、高性能化が進んでおり、マイクロ接合技術の重要性が増している。
ICチップの実装技術として、フリップチップ実装が広く用いられており、例えば特許文献1に示すように、突起電極上にはんだ層を形成し、はんだによって接合する方法が提供されている。
また、例えば、特許文献1,2に示すように、固相と液相とを相互に拡散させて接合させるTLP法(Transient Liquid Phase Diffusion Bonding)、SLID法(Solid-Liquid Interdiffusion)といった接合技術が提案されている。
【0003】
さらなる微細ピッチへの次世代実装技術として、銅部材同士を固相拡散接合する技術が提案されている。ここで、複数のCuピラーが立設された基板同士を接合する場合には、接合させるCuピラー同士の距離を精密に合わせる必要があり、CMP等で加工する必要があった。
また、例えば、特許文献3に示すように、Cuピラーの接合面に多孔質の銅層(プリフォーム層)を形成し、Cuピラー同士を固相拡散接合する技術が提案されている。接合時に加圧した際に、多孔質銅層(プリフォーム層)がクッションのように機能することで、Cuピラーの高さにばらつきが生じている場合であっても、接合するCuピラー同士を接触させて接合することが可能となる。
【先行技術文献】
【特許文献】
【0004】
特許第6061276号公報
特許第6369620号公報
特開2018-046148号公報
【発明の概要】
【発明が解決しようとする課題】
【0005】
ところで、Cuピラー同士を接合する際に、Cuピラーの高さばらつきが大きくても確実Cuピラー同士を接触させるためには、多孔質銅層における空孔度をさらに大きくすることが求められている。
また、接合後の接合強度を確保するために、多孔質銅層においては、結晶粒径が微細であることが求められている。
【0006】
この発明は、前述した事情に鑑みてなされたものであって、空孔度が高く、かつ、結晶粒径が小さい多孔質銅層をめっき法によって安定して形成することが可能な酸性電解銅めっき液を提供することを目的としている。
【課題を解決するための手段】
【0007】
上記課題を解決するために、本発明の態様1の酸性電解銅めっき液は、可溶性銅塩と、アゾール系化合物と、カルボン酸と、水と、酸と、を含み、前記アゾール系化合物の含有量が5mmol/L以上100mmol/L以下の範囲内、前記カルボン酸の含有量が5mg/L以上500mg/L以下の範囲内とすることを特徴としている。
【0008】
本発明の態様1の酸性電解銅めっき液によれば、アゾール系化合物を5mmol/L以上100mmol/L以下の範囲内で含有しているので、電解めっきした際に、カソード面に銅イオンとともにアゾール系化合物が吸着することになり、これにより銅の電析が強く抑制されて銅の核生成が優先され、カソード面に銅粒子からなる多孔質銅層が形成されることになる。
そして、本発明の態様1の酸性電解銅めっき液においては、カルボン酸を5mg/L以上500mg/L以下の範囲内で含有しているので、Cuイオンとカルボン酸とが錯体を形成し、銅の電析がさらに抑制され、多孔質銅層の空孔度を高くすることができる。さらに、析出する銅粒子の成長が抑制され、結晶粒径が小さい多孔質銅層を形成することが可能となる。
よって、例えば、Cuピラーの高さにばらつきが生じている場合であっても、接合するCuピラー同士を接触させて強固に接合することが可能となる。
【0009】
本発明の態様2の酸性電解銅めっき液は、態様1の酸性電解銅めっき液において、前記アゾール系化合物が、五員環中に2個以上3個以下の窒素原子を有する下記の式(1)~式(4)に示されるものであることを特徴としている。
TIFF
2025137155000001.tif
143
170
上記式(1)~式(4)中、R1~R4は、同一又は互いに異なってもよく、炭素数10以下のアルキル基、炭素数10以下のアルケニル基、炭素数10以下のアルキニル基、炭素数10以下のアリール基、炭素数10以下のアラルキル基、炭素数10以下のアルコキシ基のいずれかであるか、又は、これらの水素原子をハロゲン原子、水酸基、カルボキシル基、アミノ基、炭素数5以下のアルキル置換アミノ基、アルキル鎖の炭素数5以下のヒドロキシアルキル置換アミノ基、メルカプト基のいずれかに置換した基であるか、又は、アミノ基、炭素数5以下のアルキル置換アミノ基、アルキル鎖の炭素数5以下のヒドロキシアルキル置換アミノ基、メルカプト基、水酸基、カルボキシル基、ハロゲン原子、又は、水素原子のいずれかである。
【0010】
本発明の態様2の酸性電解銅めっき液によれば、アゾール系化合物として、上述の式(1)~(4)に示す構造のものを含有しているので、確実に銅の電析を抑制することができ、カソード面に銅粒子からなる多孔質銅層を形成することができる。また、カルボン酸を5mg/L以上500mg/L以下の範囲内で含有しているので、空孔度が高く平均粒径が小さい多孔質銅層を確実に形成することができる。
よって、例えば、Cuピラーの高さにばらつきが生じている場合であっても、接合するCuピラー同士を接触させてさらに強固に接合することが可能となる。
【発明の効果】
(【0011】以降は省略されています)
この特許をJ-PlatPat(特許庁公式サイト)で参照する
関連特許
株式会社堤水素研究所
水電解装置
1日前
株式会社ケミカル山本
電解研磨装置用電極
1日前
株式会社カネカ
可撓性ガス拡散電極
1か月前
本田技研工業株式会社
差圧式電解装置
15日前
本田技研工業株式会社
水電解スタック
1か月前
一般財団法人電力中央研究所
電解反応装置
1か月前
株式会社荏原製作所
蒸気発電プラント
28日前
SECカーボン株式会社
カソードアセンブリ
1か月前
本田技研工業株式会社
CO2電解装置
1か月前
メルテックス株式会社
極薄電解銅箔及びその製造方法
21日前
古河電気工業株式会社
端子
29日前
旭化成株式会社
電解装置の運転方法
17日前
三菱マテリアル株式会社
皮膜付端子材及びその製造方法
29日前
株式会社豊田中央研究所
電極
1か月前
株式会社デンソー
電解装置
2日前
本田技研工業株式会社
膜電極構造体の製造方法
29日前
大阪瓦斯株式会社
共電解メタネーション装置
14日前
大阪瓦斯株式会社
共電解メタネーション装置
14日前
三菱重工業株式会社
皮膜形成装置
28日前
株式会社フジタ
水電解装置
1日前
本田技研工業株式会社
電気化学式水素昇圧システム
24日前
本田技研工業株式会社
電気化学式水素昇圧システム
1か月前
JX金属株式会社
電着金属の搬送システム及び搬送方法
14日前
株式会社アイシン
電解システム
1か月前
株式会社アイシン
電解システム
29日前
三菱マテリアル株式会社
めっき皮膜付銅端子材及びその製造方法
1か月前
日本特殊陶業株式会社
ホットモジュール
29日前
日本特殊陶業株式会社
ホットモジュール
29日前
株式会社デンソー
セル制御システム
28日前
日本碍子株式会社
電気化学セル
1日前
株式会社ホクトウ
バレルメッキ装置用リード線のリサイクル方法
2日前
日本特殊陶業株式会社
固体酸化物形電解セルおよびその利用
29日前
日本特殊陶業株式会社
固体酸化物形電解セルおよびその利用
29日前
ノリタケ株式会社
燃料極の評価方法および電気化学セルの製造方法
28日前
日本特殊陶業株式会社
固体酸化物形電解セルおよびその利用
29日前
日本特殊陶業株式会社
固体酸化物形電解セルおよびその利用
29日前
続きを見る
他の特許を見る