TOP
|
特許
|
意匠
|
商標
特許ウォッチ
Twitter
他の特許を見る
10個以上の画像は省略されています。
公開番号
2025136959
公報種別
公開特許公報(A)
公開日
2025-09-19
出願番号
2024035902
出願日
2024-03-08
発明の名称
マイクロ光共振器、及び光周波数コム発生装置
出願人
国立大学法人徳島大学
代理人
主分類
G02F
1/365 20060101AFI20250911BHJP(光学)
要約
【課題】光周波数コムを起動において、共振器の熱変形による共振波長および屈折率変化するため、励起光の波長を精度よくソリトン化する領域に移動させることが難しいという問題を有していた。また、励起光を共振器のソリトン化領域に掃引する機能は、励起光の波長を変化させる必要があり小型化・コスト面で大きな課題であった。さらに、ソリトン光コムの連続生成が外部温度変化で不安定化をもたらしていた。
【解決手段】励起光の波長掃引を行わず励起光を直線導波路に導き、直径がわずかに異なる複数の第1~第n番目のリング導波路を設ける。この複数の第1~第n番目のリング導波路内に、熱変形アクチュエーターがそれぞれ設けられ、熱変形アクチュエーターがヒーターで順次に加熱し冷却しソリトン光コムの立ち上げを行う。また、マイクロ光共振器は、熱伝導率の高い材質で、かつ外部空間に対する熱伝達率が低い構造の基板上に設けられる。
【選択図】図4
特許請求の範囲
【請求項1】
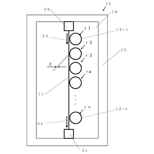
レーザー光源光源装置から照射される所定の周波数を有する励起光の入力を受け付ける入力部と、熱伝導率性の高い材料からなり、かつ外部空間への熱伝達特性が小さい基板と、3次非線形光学効果を有する材質により構成され、直径がわずかに異なる第1~第n番目のリング導波路と、前記入力部からの前記励起光を入力し、前記第1~第n番目リング導波路と光学的にそれぞれ結合する位置に設けられ、少なくとも前記励起光の一部を前記第1~第n番目のリング導波路のうちの特定のリング導波路に前記励起光のエヴァネッセント光を入力し、前記リング導波路から互いに等しい周波数間隔である複数の櫛状のスペクトラムを有する光周波数コムを取り出す直線導波路と、前記直線導波路および前記複数のリング導波路の周りを囲み、前記直線導波路および第1~第n番目の導波路の屈折率より低い屈折率で前記基板上に形成されたクラッドと、前記第1~第n番目のリング導波路の内側に配置され、前記基板上に形成された前記リング導波路の中心と同軸に設けられた第1~第n番目の円筒状の熱変形アクチュエーターと、前記第1~第n番目の熱変形アクチュエーターを加熱する第1~第n番目のヒーターと、前記第1~第n番目の熱変形アクチュエーターの温度を検出する第1~第n番目の温度センサーと、を有するマイクロ光共振器。
続きを表示(約 820 文字)
【請求項2】
内部に複数の真空空洞を有する前記基板を有する請求項1記載のマイクロ光共振器。
【請求項3】
前記基板内に設けられた複数の真空空洞の上下面を支える枠部が、前記基板より熱伝導率が小さい材質で構成されたことを特徴とする請求項2記載のマイクロ光共振器。
【請求項4】
レーザー光源光源装置から照射される所定の周波数を有する励起光の入力を受け付ける入力部と、熱伝導率性の高い材料で、内部に真空空洞を有する基板と、3次非線形光学効果を有する材質により構成され、直径がわずかに異なる第1~第n番目のリング導波路と、前記入力部からの前記励起光を入力し、前記第1~第n番目リング導波路と光学的にそれぞれ結合する位置に設けられ、少なくとも前記励起光の一部を前記第1~第n番目のリング導波路のうちの特定のリング導波路に前記励起光のエヴァネッセント光を入力し、前記直線導波路から互いに等しい周波数間隔である複数の櫛状のスペクトラムを有する光周波数コムを取り出す直線導波路と、前記直線導波路および前記複数のリング導波路の周りを囲み、前記直線導波路および第1~第n番目のリング導波路の屈折率より低い屈折率で前記基板上に形成されたクラッドと、前記第1~第n番目のリング導波路の内側に配置され、前記基板上に形成された前記リング導波路の中心と同軸に設けられた第1~第n番目の円筒状の熱変形アクチュエーターと、前記第1~第n番目の熱変形アクチュエーターの温度を制御する第1~第n番目の温度制御装置と、を有する光周波数コム発生装置。
【請求項5】
内部に複数の真空空洞を有する前記基板を有する請求項4記載の光周波数コム発生装置。
【請求項6】
前記基板内に設けられた複数の真空空洞の上下面を支える枠部が、前記基板より熱伝導率が小さい材質で構成されたことを特徴とする請求項5記載の光周波数コム発生装置。
発明の詳細な説明
【技術分野】
【0001】
本発明は、光周波数コムの周波数制御装置及び方法に関し、特に、ソリトン光コムの起動を確実に行い、かつ連続してソリトン光コムを生成し維持するための光周波数コムの周波数制御装置及び方法に関する。
続きを表示(約 2,400 文字)
【背景技術】
【0002】
光周波数コムは、周波数軸上に等間隔に並んだ成分(モード)からなる櫛(コム)形のスペクトラムを持つ光信号である。光周波数コムを起動するには、キャビティ内を異常分散状態にするだけでは不十分であり、特殊な手順を踏む必要がある。この手法は2014年に、周回型光導波路へ導入する連続波(CW)レーザー光源の波長を、その共振周波数付近で連続的に掃引する手法が発見され、この方法を基本とする手法が多く研究されている。しかし上記の手法による起動では、周回型光導波路における二つの要因による共振周波数のシフト、具体的にはカー非線形効果による光学的なシフトと、温度上昇による材料そのものの屈折率の変化及び熱膨張に起因する熱的なシフトの両方を考慮しなければならず、非常に複雑である。
【0003】
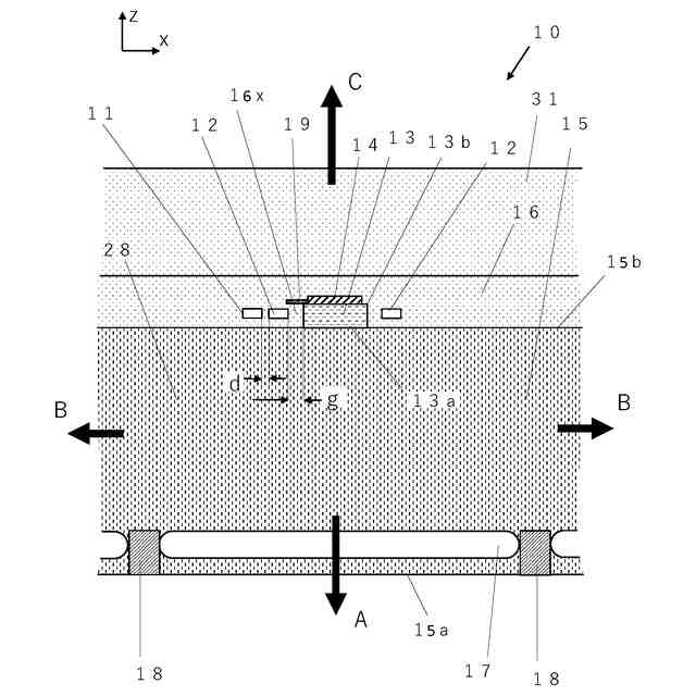
以下に従来の光周波数コム発生装置について説明する。
そのマイクロ光共振器を図18に示す。図18(a)は導波路の平面図であり、図18(b)は、x軸の断面図を表している。33aは基板32上に成膜された二酸化ケイ素(SiO2)で形成された第1のクラッド層である。この第1のクラッド層33aの一部をエッチング除去して周回型光共振器である共振器35および導波路34が埋め込まれている、その上に第2のクラッド層33bが形成される。共振器35はリング状であり、導波路34は直線で構成される。共振器35と導波路34は僅かな隙間dを介して配置されている。なお、隙間dのz方向側面は、ドライエッチングで加工された面によって形成されている。また、共振器35と導波路34は窒化シリコンで構成されている。
【0004】
以上のように構成された従来の光周波数コム発生装置について、以下その動作について説明する。
導波路34には、図外の連続波(CW)レーザー光源光源装置から照射される励起光37の入力を受け付ける入力部36が接続され、CWレーザー光源光源装置からCWレーザー光である励起光37が導波路34に入射される。入射される励起光37は波長λ1を有する連続波である。
【0005】
図19(a)に入射励起光37の波長スペクトラムを示す。励起光37の共振波長λ1と共振器35の共振波長が重なると、励起光37は導波路34から染み出たいわゆるエヴァネッセント波として共振器35内に取り込まれる。そして共振器内の異なる波長を有する各モードがそろった状態になると、ピークが重なり強め合う干渉により、パルス40が発生する。この状態をモード同期という。また、このパルスを光コムという。
【0006】
図20にモードの概念を示す。モード間隔は繰り返し周波数frepで表され、
frep =c/(2nL)
となる。nは導波路の材質の有効屈折率で、Lは共振器の周長、cは光速である。
光コムは、周波数軸上で見たとき、図19(b)のようなモードが櫛のように等間隔に並ぶスペクトラムを有する。
【0007】
次に、図21を用いてマイクロ光共振器の波長シフトについて説明する。
光コムは励起光37をマイクロ光共振器の共振波形39の共振波長λ2に対して、短波長側から長波長側へ波長シフトすることで発生する。ここで励起光37の波長λ1とマイクロ光コムの共振波長λ2との距離をデチューニング量とする。共振波長λ2の位置をゼロデチューンという。ゼロデチューンより短波長側をブルーデチューン、長波長側をレッドデチューンと言い、ブルーデチューン側からデチューン量を小さくしていくと、励起光37は導波路34からエヴァネッセント波として共振してカップリングパワーが共振器35内に導かれる。
【0008】
これによって共振器35内の光パワーが徐々に増加していく。そして励起光37のカップリングパワーが非線形光学効果の閾値より大きくなった時、四光波混合(FWM)によってコムモードが発生する。このとき発生するのはカオス光コムである。マイクロ光共振器を用いて発生する櫛状スペクトル群を大別すると、カオス光コムとソリトン光コムに分けることができる。このうちモード同期されない状態の光コムをカオス光コムという。一方、モード同期されており位相、周波数、パルス波形などの面で最も安定した状態の光コムをソリトン光コムという。
【0009】
ソリトン光コムを発生させるためには、励起光37の波長λ1がゼロチューンの波長λ2を超えたレッドデチューンに移行したソリトン化領域41を捉える必要がある。 図22は、励起光37がレッドデチューンのソリトン化領域に至る経過を示した図である。図22(1)において励起光37は波長λ1を長波長側へシフトしていく。図22(2)において励起光37が共振波形にかかると徐々に光エネルギーが共振器35内に流入する。この光エネルギーによって共振器35は発熱する。この熱によって共振器35のリング径が熱膨張し共振波長λ2が長波長側にシフトする。さらに屈折率も増加する。また、リング内の光強度が高くなればカー効果が表れる。これを回避するには速いスピードで共振のピークを通り抜ける必要がある。その後、図22(3)において、励起光37が共振のピークを追い越してソリトン化領域に達し停止する。このようにソリトン光コムを発生させるには励起光37が、共振波形39のピークを通過し、高い光強度を共振器35内に注入した後、ソリトン化領域に至り停止する必要がある。
【先行技術文献】
【特許文献】
【0010】
米国特許第10268100号明細書
【非特許文献】
(【0011】以降は省略されています)
特許ウォッチbot のツイートを見る
この特許をJ-PlatPat(特許庁公式サイト)で参照する
関連特許
国立大学法人徳島大学
ゼオライトの製造方法
4か月前
国立大学法人徳島大学
マイクロコム制御装置
1か月前
国立大学法人徳島大学
多重光周波数コム生成装置
12日前
国立大学法人徳島大学
光共振器、及び光周波数コム発生装置
6日前
国立大学法人徳島大学
光共振器、及び光周波数コム発生装置
6日前
国立大学法人徳島大学
肝細胞様細胞の製造方法及びその利用
26日前
国立大学法人徳島大学
マイクロ光共振器、及び光周波数コム発生装置
6日前
国立大学法人徳島大学
マイクロ光共振器、及び光周波数コム発生装置
26日前
国立大学法人徳島大学
マイクロ光共振器、及び光周波数コム発生装置
26日前
国立大学法人徳島大学
マイクロ光共振器、及び光周波数コム発生装置
26日前
国立大学法人徳島大学
マイクロ光共振器、及び光周波数コム発生装置
26日前
国立大学法人徳島大学
マイクロ光共振器、および光周波数コム制御方法
6日前
国立大学法人徳島大学
分析プログラム、分析装置、分析方法、および測定装置
1か月前
国立大学法人徳島大学
コンクリート構造物の劣化診断装置、コンクリート構造物の劣化診断方法
12日前
国立大学法人徳島大学
骨および/または軟骨再生用の組成物、骨および/または軟骨の疾患の処置および/または予防用の組成物
19日前
個人
立体像表示装置
1日前
東レ株式会社
積層フィルム
7日前
東レ株式会社
貼合体の製造方法
1日前
東レ株式会社
赤外線遮蔽構成体
1日前
日本電気株式会社
光集積回路素子
5日前
住友化学株式会社
積層体
5日前
日東電工株式会社
調光フィルム
6日前
住友化学株式会社
偏光板
1日前
住友化学株式会社
偏光板
1日前
日本精機株式会社
ヘッドアップディスプレイ装置
6日前
住友化学株式会社
光学積層体
1日前
住友化学株式会社
偏光積層体
1日前
住友ベークライト株式会社
積層体の製造方法
6日前
キヤノン株式会社
レンズ装置および撮像装置
6日前
Orbray株式会社
MEMS光スイッチの制御方法
6日前
古河電気工業株式会社
光モジュール、光接続構造
6日前
住友化学株式会社
偏光板及び画像表示装置
7日前
京セラ株式会社
走査装置及び制御装置
5日前
京セラ株式会社
走査装置及び制御装置
5日前
住友ベークライト株式会社
光学シート
5日前
TDK株式会社
メタサーフェスレンズ
5日前
続きを見る
他の特許を見る