TOP
|
特許
|
意匠
|
商標
特許ウォッチ
Twitter
他の特許を見る
10個以上の画像は省略されています。
公開番号
2025137031
公報種別
公開特許公報(A)
公開日
2025-09-19
出願番号
2024035999
出願日
2024-03-08
発明の名称
マイクロ光共振器、及び光周波数コム発生装置
出願人
国立大学法人徳島大学
代理人
主分類
G02F
1/01 20060101AFI20250911BHJP(光学)
要約
【課題】
光周波数コムを起動において、共振器の熱変形による共振波長および屈折率変化するため、励起光33の波長λ1を精度よくソリトン化する領域に移動させることが難しいという問題を有していた。また、励起光を共振器のソリトン化領域に掃引する機能は、励起光の波長を変化させる必要があり小型化およびコスト面で大きな課題であった。さらに、ソリトン光コムの連続生成が外部温度変化で不安定化をもたらしていた。
【解決手段】
第1の導波路12の直径を可変する熱変形アクチュエーター13と、熱変形アクチュエーター13を加熱する第1のヒーターと、熱変形アクチュエーター13を冷却する基板とを設け、第1の導波路のコム立ち上げ時に1端熱変形アクチュエーターを加熱し、その後冷却プロセスにてソリトン光コム立ち上げ動作を行うことにより、より簡素で小型化できる光コムデバイスを実現する。
【選択図】 図1
特許請求の範囲
【請求項1】
レーザー光源装置から照射される所定の周波数を有する励起光の入力を受け付ける入力部と、3次非線形光学効果を有する材質により構成されたリング状の第1の導波路と、前記入力部からの前記励起光を受け取り、その前記励起光の少なくとも一部を前記第1の導波路に入力し、前記第1の導波路から互いに等しい周波数間隔である複数の櫛状のスペクトラムを有する光周波数コムを取り出すように設けられた第2の導波路と、前記第1の導波路および前記第2の導波路の周りを囲み、前記第1の導波路および前記第2の導波路の屈折率より低い屈折率で形成されたクラッドと、前記第1の導波路のリングの内側に形成され前記第1の導波路の中心と同軸の円筒状の熱変形アクチュエーターと、前記熱変形アクチュエーターを加熱する第1のヒーターと、前記熱変形アクチュエーターを冷却する冷却手段とを有し、前記第1のヒーターにより加熱された熱変形アクチュエーターが前記第1の導波路の直径を増加させ、前記第1の導波路の光共振周波数を変化させることを特徴とするマイクロ光共振器。
続きを表示(約 790 文字)
【請求項2】
前記第1のヒーターに加える電圧を制御するために、前記熱変形アクチュエーターの温度を検出する第1の温度センサーを有することを特徴とする請求項1記載のマイクロ光共振器。
【請求項3】
前記熱変形アクチュエーターと前記第1のヒーターが接していることを特徴とする請求項1および2記載のマイクロ光共振器。
【請求項4】
前記熱変形アクチュエーターと前記冷却手段である基板とが接していることを特徴とする請求項1から2記載のマイクロ光共振器。
【請求項5】
レーザー光源光源装置から照射される所定の周波数を有する励起光の入力を受け付ける入力部と、3次非線形光学効果を有する材質により構成されたリング状の第1の導波路と、前記入力部からの前記励起光を入力し、前記第1の導波路と光学的に結合することにより、前記励起光の少なくとも1部を前記第1の導波路に入力し、前記第1の導波路から互いに等しい周波数間隔である複数の櫛状のスペクトラムを有する光周波数コムを取り出すように設けられた第2の導波路と、前記第1の導波路および前記第2の導波路の周りを囲み前記第1の導波路および前記第2の導波路の屈折率より低い屈折率で形成されたクラッドと、前記第1の導波路のリングの内側に形成された熱変形アクチュエーターと、前記熱変形アクチュエーターを加熱する第1のヒーターと、前記熱変形アクチュエーターの温度を検出する第1の温度センサーと、前記熱変形アクチュエーターを冷却する冷却手段と、前記冷却手段を加熱する第2のヒーターと、前記冷却手段の温度を検出する第2の温度センサーと、前記第2の温度センサーで検出した信号をフィードバックして前記第2のヒーターをコントロールして、前記基板の温度を所定の値に制御する温度制御装置と、を有する光周波数コム発生装置。
発明の詳細な説明
【技術分野】
【0001】
本発明は、光周波数コムの周波数制御装置及び方法に関し、特に、ソリトン光コムの起動を確実に行い、かつ連続してソリトン光コムを生成し維持するための光周波数コムの周波数制御装置及び方法に関する。
続きを表示(約 1,300 文字)
【背景技術】
【0002】
光周波数コムは、周波数軸上に等間隔に並んだ成分(モード)からなる櫛(コム)形のスペクトラムを持つ光信号である。
【0003】
光周波数コムを起動するには、キャビティ内を異常分散状態にするだけでは不十分であり、特殊な手順を踏む必要がある。この手法は2014年に、周回型光導波路へ導入する連続波(CW)レーザー光源の波長を、その共振周波数付近で連続的に掃引する手法が発見され、この方法を基本とする手法が多く研究されている。
【0004】
しかし上記の手法による起動では、周回型光導波路における二つの要因による共振周波数のシフト、具体的にはカー非線形効果による光学的なシフトと、温度上昇による材料そのものの屈折率の変化及び熱膨張に起因する熱的なシフトの両方を考慮しなければならず、非常に複雑である。
【0005】
以下に従来の光周波数コム発生装置について説明する。
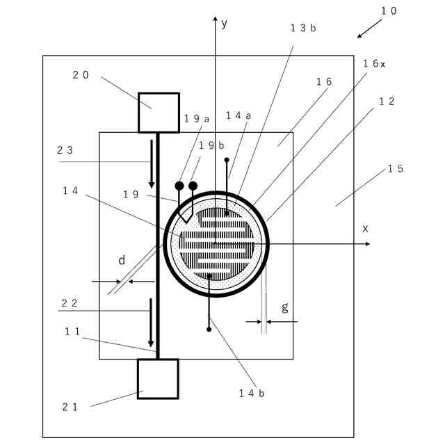
そのマイクロ光共振器を図11に示す。図11(a)は導波路の平面図であり、図11(b)は、x軸の断面図を表している。29aは基板28上に成膜された二酸化ケイ素(SiO2)で形成された第1のクラッド層である。この第1のクラッド層29aの一部をエッチング除去して周回型光共振器である共振器31および導波路30が埋め込まれている、その上に第2のクラッド層29bが形成される。共振器31はリング状であり、導波路30は直線で構成される。共振器31と導波路30は僅かな隙間dを介して配置されている。なお、隙間dのz方向側面は、ドライエッチングで加工された面によって形成されている。また、共振器31と導波路30は窒化シリコンで構成されている。
【0006】
以上のように構成された従来の光周波数コム発生装置について、以下その動作について説明する。
【0007】
導波路30には、図外の連続波(CW)レーザー光源光源装置から照射される励起光の入力を受け付ける入力部32が接続され、CWレーザー光源光源装置からCWレーザー光である励起光33が導波路30に入射される。
【0008】
入射される励起光33は波長λ1を有する連続波である。図12(a)に入射励起光33の波長スペクトラムを示す。励起光33の共振波長λ1と共振器31の共振波長が重なると、励起光33は導波路30から染み出たいわゆるエヴァネッセント波として共振器31内に取り込まれる。
【0009】
そして共振器内の異なる波長を有する各モードがそろった状態になると、ピークが重なり強め合う干渉により、パルス36が発生する。この状態をモード同期という。また、このパルスを光コムという。図13にモードの概念を示す。
【0010】
モード間隔は繰り返し周波数frepで表され、
frep =c/(2nL)
となる。nは導波路の材質の有効屈折率で、Lは共振器の周長、cは光速である。
光コムは、周波数軸上で見たとき、図12(b)のようなモードが櫛のように等間隔に並ぶスペクトラムを有する。
(【0011】以降は省略されています)
この特許をJ-PlatPat(特許庁公式サイト)で参照する
関連特許
国立大学法人徳島大学
光位相変調モジュール
5か月前
国立大学法人徳島大学
ゼオライトの製造方法
4か月前
国立大学法人徳島大学
マイクロコム制御装置
1か月前
国立大学法人徳島大学
多重光周波数コム生成装置
11日前
国立大学法人徳島大学
肝細胞様細胞の製造方法及びその利用
25日前
国立大学法人徳島大学
光共振器、及び光周波数コム発生装置
5日前
国立大学法人徳島大学
光共振器、及び光周波数コム発生装置
5日前
国立大学法人徳島大学
マイクロ光共振器、及び光周波数コム発生装置
25日前
国立大学法人徳島大学
マイクロ光共振器、及び光周波数コム発生装置
5日前
国立大学法人徳島大学
マイクロ光共振器、及び光周波数コム発生装置
25日前
国立大学法人徳島大学
マイクロ光共振器、及び光周波数コム発生装置
25日前
国立大学法人徳島大学
マイクロ光共振器、及び光周波数コム発生装置
25日前
国立大学法人徳島大学
紫外線波長変換素子、及び紫外線分光測定装置
8か月前
国立大学法人徳島大学
マイクロ光共振器、および光周波数コム制御方法
5日前
JFEスチール株式会社
リン化合物の製造方法
5か月前
国立大学法人徳島大学
分析プログラム、分析装置、分析方法、および測定装置
1か月前
株式会社マルイ
透気測定装置、透気測定方法、及び透気測定システム
5か月前
国立大学法人徳島大学
コンクリート構造物の劣化診断装置、コンクリート構造物の劣化診断方法
11日前
国立大学法人徳島大学
高偏極化対象物、並びに、その製造方法、高偏極化方法及び高偏極化装置
4か月前
国立大学法人徳島大学
骨および/または軟骨再生用の組成物、骨および/または軟骨の疾患の処置および/または予防用の組成物
18日前
ナノミストテクノロジーズ株式会社
使用環境に対する超音波振動子の寿命を検出する超音波霧化システム
4か月前
国立大学法人徳島大学
器具の洗浄方法、原液処理装置および原液処理装置の操作方法
4か月前
国立大学法人徳島大学
腐敗菌情報検索方法、システム及びデータ構造並びにそのデータ構造を用いる食品安全・衛生管理システム及び方法
7か月前
個人
立体像表示装置
今日
東レ株式会社
積層フィルム
6日前
東レ株式会社
貼合体の製造方法
今日
東レ株式会社
赤外線遮蔽構成体
今日
アイカ工業株式会社
反射防止フィルム
12日前
スタンレー電気株式会社
照明装置
7日前
日本電気株式会社
光集積回路素子
4日前
住友化学株式会社
偏光板
今日
住友化学株式会社
偏光板
今日
住友化学株式会社
積層体
4日前
日東電工株式会社
調光フィルム
5日前
日本分光株式会社
赤外顕微鏡
11日前
日本精機株式会社
ヘッドアップディスプレイ装置
5日前
続きを見る
他の特許を見る