TOP
|
特許
|
意匠
|
商標
特許ウォッチ
Twitter
他の特許を見る
公開番号
2025144864
公報種別
公開特許公報(A)
公開日
2025-10-03
出願番号
2024044758
出願日
2024-03-21
発明の名称
コンクリート構造物の劣化診断装置、コンクリート構造物の劣化診断方法
出願人
国立大学法人徳島大学
代理人
個人
,
個人
,
個人
,
個人
主分類
G01N
21/84 20060101AFI20250926BHJP(測定;試験)
要約
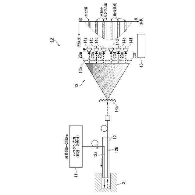
【課題】簡略な構成で低コスト化すると共に、近赤外光の有効利用と高感度検出を可能にするコンクリート構造物劣化診断装置を提供する。
【解決手段】可視光域および近赤外域の波長の検査光を照射する光源と、前記検査光を被検査部分に照射し、反射された反射光を受光する測定部と、前記反射光を互いに異なる波長域の複数の測定光に分光する分光手段と、前記分光手段で分光されたそれぞれの測定光ごとに光強度信号を出力する複数の光検出器と、を少なくとも有することを特徴とする。
【選択図】図1
特許請求の範囲
【請求項1】
可視光域および近赤外域の波長の検査光を出射する光源と、
前記検査光を被検査部分に照射し、反射された反射光を受光する測定部と、
前記反射光を互いに異なる波長域の複数の測定光に分光する分光手段と、
前記分光手段で分光されたそれぞれの測定光ごとに光強度信号を出力する複数の光検出器と、
を少なくとも有することを特徴とするコンクリート構造物の劣化診断装置。
続きを表示(約 1,500 文字)
【請求項2】
前記分光手段は、回折格子、プリズムまたはバンドパスフィルターのうち、いずれか1つを含むことを特徴とする請求項1に記載のコンクリート構造物の劣化診断装置。
【請求項3】
前記光検出器は、フォトダイオードであることを特徴とする請求項1または2に記載のコンクリート構造物の劣化診断装置。
【請求項4】
前記光源は、少なくとも波長が350nm以上2500nm以下の範囲の連続した波長域を含む光を出射可能なハロゲンランプから構成されることを特徴とする請求項1または2に記載のコンクリート構造物の劣化診断装置。
【請求項5】
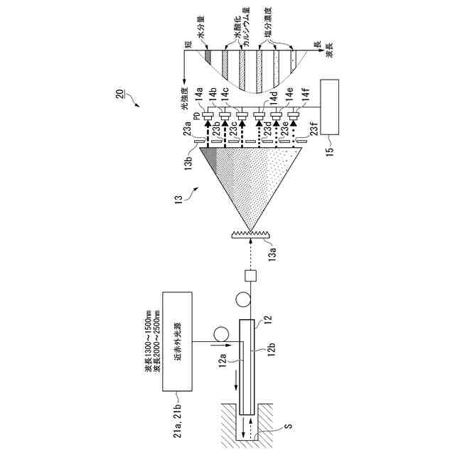
前記光源は、波長が1300nm以上1500nm以下の範囲の連続した波長域を含む光を出射可能な第1の近赤外線光源と、波長が2000nm以上2500nm以下の範囲の連続した波長域を含む光を出射可能な第2の近赤外線光源と、から構成されることを特徴とする請求項1または2に記載のコンクリート構造物の劣化診断装置。
【請求項6】
前記光検出器は、第1波長から第6波長の6つの波長の前記測定光をそれぞれ受光する6つの前記光検出器から構成され、第1波長は1300nm、第2波長は1412nm、第3波長は1425nm、第4波長は2230nm、第5波長は2266nm、第6波長は2300nmであることを特徴とする請求項1または2に記載のコンクリート構造物の劣化診断装置。
【請求項7】
前記第1波長と前記第3波長の前記測定光の光強度信号に基づいて前記被検査部分の水分量を算出し、前記第2波長と前記第3波長の前記測定光の光強度信号に基づいて前記被検査部分の水酸化カルシウム含有量を算出し、前記第4波長、前記第5波長、および前記第6波長の前記測定光の光強度信号に基づいて前記被検査部分の塩分濃度を算出する制御部を有することを特徴とする請求項6に記載のコンクリート構造物の劣化診断装置。
【請求項8】
互いに異なる6つの波長の検査光を順次出射する光源と、
前記検査光を被検査部分に照射し、反射された6つの波長の反射光を受光する測定部と、
6つの波長の前記反射光のそれぞれの光強度信号を順次出力する1つの光検出器と、
を少なくとも有することを特徴とするコンクリート構造物の劣化診断装置。
【請求項9】
前記光源は、第1波長から第6波長の6つの波長の光を出射可能なLED、半導体レーザーまたはランプ光源のうち、いずれか1つから構成され、第1波長は1300nm、第2波長は1412nm、第3波長は1425nm、第4波長は2230nm、第5波長は2266nm、第6波長は2300nmであることを特徴とする請求項8に記載のコンクリート構造物の劣化診断装置。
【請求項10】
請求項1または2に記載のコンクリート構造物の劣化診断装置を用いたコンクリート構造物の劣化診断方法であって、
前記光源から可視光域および近赤外域の波長の前記検査光を照射する検査光照射工程と、
前記測定部において前記検査光を被検査部分に照射し、反射された前記反射光を受光する測定工程と、
前記分光手段と前記反射光を互いに異なる波長域の複数の測定光に分光する分光工程と、
前記光検出器において前記分光手段で分光されたそれぞれの測定光ごとに光強度信号を出力する光強度信号出力工程と、
を少なくとも有することを特徴とするコンクリート構造物の劣化診断方法。
発明の詳細な説明
【技術分野】
【0001】
本発明は、コンクリート構造物の経年劣化を診断するコンクリート構造物の劣化診断装置、コンクリート構造物の劣化診断方法に関するものである。
続きを表示(約 1,400 文字)
【背景技術】
【0002】
高層建築物や高架橋など、コンクリート構造物は世界中に数多く建造されている。その一方で、こうしたコンクリート構造物の経年劣化が問題になっている。コンクリート構造物の経年劣化は、主にコンクリート材に生じた亀裂から塩分などが浸入し、内部の鋼材が腐食することなどが原因である。特に、適切なメンテナンスを行わずに建造後50年以上経過したコンクリート構造物は、経年劣化が大きく進んでいることが多い。そのため、コンクリート構造物は、定期的に劣化度合いを測定し、適切な補修などを行うことが重要である。
【0003】
こうしたコンクリート構造物の経年劣化は、浸透した水分の凍結、融解によって生じる亀裂や、塩害による鋼材(鉄筋)の腐食、水酸化カルシウムの消失による中性化によるものが主である。このため、コンクリート構造物の劣化度合いを診断する際には、こうした被検査部分の水分量、塩分濃度、および水酸化カルシウム含有量を測定することが重要である。従来、こうしたコンクリート構造物の経年劣化の診断には、コンクリート構造物の測定箇所に電磁波を照射して、生じた反射波を分析することで劣化度合いを検出するコンクリートの劣化診断装置が一般的に用いられている。
【0004】
例えば、特許文献1には、近赤外波長領域の波長成分を含む光を照射する光源と、近赤外波長領域の光に感応する半導体受光素子と、を備えたコンクリート検査装置が開示されている。
【0005】
また、特許文献2には、電磁波をコンクリート構造物に送信すると共に反射波を受信して、測定された内部欠陥反射波の初動ピークに関する特定の計算式に基づいて欠陥部の種別を判別するコンクリート検査方法が開示されている。
【0006】
さらに、特許文献3では、可視光から赤外光までの幅広い波長域の光を照射可能な光源と、これら幅広い波長域の反射光を分光した後にイメージセンサを用いて、対象物の状態を測定可能なマルチチャンネル分光計が開示されている。
【先行技術文献】
【特許文献】
【0007】
特開2016-024034号公報
特開2005-043197号公報
米国特許第8164747号公報
【発明の概要】
【発明が解決しようとする課題】
【0008】
しかしながら、従来のコンクリート検査装置は、コンクリート構造物の劣化検査に必要な波長の光を含む幅広い波長域の検査光を照射可能な光源を用い、こうした幅広い波長域の検査光が被検査部分で反射された幅広い波長域の光を分光した後に、受光装置、例えばイメージセンサを用いていた。
【0009】
このため、コンクリート構造物の劣化検査には必要のない波長の光まで出射可能なハロゲンランプや、広帯域のイメージセンサなど、コストの高い部品を用いることで、コンクリート検査装置の高コスト化を招いているという課題があった。
【0010】
また、コンクリート構造物の劣化検査には必要のない波長域の光を含む幅広い波長域の光を用いることで、コンクリート構造物の劣化検査に必要な波長域の光強度が相対的に弱くなり、検査感度が低くなりやすいという課題もあった。
(【0011】以降は省略されています)
この特許をJ-PlatPat(特許庁公式サイト)で参照する
関連特許
国立大学法人徳島大学
光位相変調モジュール
5か月前
国立大学法人徳島大学
ゼオライトの製造方法
3か月前
国立大学法人徳島大学
マイクロコム制御装置
28日前
国立大学法人徳島大学
多重光周波数コム生成装置
今日
国立大学法人徳島大学
肝細胞様細胞の製造方法及びその利用
14日前
国立大学法人徳島大学
紫外線波長変換素子、及び紫外線分光測定装置
8か月前
国立大学法人徳島大学
マイクロ光共振器、及び光周波数コム発生装置
14日前
国立大学法人徳島大学
マイクロ光共振器、及び光周波数コム発生装置
14日前
国立大学法人徳島大学
マイクロ光共振器、及び光周波数コム発生装置
14日前
国立大学法人徳島大学
マイクロ光共振器、及び光周波数コム発生装置
14日前
JFEスチール株式会社
リン化合物の製造方法
5か月前
国立大学法人徳島大学
分析プログラム、分析装置、分析方法、および測定装置
1か月前
株式会社マルイ
透気測定装置、透気測定方法、及び透気測定システム
4か月前
国立大学法人徳島大学
コンクリート構造物の劣化診断装置、コンクリート構造物の劣化診断方法
今日
国立大学法人徳島大学
高偏極化対象物、並びに、その製造方法、高偏極化方法及び高偏極化装置
3か月前
ナノミストテクノロジーズ株式会社
使用環境に対する超音波振動子の寿命を検出する超音波霧化システム
4か月前
国立大学法人徳島大学
骨および/または軟骨再生用の組成物、骨および/または軟骨の疾患の処置および/または予防用の組成物
7日前
国立大学法人徳島大学
器具の洗浄方法、原液処理装置および原液処理装置の操作方法
4か月前
国立大学法人徳島大学
腐敗菌情報検索方法、システム及びデータ構造並びにそのデータ構造を用いる食品安全・衛生管理システム及び方法
7か月前
個人
計量スプーン
24日前
日本精機株式会社
位置検出装置
2日前
日本精機株式会社
位置検出装置
2日前
日本精機株式会社
位置検出装置
2日前
大和製衡株式会社
組合せ秤
7日前
大和製衡株式会社
組合せ秤
7日前
アズビル株式会社
圧力センサ
1日前
エイブリック株式会社
磁気センサ回路
1日前
トヨタ自動車株式会社
検査装置
4日前
株式会社ユーシン
操作検出装置
4日前
株式会社東芝
センサ
7日前
株式会社東芝
センサ
7日前
トヨタ自動車株式会社
表示装置
16日前
株式会社ナリス化粧品
角層細胞採取用具
14日前
TDK株式会社
ガスセンサ
1日前
東レエンジニアリング株式会社
計量装置
4日前
株式会社東芝
重量測定装置
今日
続きを見る
他の特許を見る