TOP
|
特許
|
意匠
|
商標
特許ウォッチ
Twitter
他の特許を見る
公開番号
2025136399
公報種別
公開特許公報(A)
公開日
2025-09-19
出願番号
2024034943
出願日
2024-03-07
発明の名称
インバータの冷却装置
出願人
三菱自動車工業株式会社
代理人
個人
,
個人
,
個人
,
個人
,
個人
主分類
H01L
23/473 20060101AFI20250911BHJP(基本的電気素子)
要約
【課題】インバータを効率的に冷却する。
【解決手段】ケーシング14内に収容されたパワーモジュール11,12,13と、パワーモジュール11,12,13を冷却する冷却装置20とを備えたインバータ10において、冷媒が流れる冷媒通路22と、冷媒通路22に冷媒を供給するポンプ21とを備え、冷媒通路22は、ケーシング14内を通過する第一冷媒通路23と、ケーシング14内の第一冷媒通路23よりもパワーモジュール11,12,13に近い側を通過する第二冷媒通路24と、第一冷媒通路23の冷媒の一部を第二冷媒通路24に分配する接続通路25とを備え、第一冷媒通路23の断面積は接続通路25との分岐点を境に上流側から下流側へ縮小しているインバータ10とした。
【選択図】図1
特許請求の範囲
【請求項1】
ケーシング内に収容されたパワーモジュールと、前記パワーモジュールを冷却する冷却装置とを備えたインバータにおいて、
冷媒が流れる冷媒通路と、前記冷媒通路に冷媒を供給するポンプとを備え、
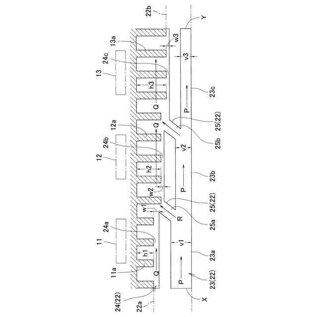
前記冷媒通路は、前記ケーシング内を通過する第一冷媒通路と、前記ケーシング内の前記第一冷媒通路よりも前記パワーモジュールに近い側を通過する第二冷媒通路と、前記第一冷媒通路の冷媒の一部を前記第二冷媒通路に分配する接続通路とを備え、前記第一冷媒通路の断面積は前記接続通路との分岐点を境に上流側から下流側へ縮小しているインバータ。
続きを表示(約 650 文字)
【請求項2】
前記第二冷媒通路の断面積は前記接続通路との合流点を境に上流側から下流側へ拡大している請求項1に記載のインバータ。
【請求項3】
前記第二冷媒通路は、前記パワーモジュール側に設けられた冷却フィンに臨んでおり、前記冷却フィンの前記第二冷媒通路内への突出高さは、前記接続通路との合流点を境に上流側から下流側へ高くなっている請求項1に記載のインバータ。
【請求項4】
前記第二冷媒通路は、前記パワーモジュール側に設けられた冷却フィンに臨んでおり、前記冷却フィンの突出側端と前記第二冷媒通路の内面との間の隙間は、前記接続通路との合流点を境に上流側から下流側へ狭くなっている請求項1に記載のインバータ。
【請求項5】
駆動用モータ及びジェネレータと、請求項1~4のいずれか一つに記載のインバータとを備えた電動車両であって、
前記ケーシング内の前記パワーモジュールは、前記冷媒通路の流れ方向に沿って上流側から下流側へ、前記駆動用モータに供給される電圧を制御する電圧制御ユニット、前記駆動用モータの回転を制御するモータ制御ユニット及び前記ジェネレータによる発電を制御する発電機制御ユニットを順に備え、
前記接続通路は、前記電圧制御ユニットと前記モータ制御ユニットとの間で前記第二冷媒通路に合流する上流側接続通路、及び、前記モータ制御ユニットと前記発電機制御ユニットとの間で前記第二冷媒通路に合流する下流側接続通路を備えている電動車両。
発明の詳細な説明
【技術分野】
【0001】
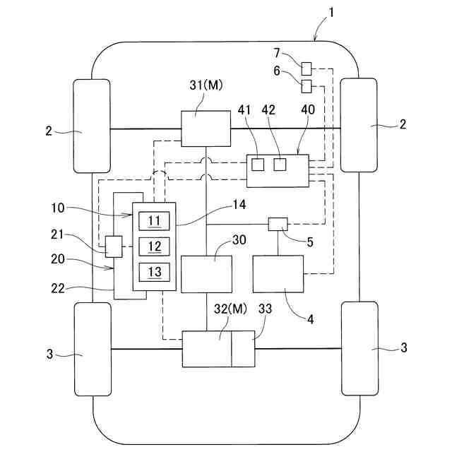
この発明は、電動車両に用いられるインバータの冷却装置に関する。
続きを表示(約 1,500 文字)
【背景技術】
【0002】
走行用の駆動源としてモータを備えた電動車両において、モータはバッテリに蓄電されている電力や、走行中に発電された電力を使用して駆動される。また、モータは、主に惰行時に回生電力を発生させる発電機としても機能する。このモータの制御は、インバータを通じて行われている。
【0003】
電動車両に搭載されたインバータは、例えば、特許文献1に示すように、水等の冷媒によって冷却されるようになっている。特に、インバータに搭載されたパワーモジュール(パワー半導体)は、所定の上限温度を超えない範囲で電流を流す、すなわち、トルクを出力する役割を果たすため、インバータを適正な温度の範囲に保つことは重要である。
【先行技術文献】
【特許文献】
【0004】
特開2020-88180号公報
【発明の概要】
【発明が解決しようとする課題】
【0005】
一般に、走行用の駆動源としてエンジンを搭載しない電動車両(EV)用のインバータは、モータ駆動用のMCU(モータ制御ユニット/Motor Control Unit)で構成される。また、走行用の駆動源としてエンジンとモータを搭載するハイブリッド車両(HV/PHEV)では、インバータ内に配置されるパワーモジュールとして、モータ駆動用のMCUに加えてジェネレータ駆動用のGCU(発電機制御ユニット/Generator Control Unit)が併設され、さらに、昇圧機構を有する場合はVCU(電圧制御ユニット/Voltage Control Unit)が追加される。
【0006】
ハイブリッド車両(HV/PHEV)が備えるインバータ内においては、場所によって温度差が生じ得る。これは、インバータを冷却するための冷媒が、インバータ内において上流側から下流側へ向かうにつれて徐々に温度が上昇することが一つの原因となっている。インバータが所期の性能を発揮するためには、インバータが常に効率的に冷却されていることが望ましい。
【0007】
そこで、この発明の課題は、インバータを効率的に冷却することである。
【課題を解決するための手段】
【0008】
上記の課題を解決するために、この発明は、ケーシング内に収容されたパワーモジュールと、前記パワーモジュールを冷却する冷却装置とを備えたインバータにおいて、冷媒が流れる冷媒通路と、前記冷媒通路に冷媒を供給するポンプとを備え、前記冷媒通路は、前記ケーシング内を通過する第一冷媒通路と、前記ケーシング内の前記第一冷媒通路よりも前記パワーモジュールに近い側を通過する第二冷媒通路と、前記第一冷媒通路の冷媒の一部を前記第二冷媒通路に分配する接続通路とを備え、前記第一冷媒通路の断面積は前記接続通路との分岐点を境に上流側から下流側へ縮小しているインバータを採用した(構成1)。
【0009】
構成1において、前記第二冷媒通路の断面積は前記接続通路との合流点を境に上流側から下流側へ拡大している構成を採用できる(構成2)。
【0010】
構成1又は構成2において、前記第二冷媒通路は、前記パワーモジュール側に設けられた冷却フィンに臨んでおり、前記冷却フィンの前記第二冷媒通路内への突出高さは、前記接続通路との合流点を境に上流側から下流側へ高くなっている構成を採用できる(構成3)。
(【0011】以降は省略されています)
この特許をJ-PlatPat(特許庁公式サイト)で参照する
関連特許
個人
安全なNAS電池
26日前
個人
フリー型プラグ安全カバー
1か月前
東レ株式会社
多孔質炭素シート
21日前
日本発條株式会社
積層体
2日前
エイブリック株式会社
半導体装置
23日前
キヤノン株式会社
電子機器
21日前
ローム株式会社
半導体装置
今日
ローム株式会社
半導体装置
21日前
ローム株式会社
半導体装置
今日
個人
防雪防塵カバー
2日前
エイブリック株式会社
半導体装置
23日前
ローム株式会社
半導体装置
今日
株式会社GSユアサ
蓄電装置
1か月前
東レ株式会社
ガス拡散層の製造方法
21日前
ニチコン株式会社
コンデンサ
14日前
沖電気工業株式会社
アンテナ
1か月前
株式会社ティラド
面接触型熱交換器
13日前
株式会社GSユアサ
蓄電装置
1か月前
個人
半導体パッケージ用ガラス基板
1日前
株式会社GSユアサ
蓄電装置
29日前
ニチコン株式会社
コンデンサ
14日前
オムロン株式会社
電磁継電器
1か月前
株式会社GSユアサ
蓄電装置
2日前
ローム株式会社
電子装置
2日前
日本特殊陶業株式会社
保持装置
今日
トヨタ自動車株式会社
二次電池
2日前
日本特殊陶業株式会社
保持装置
2日前
日本特殊陶業株式会社
保持装置
28日前
マクセル株式会社
配列用マスク
13日前
株式会社カネカ
二次電池
1か月前
株式会社ヨコオ
コネクタ
23日前
トヨタ自動車株式会社
蓄電装置
1か月前
ローム株式会社
半導体装置
1か月前
トヨタ自動車株式会社
電池パック
6日前
個人
多層樹脂シート電池の電流制限方法
12日前
ローム株式会社
半導体装置
22日前
続きを見る
他の特許を見る