TOP
|
特許
|
意匠
|
商標
特許ウォッチ
Twitter
他の特許を見る
公開番号
2025135243
公報種別
公開特許公報(A)
公開日
2025-09-18
出願番号
2024032982
出願日
2024-03-05
発明の名称
車両制御装置及び車両制御方法
出願人
トヨタ自動車株式会社
代理人
個人
,
個人
,
個人
,
個人
,
個人
,
個人
主分類
B60W
50/08 20200101AFI20250910BHJP(車両一般)
要約
【課題】自車両が対向車両等に近づいて乗員が不安を感じることを抑制する。
【解決手段】車両100の操舵を自律的に制御可能な車両制御装置は、対向車線の状況に基づいて、走行車線の中央よりも対向車線側とは反対側にオフセットしたオフセット走行の要否を判定する要否判定部331と、オフセット走行が必要である場合に車両の対向車線側とは反対側における道路状況に基づいて、オフセット走行を実行する実行条件を満たしているか否かを判定する実行判定部332と、車両を制御する車両制御部333と、を備える。車両制御部は、オフセット走行が必要である場合に実行条件を満たしていると判定されたときに、オフセット走行により前記車両を走行させ、オフセット走行が必要である場合に実行条件を満たしていないと判定されたときに、自律的な運転機能を制限すること及び乗員に対する通知を行うことのうちの少なくとも一方を行う。
【選択図】図5
特許請求の範囲
【請求項1】
車両の操舵を自律的に制御可能な車両制御装置であって、
前記車両が走行している走行車線とは反対向きに車両が走行する対向車線の状況に基づいて、前記走行車線の中央よりも前記対向車線側とは反対側にオフセットしたオフセット走行の要否を判定する要否判定部と、
前記オフセット走行が必要である場合に、前記車両の前記対向車線側とは反対側における道路状況に基づいて、前記オフセット走行を実行する実行条件を満たしているか否かを判定する実行判定部と、
前記車両を制御する車両制御部と、
を備え、
前記車両制御部は、前記オフセット走行が必要である場合に前記実行条件を満たしていると判定されたときに、前記オフセット走行により前記車両を走行させ、
前記車両制御部は、前記オフセット走行が必要である場合に前記実行条件を満たしていないと判定されたときに、自律的な運転機能を制限すること及び乗員に対する通知を行うことのうちの少なくとも一方を行う、車両制御装置。
続きを表示(約 850 文字)
【請求項2】
前記車両制御部は、前記オフセット走行が必要である場合に前記実行条件を満たしていないと判定されたときには、前記車両のドライバがステアリングホイールを握るように促すハンズオン要求通知を行い、前記オフセット走行が必要である場合に前記実行条件を満たしていると判定されたときには、前記ハンズオン要求通知を行わない、請求項1に記載の制御装置。
【請求項3】
前記車両制御部は、前記オフセット走行が必要である場合に前記実行条件を満たしていないと判定されたときには、前記オフセット走行が必要である場合に前記実行条件を満たしていると判定されたときと比べて、前記車両の速度を低下させる、請求項1に記載の制御装置。
【請求項4】
前記オフセット走行が必要である場合に前記実行条件を満たしていないと判定されたときには、前記車両制御部は、前記オフセット走行せずに前記車両を走行させ且つ前記車両の乗員への警告を表す通知を行う、請求項1に記載の制御装置。
【請求項5】
車両の操舵を自律的に制御可能な車両制御方法であって、
前記車両が走行している走行車線とは反対向きの対向車線の状況に基づいて、前記走行車線の中央よりも前記対向車線側とは反対側にオフセットしたオフセット走行の要否を判定することと、
前記オフセット走行が必要である場合に、前記車両の前記対向車線側とは反対側における道路状況に基づいて、前記オフセット走行を実行する実行条件を満たしているか否かを判定することと、
前記オフセット走行が必要である場合に前記実行条件を満たしていると判定されたときに、前記オフセット走行により前記車両を走行させることと、
前記オフセット走行が必要である場合に前記実行条件を満たしていないと判定されたときに、自律的な運転機能を制限すること及び乗員に対する通知を行うことのうちの少なくとも一方を行うことと、
を含む、車両制御方法。
発明の詳細な説明
【技術分野】
【0001】
本開示は、車両制御装置及び車両制御方法に関する。
続きを表示(約 1,900 文字)
【背景技術】
【0002】
従来から、操舵を自律的に行うことができる車両において、車両が走行する車線の車線幅内で車両を中央からずらして走行させることが知られている(特許文献1、2など)。特に、特許文献1に記載の装置では、車両が走行する車線に隣接する隣接車線を走行する他車両がある場合に、この他車両から横に遠ざかるように車両の目標走行軌道が補正されると共に、目標走行軌道の補正は上記隣接車線とは反対側の環境情報に基づいて行われる。
【先行技術文献】
【特許文献】
【0003】
特開2019-123402号公報
特開2021-099541号公報
【発明の概要】
【発明が解決しようとする課題】
【0004】
ところで、対面通行道路では、特に中央分離帯が設けられていないような場合、対向車両が横方向において自車両の近くを走行することになる。このような場合、操舵を自律的に行う自律操舵制御が行われていると、乗員が不安を感じる可能性がある。一方で、対面通行道路において、対向車線から離れるように車両をオフセットして走行させると、自車両が走行している車線の対向車線側とは反対側において、区画線又は何らかの障害物との距離が近づき過ぎて、乗員が不安を感じる可能性がある。
【0005】
上記課題に鑑みて、本開示の目的は、操舵を自律的に行う自律操舵制御中に、自車両が対向車両等に近づいて乗員が不安を感じることを抑制することにある。
【課題を解決するための手段】
【0006】
本開示の要旨は以下のとおりである。
【0007】
(1)車両の操舵を自律的に制御可能な車両制御装置であって、前記車両が走行している走行車線とは反対向きに車両が走行する対向車線の状況に基づいて、前記走行車線の中央よりも前記対向車線側とは反対側にオフセットしたオフセット走行の要否を判定する要否判定部と、前記オフセット走行が必要である場合に、前記車両の前記対向車線側とは反対側における道路状況に基づいて、前記オフセット走行を実行する実行条件を満たしているか否かを判定する実行判定部と、前記車両を制御する車両制御部と、を備え、前記車両制御部は、前記オフセット走行が必要である場合に前記実行条件を満たしていると判定されたときに、前記オフセット走行により前記車両を走行させ、前記車両制御部は、前記オフセット走行が必要である場合に前記実行条件を満たしていないと判定されたときに、自律的な運転機能を制限すること及び乗員に対する通知を行うことのうちの少なくとも一方を行う、車両制御装置。
(2)車両の操舵を自律的に制御可能な車両制御方法であって、前記車両が走行している走行車線とは反対向きの対向車線の状況に基づいて、前記走行車線の中央よりも前記対向車線側とは反対側にオフセットしたオフセット走行の要否を判定することと、前記オフセット走行が必要である場合に、前記車両の前記対向車線側とは反対側における道路状況に基づいて、前記オフセット走行を実行する実行条件を満たしているか否かを判定することと、前記オフセット走行が必要である場合に前記実行条件を満たしていると判定されたときに、前記オフセット走行により前記車両を走行させることと、前記オフセット走行が必要である場合に前記実行条件を満たしていないと判定されたときに、自律的な運転機能を制限すること及び乗員に対する通知を行うことのうちの少なくとも一方を行うことと、を含む、車両制御方法。
【発明の効果】
【0008】
本開示によれば、操舵を自律的に行う自律操舵制御中に、自車両が対向車両等に近づいて乗員が不安を感じることを抑制される。
【図面の簡単な説明】
【0009】
図1は、車両制御システムの構成を示す概略的なブロック図である。
図2は、ECUのプロセッサの機能ブロック図である。
図3は、車両が走行車線を走行している様子を概略的に示す図である。
図4は、車両が走行車線を走行している様子を示す、図3と同様な図である。
図5は、車両の操舵処理に関するフローチャートである。
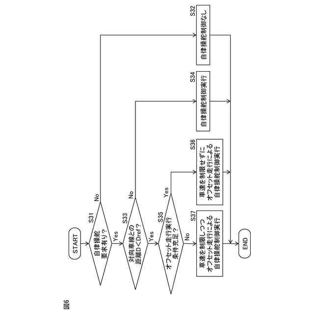
図6は、第1変形例に係る車両の操舵処理に関するフローチャートである。
【発明を実施するための形態】
【0010】
以下、図面を参照して実施形態について詳細に説明する。なお、以下の説明では、同様な構成要素には同一の参照番号を付す。
(【0011】以降は省略されています)
この特許をJ-PlatPat(特許庁公式サイト)で参照する
関連特許
トヨタ自動車株式会社
車両
23日前
トヨタ自動車株式会社
車両
2日前
トヨタ自動車株式会社
電池
2日前
トヨタ自動車株式会社
装置
22日前
トヨタ自動車株式会社
装置
22日前
トヨタ自動車株式会社
車両
12日前
トヨタ自動車株式会社
車両
21日前
トヨタ自動車株式会社
ロータ
今日
トヨタ自動車株式会社
電動車
12日前
トヨタ自動車株式会社
サーバ
6日前
トヨタ自動車株式会社
モータ
13日前
トヨタ自動車株式会社
回転子
13日前
トヨタ自動車株式会社
電動車
今日
トヨタ自動車株式会社
蓄電装置
2日前
トヨタ自動車株式会社
電動車両
21日前
トヨタ自動車株式会社
電動車両
21日前
トヨタ自動車株式会社
電動車両
21日前
トヨタ自動車株式会社
制御装置
12日前
トヨタ自動車株式会社
加熱装置
12日前
トヨタ自動車株式会社
制御装置
13日前
トヨタ自動車株式会社
制御装置
2日前
トヨタ自動車株式会社
表示装置
14日前
トヨタ自動車株式会社
蓄電装置
2日前
トヨタ自動車株式会社
制御装置
12日前
トヨタ自動車株式会社
冷却装置
12日前
トヨタ自動車株式会社
蓄電装置
2日前
トヨタ自動車株式会社
給電装置
12日前
トヨタ自動車株式会社
蓄電装置
14日前
トヨタ自動車株式会社
蓄電装置
2日前
トヨタ自動車株式会社
内燃機関
12日前
トヨタ自動車株式会社
検査装置
2日前
トヨタ自動車株式会社
水系電池
20日前
トヨタ自動車株式会社
電動車両
12日前
トヨタ自動車株式会社
電動車両
12日前
トヨタ自動車株式会社
駆動装置
20日前
トヨタ自動車株式会社
制御装置
2日前
続きを見る
他の特許を見る