TOP
|
特許
|
意匠
|
商標
特許ウォッチ
Twitter
他の特許を見る
10個以上の画像は省略されています。
公開番号
2025135148
公報種別
公開特許公報(A)
公開日
2025-09-18
出願番号
2024032796
出願日
2024-03-05
発明の名称
検出器ユニット、放射線検出装置および放射線断層撮影装置
出願人
浜松ホトニクス株式会社
代理人
個人
,
個人
,
個人
,
個人
主分類
G01T
1/20 20060101AFI20250910BHJP(測定;試験)
要約
【課題】TOF分解能およびDOI分解能の双方を良好なものとすることができるとともに放射線検出感度の劣化を抑制することができる検出器ユニットを提供する。
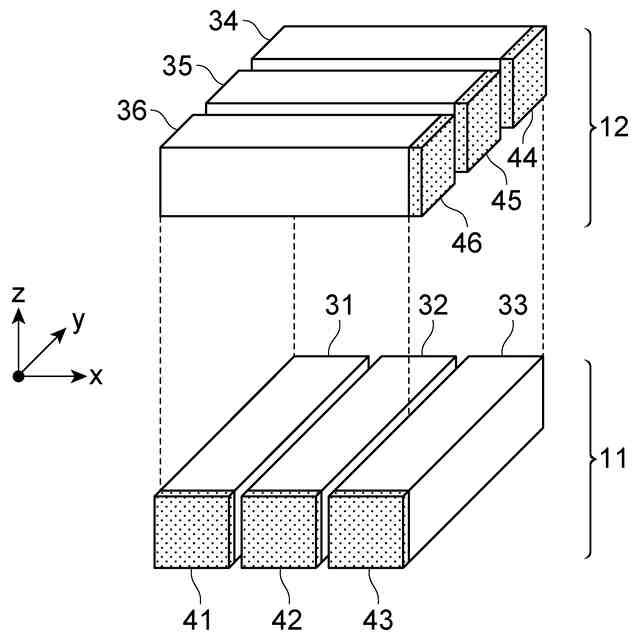
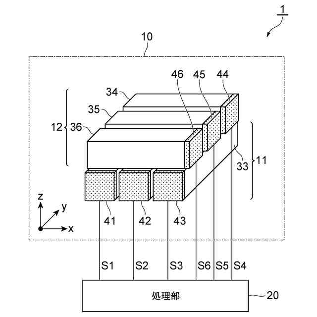
【解決手段】検出器ユニット10は、第1検出器グループ11および第2検出器グループ12を備える。第1検出器グループ11は、第2方向に長手方向を有し第1方向に並列配置された直方体形状のシンチレータ31~33と、シンチレータ31~33それぞれについて長手方向の側の面に光学的に結合された光検出部41~43と、を含む。第2検出器グループ12は、第1方向に長手方向を有し第2方向に並列配置された直方体形状のシンチレータ34~36と、シンチレータ34~36それぞれについて長手方向の側の面に光学的に結合された光検出部44~46と、を含む。第1検出器グループ11と第2検出器グループ12とは、第1方向および第2方向の双方に直交する第3方向に積層されている。
【選択図】図1
特許請求の範囲
【請求項1】
第1方向および第2方向の双方に直交する第3方向に積層された第1検出器グループと第2検出器グループとを備え、
前記第1検出器グループは、前記第2方向に長手方向を有し前記第1方向に並列配置された直方体形状の複数のシンチレータと、前記複数のシンチレータそれぞれについて長手方向の側の面に光学的に結合された光検出部と、を含み、
前記第2検出器グループは、前記第1方向に長手方向を有し前記第2方向に並列配置された直方体形状の複数のシンチレータと、前記複数のシンチレータそれぞれについて長手方向の側の面に光学的に結合された光検出部と、を含む、
検出器ユニット。
続きを表示(約 660 文字)
【請求項2】
前記第1検出器グループおよび前記第2検出器グループそれぞれにおいて、積層により対向する二つのシンチレータの面が空気接合されている、
請求項1に記載の検出器ユニット。
【請求項3】
前記第1検出器グループおよび前記第2検出器グループそれぞれのシンチレータにおいて、積層により他のシンチレータに対向する面と前記光検出部が光学的に結合された面とを除く面に、シンチレータで発生するシンチレーション光を反射させる反射材が設けられている、
請求項1に記載の検出器ユニット。
【請求項4】
前記第1検出器グループと前記第2検出器グループとが前記第3方向に交互に積層されている、
請求項1に記載の検出器ユニット。
【請求項5】
前記第3方向に積層された前記第1検出器グループと前記第2検出器グループとが前記第1方向および前記第2方向の双方または何れか一方に並列配置されている、
請求項1に記載の検出器ユニット。
【請求項6】
請求項1~5の何れか1項に記載の検出器ユニットと、
前記検出器ユニットの何れかのシンチレータにおいて放射線が相互作用してシンチレーション光が発生したときに前記検出器ユニットの光検出部から出力される信号を処理して放射線の相互作用位置を求める処理部と、
を備える放射線検出装置。
【請求項7】
請求項1~5の何れか1項に記載の検出器ユニットを備える放射線断層撮影装置。
発明の詳細な説明
【技術分野】
【0001】
本発明は、検出器ユニット、放射線検出装置および放射線断層撮影装置に関するものである。
続きを表示(約 2,000 文字)
【背景技術】
【0002】
陽電子放射断層撮影(Positron Emission Tomography、PET)装置や単光子断層撮影(Single Photon Emission Computed Tomography、SPECT)装置などの放射線断層撮影装置は、被検体内で放出された放射線(ガンマ線)を放射線検出装置により検出して、被検体の断層画像を再構成するためのデータを収集する装置である。放射線検出装置は、放射線断層撮影装置だけでなく、ガンマ線や他の放射線を検出する他の様々な装置においても用いられる。放射線検出装置は、一般に、入射した放射線との相互作用によりシンチレーション光を発生させるシンチレータと、このシンチレーション光を受光して信号を出力する光検出部と、この光検出部から出力される信号を処理する処理部と、を備える。以下では、放射線検出装置の構成のうちシンチレータと光検出部とを含む構成部分を検出器ユニットという。
【0003】
例えば、PET装置において用いられる放射線検出装置は、高精度の断層画像を再構成する為に、シンチレータにおける放射線との相互作用の時刻および位置の双方を高分解能で検出することが重要である。放射線相互作用時刻検出の分解能(Time of Flight(TOF)分解能)がよいほど、断層画像のS/N比が向上する。また、放射線相互作用位置検出の分解能(Depth of Interaction(DOI)分解能)がよいほど、断層画像の均一性が向上する。したがって、放射線検出装置においてTOF分解能およびDOI分解能の双方の向上が望まれる。
【0004】
TOF分解能を向上させるには、シンチレータにおいて放射線相互作用位置で発生したシンチレーション光が光検出部に到達するまでに要する時間のバラツキを小さくすればよく、すなわち、光検出部からシンチレータの最遠端位置までの距離を短くすればよい。しかし、この場合、シンチレータを小さくする必要があることから、放射線検出の感度が悪くなる。
【0005】
DOI分解能を向上させるには、一つのシンチレータに対して複数の光検出部を設けて、シンチレータにおいて発生したシンチレーション光を拡散させて複数の光検出部により検出すればよい。しかし、この場合、TOF分解能が悪くなる。
【0006】
非特許文献1,2に記載された放射線検出装置は、シンチレータおよび光検出部の形状や配置に関し特徴的構成を有するものである。非特許文献1に記載された放射線検出装置は、並列配置された複数の柱状シンチレータと、これらの複数の柱状シンチレータの一方側に設けられた複数の光検出部と、複数の柱状シンチレータの他方側に設けられたライトガイドと、を備える。非特許文献2に記載された放射線検出装置は、積層された複数の板状シンチレータと、これらの複数の板状シンチレータの四つの側面それぞれに設けられた複数の光検出部と、を備える。
【先行技術文献】
【非特許文献】
【0007】
M. Pizzichemi, et al, "Onlight sharing TOF-PET modules with depth of interaction and 157 ps FWHMcoincidence time resolution", Phys. Med. Biol. 64 155008, 2019.
P. Peng, et al, "ComptonPET: a layered structure PET detector with high performance", Phys. Med.Biol. 64 10LT01, 2019.
【発明の概要】
【発明が解決しようとする課題】
【0008】
非特許文献1に記載された放射線検出装置は、TOF分解能およびDOI分解能の双方を良好なものとすることができるものの、放射線検出感度を向上させようとシンチレータを厚くするとTOF分解能が劣化する。
【0009】
非特許文献2に記載された放射線検出装置は、板状シンチレータの積層数に依存することなくDOI分解能を良好なものとすることができるものの、シンチレーション光が多数の光検出部により受光されることにより、光検出部1個あたりが検出する光子の個数が減少するので、TOF分解能が劣化する。
【0010】
本発明は、上記問題点を解消する為になされたものであり、TOF分解能およびDOI分解能の双方を良好なものとすることができるとともに放射線検出感度の劣化を抑制することができる検出器ユニットおよび放射線検出装置を提供することを目的とする。
【課題を解決するための手段】
(【0011】以降は省略されています)
この特許をJ-PlatPat(特許庁公式サイト)で参照する
関連特許
大和製衡株式会社
組合せ秤
4日前
大和製衡株式会社
組合せ秤
4日前
トヨタ自動車株式会社
検査装置
1日前
株式会社東芝
センサ
4日前
株式会社東芝
センサ
4日前
株式会社ユーシン
操作検出装置
1日前
個人
粘塑性を用いた有限要素法の定式化
13日前
株式会社ナリス化粧品
角層細胞採取用具
11日前
東レエンジニアリング株式会社
計量装置
1日前
三菱マテリアル株式会社
温度センサ
11日前
三菱マテリアル株式会社
温度センサ
11日前
TDK株式会社
磁気計測装置
12日前
中国電力株式会社
異常箇所検出装置
12日前
成田空港給油施設株式会社
保持治具
12日前
株式会社豊田自動織機
制御装置
4日前
戸田建設株式会社
測量機
12日前
アンリツ株式会社
物品検査装置
4日前
アンリツ株式会社
物品検査装置
1日前
学校法人東海大学
試験装置
11日前
大和ハウス工業株式会社
試験方法
11日前
TDK株式会社
温度センサ
12日前
オンキヨー株式会社
検出装置、及び、判定装置
今日
Astemo株式会社
電流検出装置
1日前
横河電機株式会社
温度測定装置
1日前
株式会社コア
信号認証アダプター
1日前
ミネベアミツミ株式会社
ひずみゲージ
1日前
株式会社カネカ
太陽電池セルの外観検査装置
5日前
パイオニア株式会社
情報処理装置
1日前
パイオニア株式会社
情報処理装置
1日前
株式会社トプコン
3次元測量装置
11日前
パイオニア株式会社
情報処理装置
1日前
パイオニア株式会社
情報処理装置
1日前
パイオニア株式会社
情報処理装置
1日前
パイオニア株式会社
情報処理装置
1日前
矢崎エナジーシステム株式会社
ガスメータ
1日前
アンリツ株式会社
物品検査装置
5日前
続きを見る
他の特許を見る