TOP
|
特許
|
意匠
|
商標
特許ウォッチ
Twitter
他の特許を見る
公開番号
2025141090
公報種別
公開特許公報(A)
公開日
2025-09-29
出願番号
2024040846
出願日
2024-03-15
発明の名称
ガスメータ
出願人
矢崎エナジーシステム株式会社
代理人
個人
,
個人
主分類
G01F
3/22 20060101AFI20250919BHJP(測定;試験)
要約
【課題】文字板をフレームに取り付けるための取付部が文字板の板面から前方側に突出せず、文字板をフレームに取り付ける際の作業性が良く、文字板が振動等によりフレームから脱落しないガスメータを提供する。
【解決手段】文字板12は、板面12Aの上端から後方側の斜め上方に延びる第1傾斜部121Aと、第1傾斜部121Aに形成された切欠き部121Bとを備える第1係止部121と、板面121Aの下端から後方側の斜め下方に延びる第2傾斜部122Aを備える第2係止部122とを備え、フレーム11は、前面から前方側に突出しないように設けられ、切欠き部121Bと嵌合することで第1係止部121を横方向に係止し、且つ、切欠き部121Bの下縁と係合することで第1係止部121を前後方向及び縦方向に係止する第1爪部材111と、前面から前方側に突出しないように設けられ、第2係止部122を前後方向及び縦方向に係止する第2爪部材112とを備える。
【選択図】図2
特許請求の範囲
【請求項1】
ガス使用量を表示する表示部を前方から視認可能とする第1表示窓が設けられた前面を備え、ガスメータ本体に取り付けられたフレームと、
表示項目が記され前記表示部を前方から視認可能とする第2表示窓が設けられた板面を備え、前記板面が前記前面を覆うように前記フレームに取り付けられた板部材と
を備え、
前記板部材は、
前記板面の上端及び下端の一方から後方側の斜方に延びる第1傾斜部と、前記第1傾斜部に形成された切欠き部とを備える第1係止部と、
前記板面の上端及び下端の他方から後方側の斜方に延びる第2傾斜部を備える第2係止部と
を備え、
前記フレームは、
前記前面から前方側に突出しないように設けられ、前記切欠き部と嵌合することで前記第1係止部を横方向に係止し、且つ、前記切欠き部の下縁と係合することで前記第1係止部を前後方向及び縦方向に係止する第1爪部材と、
前記前面から前方側に突出しないように設けられ、前記第2係止部を前後方向及び縦方向に係止する第2爪部材と
を備えるガスメータ。
続きを表示(約 750 文字)
【請求項2】
前記第1傾斜部は、前記板面の上端から後方側の斜め上方に延び、
前記第2傾斜部は、前記板面の下端から後方側の斜め下方に延び、
複数の前記切欠き部が、前記第1傾斜部に横方向に間隔を空けて形成され、
複数の前記第1爪部材が、前記フレームの上面に前記切欠き部の位置に合わせて設けられ、
前記第2爪部材が、前記フレームの下面に設けられ、
前記第1爪部材は、
前記フレームの前記上面に支持され、前記切欠き部と嵌合する第1軸部と、
前記第1軸部の先端に設けられ、前記切欠き部の下縁と係合する第1爪部と
を備え、
前記第2爪部材は、
前記フレームの前記下面に支持され、前記第2係止部の下端を保持する第2軸部と、
前記第2軸部の先端に設けられ、前記第2係止部の下端と係合する第2爪部と
を備える請求項1に記載のガスメータ。
【請求項3】
前記第2係止部は、
前記第2傾斜部の先端から縦方向に延びる縦部を備え、
前記第2爪部材は、
前記縦部と係合する縦面と、
前記縦面よりも前側に位置する斜面と
を備える請求項1又は2に記載のガスメータ。
【請求項4】
前記板部材は、
前記板面の一方の側部から突出した第1側片と、
前記板面の他方の側部から突出した第2側片と
を備え、
前記フレームは、
前記前面の一方の側部から突出し、前記第1側片を保持する第1保持部と、
前記前面の他方の側部から突出し、前記第2側片を保持する第2保持部と
を備える請求項1又は2に記載のガスメータ。
発明の詳細な説明
【技術分野】
【0001】
本発明は、ガスメータに関する。
続きを表示(約 1,900 文字)
【背景技術】
【0002】
燃料ガスの使用量を積算して表示するガスメータとして、機械式カウンタを保持するフレームの前面に、品番、流量単位等の表示項目が印刷やレーザー加工により付与されているものが知られている(例えば、特許文献1参照)。
【先行技術文献】
【特許文献】
【0003】
特開2018-25445号公報
【発明の概要】
【発明が解決しようとする課題】
【0004】
表示項目の視認性の向上等を目的として、機械式カウンタを保持するフレームの前面に、表示項目が印刷やレーザー加工により付与された金属製の文字板を装着する場合について検討する。この場合、文字板の前方にはフロントカバーの透明板が近接して配置されるため、文字板をフレームに取り付けるための取付部が文字板の板面から前方側に突出しないことが課題となる。また、文字板をフレームに取り付ける際の作業性が良いこと、文字板が振動等によりフレームから脱落しないことも課題となる。
【0005】
本発明は、上記事情に鑑み、文字板をフレームに取り付けるための取付部が文字板の板面から前方側に突出しないこと、文字板をフレームに取り付ける際の作業性が良いこと、文字板が振動等によりフレームから脱落しないことを可能にするガスメータを提供することを目的とする。
【課題を解決するための手段】
【0006】
本発明のガスメータは、ガス使用量を表示する表示部を前方から視認可能とする第1表示窓が設けられた前面を備え、ガスメータ本体に取り付けられたフレームと、表示項目が記され前記表示部を前方から視認可能とする第2表示窓が設けられた板面を備え、前記板面が前記前面を覆うように前記フレームに取り付けられた板部材とを備え、前記板部材は、前記板面の上端及び下端の一方から後方側の斜方に延びる第1傾斜部と、前記第1傾斜部に形成された切欠き部とを備える第1係止部と、前記板面の上端及び下端の他方から後方側の斜方に延びる第2傾斜部を備える第2係止部とを備え、前記フレームは、前記前面から前方側に突出しないように設けられ、前記切欠き部と嵌合することで前記第1係止部を横方向に係止し、且つ、前記切欠き部の下縁と係合することで前記第1係止部を前後方向及び縦方向に係止する第1爪部材と、前記前面から前方側に突出しないように設けられ、前記第2係止部を前後方向及び縦方向に係止する第2爪部材とを備える。
【発明の効果】
【0007】
本発明によれば、文字板をフレームに取り付けるための取付部が文字板の板面から前方側に突出しないこと、文字板をフレームに取り付ける際の作業性が良いこと、文字板が振動等によりフレームから脱落しないことが可能になる。
【図面の簡単な説明】
【0008】
図1は、本発明の一実施形態に係るガスメータを示す一部破断正面図である。
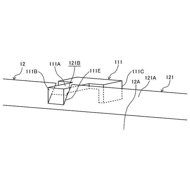
図2は、図1に示すフレーム組立体を示す斜視図である。
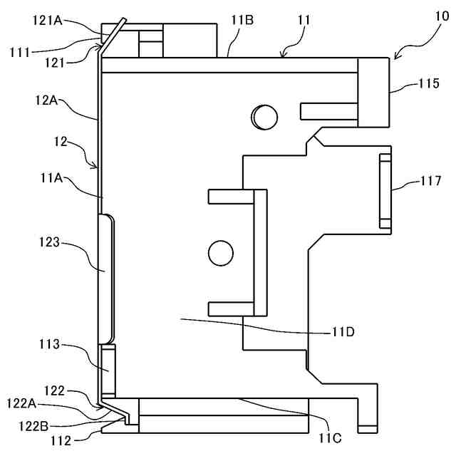
図3は、図1及び図2に示すフレーム組立体を示す側面図である。
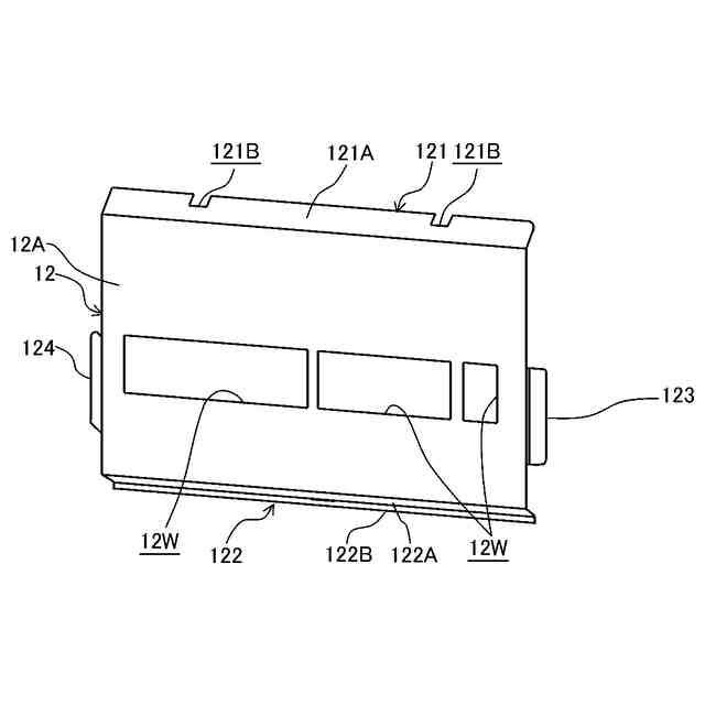
図4は、図1~図3に示す文字板を示す斜視図である。
図5は、図1~図3に示すフレームを示す斜視図である。
図6は、図2に示す第1爪部材及び第1係止部を拡大して示す斜視図である。
図7は、図2に示す第2爪部材及び第2係止部を拡大して示す斜視図である。
【発明を実施するための形態】
【0009】
以下、本発明を好適な実施形態に沿って説明する。なお、本発明は、以下に示す実施形態に限られるものではなく、本発明の趣旨を逸脱しない範囲において実施形態を適宜変更可能である。また、以下に示す実施形態においては、一部構成の図示や説明を省略している箇所があるが、省略された技術の詳細については、以下に説明する内容と矛盾点が発生しない範囲内において、適宜公知又は周知の技術が適用される。
【0010】
図1は、本発明の一実施形態に係るガスメータ1を示す一部破断正面図である。この図には、フロントカバー3の上部を破断してガスメータ1が示されている。この図に示すガスメータ1は、膜式ガスメータであり、燃料ガスの使用量を表示部4に表示させる表示機構(図示省略)と、フレーム組立体10とをガスメータ本体2の上部に備える。表示機構は、フレーム組立体10により支持され、フレーム組立体10は、ガスメータ本体2の上部に取り付けられている。フレーム組立体10は、フロントカバー3の上部により覆われている。
(【0011】以降は省略されています)
この特許をJ-PlatPat(特許庁公式サイト)で参照する
関連特許
個人
計量スプーン
22日前
個人
微小振動検出装置
1か月前
株式会社イシダ
X線検査装置
1か月前
日本精機株式会社
位置検出装置
今日
日本精機株式会社
位置検出装置
今日
日本精機株式会社
位置検出装置
今日
大和製衡株式会社
組合せ秤
5日前
大和製衡株式会社
組合せ秤
5日前
トヨタ自動車株式会社
検査装置
2日前
株式会社東芝
センサ
5日前
アンリツ株式会社
分光器
28日前
アンリツ株式会社
分光器
28日前
ダイハツ工業株式会社
測定用具
26日前
株式会社ユーシン
操作検出装置
2日前
トヨタ自動車株式会社
表示装置
14日前
株式会社東芝
センサ
1か月前
株式会社東芝
センサ
5日前
株式会社カワタ
サンプリング装置
1か月前
株式会社精工技研
光電圧プローブ
1か月前
株式会社ヨコオ
コンタクタ
26日前
株式会社ナリス化粧品
角層細胞採取用具
12日前
日本精工株式会社
分注装置
1か月前
東レエンジニアリング株式会社
計量装置
2日前
TDK株式会社
磁気センサ
29日前
TDK株式会社
ガスセンサ
1か月前
TDK株式会社
磁気センサ
22日前
個人
粘塑性を用いた有限要素法の定式化
14日前
学校法人立命館
液面レベルセンサ
1か月前
中国電力株式会社
異常箇所検出装置
13日前
日本碍子株式会社
ガスセンサ
23日前
個人
材料特性パラメータの算定方法
22日前
富士電機株式会社
半導体パッケージ
22日前
大同特殊鋼株式会社
超音波探傷方法
22日前
国立大学法人京都大学
バイオセンサ
29日前
大陽日酸株式会社
液面センサ
29日前
三菱マテリアル株式会社
温度センサ
12日前
続きを見る
他の特許を見る