TOP
|
特許
|
意匠
|
商標
特許ウォッチ
Twitter
他の特許を見る
10個以上の画像は省略されています。
公開番号
2025122303
公報種別
公開特許公報(A)
公開日
2025-08-21
出願番号
2024017660
出願日
2024-02-08
発明の名称
液面レベルセンサ
出願人
学校法人立命館
代理人
個人
主分類
G01F
23/30 20060101AFI20250814BHJP(測定;試験)
要約
【課題】外部電源が必要であると、液面レベルの設置場所等に制約が生じる。
【解決手段】開示の液面レベルセンサは、液の液面に浮遊するフロート装置と、前記液面のレベル変化に伴う前記フロート装置の変位に応じて動作する動作子と、前記動作子の動作に基づいて、前記液面のレベルに関する第1信号を出力するよう構成された回路と、を備える。前記フロート装置は、前記液に含まれる微生物により発電する微生物燃料電池を備える。前記回路は、前記微生物燃料電池から電力供給を受けて動作する。
【選択図】図1
特許請求の範囲
【請求項1】
液の液面に浮遊するフロート装置と、
前記液面のレベル変化に伴う前記フロート装置の変位に応じて動作する動作子と、
前記動作子の動作に基づいて、前記液面のレベルに関する第1信号を出力するよう構成された回路と、
を備え、
前記フロート装置は、前記液に含まれる微生物により発電する微生物燃料電池を備え、
前記回路は、前記微生物燃料電池から電力供給を受けて動作する
液面レベルセンサ。
続きを表示(約 990 文字)
【請求項2】
前記動作子は、前記微生物燃料電池と電気的に接続された導電性の動作子であり、
前記回路は、前記動作子を介して、前記微生物燃料電池から電力供給を受けるよう構成されている、
請求項1に記載の液面レベルセンサ。
【請求項3】
前記回路は、前記動作子と接触する接触子を備え、前記動作子及び前記接触子を介して前記微生物燃料電池から電力供給を受けるよう構成されている、
請求項2に記載の液面レベルセンサ。
【請求項4】
前記動作子は、前記微生物燃料電池と電気的に接続された導電性の動作子であり、
前記回路は、前記動作子と接触する複数の接触子を備え、
前記複数の接触子は、前記動作子の移動方向に沿って配置され、
前記回路は、前記複数の接触子のうちのいずれの接触子に前記動作子が接触していても、前記動作子及び前記動作子が接触している前記接触子を介して、前記微生物燃料電池から電力供給を受けるよう構成されている
請求項1に記載の液面レベルセンサ。
【請求項5】
前記動作子は、前記微生物燃料電池と電気的に接続された導電性の動作子であり、
前記回路は、前記動作子と接触する複数の接触子と、前記複数の接触子それぞれに対応するよう接続された複数の部分回路と、を備え、
前記複数の接触子は、前記動作子の移動方向に沿って配置され、
前記複数の部分回路のうちの少なくとも1つの部分回路は、前記複数の接触子のうち対応する接触子に前記動作子が接触すると、前記微生物燃料電池から電力供給を受けて動作し、前記複数の接触子のうち対応する前記接触子に前記動作子が位置していることを検出する
請求項1に記載の液面レベルセンサ。
【請求項6】
前記回路は、前記微生物燃料電池により生じた起電力又は電流に基づいて、前記液の状態に関する第2信号を更に出力するよう構成されている
請求項1に記載の液面レベルセンサ。
【請求項7】
前記微生物燃料電池と前記動作子とを電気的に接続する導線を更に備え、
前記導線は、滑車を介して、前記微生物燃料電池から前記動作子へガイドされている
請求項1に記載の液面レベルセンサ。
発明の詳細な説明
【技術分野】
【0001】
本開示は、液面レベルセンサに関する。
続きを表示(約 1,300 文字)
【背景技術】
【0002】
特許文献1は、水面上のフロートの上下動を磁気の変化として検出する水位計を開示している。
【先行技術文献】
【特許文献】
【0003】
実開平4-24028号公報
【発明の概要】
【0004】
特許文献1の水位計は、磁気の変化を電流変換する回路を備える。磁気の変化を電流変換する回路を動作させるには、外部から電力供給が必要となる。外部から電力供給が必要であると、設置例場所の制約等が生じ得る。かかる課題の解決が望まれる。
【0005】
本開示のある側面は、液面レベルセンサである。開示の液面レベルセンサは、液の液面に浮遊するフロート装置と、前記液面のレベル変化に伴う前記フロート装置の変位に応じて動作する動作子と、前記動作子の動作に基づいて、前記液面のレベルに関する第1信号を出力するよう構成された回路と、を備え、前記フロート装置は、前記液に含まれる微生物により発電する微生物燃料電池を備え、前記回路は、前記微生物燃料電池から電力供給を受けて動作する。
【0006】
更なる詳細は、後述の実施形態として説明される。
【図面の簡単な説明】
【0007】
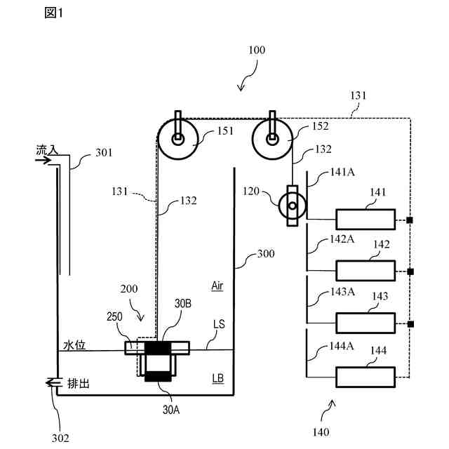
図1は、液面レベルセンサの構成図である。
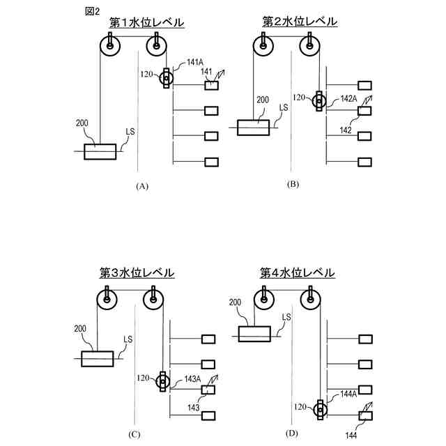
図2は、液面レベルの変化に伴う動作子の移動を示す図である。
図3は、水位及び接触子電圧の時間変化を示すグラフである。
図4は、水位及び接触子電圧の時間変化を示すグラフである。
図5は、検出回路の例を示す図である。
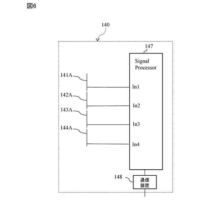
図6は、検出回路の例を示す図である。
図7は、液面レベルセンサの構成図である。
図8は、フロート装置の構成図である。
図9は、液面レベルセンサの設置例を示す図である。
図10は、液面レベルセンサの設置例を示す図である。
図11は、液面レベルセンサの変形例を示す図である。
図12は、液面レベルセンサの変形例を示す図である。
図13は、液面レベルセンサの変形例を示す図である。
【発明を実施するための形態】
【0008】
<1.液面レベルセンサの概要>
【0009】
(1)実施形態に係る液面レベルセンサは、液の液面に浮遊するフロート装置と、前記液面のレベル変化に伴う前記フロート装置の変位に応じて動作する動作子と、前記動作子の動作に基づいて、前記液面のレベルに関する第1信号を出力するよう構成された回路と、を備え得る。前記フロート装置は、前記液に含まれる微生物により発電する微生物燃料電池を備え得る。前記回路は、前記微生物燃料電池から電力供給を受けて動作し得る。回路は、微生物燃料電池から電力供給を受けられるため、外部電源がなくても、回路は動作することができる。
【0010】
(2)前記動作子は、前記微生物燃料電池と電気的に接続された導電性の動作子であり、前記回路は、前記動作子を介して、前記微生物燃料電池から電力供給を受けるよう構成され得る。
(【0011】以降は省略されています)
この特許をJ-PlatPat(特許庁公式サイト)で参照する
関連特許
学校法人立命館
光演算装置
5か月前
学校法人立命館
液面レベルセンサ
3か月前
学校法人立命館
情報埋め込み方法
3か月前
学校法人立命館
バイオ炭の分析方法
2か月前
学校法人立命館
センサ及びセンサシステム
2か月前
学校法人立命館
運動誘導装置、運動誘導方法
7か月前
学校法人立命館
ロボットハンド制御システム
29日前
学校法人立命館
流路構造、流路構造製造方法
6か月前
トヨタ自動車株式会社
色処理方法
8か月前
三洋化成工業株式会社
金属回収方法
4か月前
株式会社豊田自動織機
電力変換装置
1か月前
株式会社東洋レーベル
入眠促進装置
6か月前
学校法人立命館
筋組織カルシウム蓄積を抑制するビタミンD作用
7か月前
学校法人立命館
フェーズドアレーアンテナ装置及び無線通信装置
4か月前
学校法人立命館
個人認証装置、個人認証方法、個人認証プログラム
3か月前
Patentix株式会社
霧化装置及び製膜装置。
7か月前
学校法人立命館
処理装置、音響システム、先行音効果を生じさせる方法
2か月前
兵庫県
強化炭素繊維、炭素繊維シート及び炭素繊維強化剤
1か月前
学校法人立命館
異種タンパク質の大量生産が可能なナス科植物の四重変異体
6か月前
学校法人立命館
メッシュ生成システム、コンピュータ実装方法及びコンピュータプログラム
6か月前
Patentix株式会社
積層構造体、半導体装置、電子機器及びシステム
7か月前
Patentix株式会社
積層構造体、半導体装置、電子機器及びシステム
7か月前
Patentix株式会社
積層構造体、半導体装置、電子機器及びシステム
7か月前
Patentix株式会社
積層構造体、半導体装置、電子機器及びシステム
7か月前
Patentix株式会社
積層構造体、半導体装置、電子機器及びシステム
7か月前
Patentix株式会社
積層構造体、半導体装置、電子機器及びシステム
7か月前
Patentix株式会社
積層構造体、半導体装置、電子機器及びシステム
7か月前
学校法人立命館
モデルの作成支援システム、コンピュータ実装方法及びコンピュータプログラム
8か月前
Patentix株式会社
結晶、積層構造体、半導体装置、電子機器及びシステム
7か月前
Patentix株式会社
結晶、積層構造体、半導体装置、電子機器及びシステム
7か月前
Patentix株式会社
結晶膜、積層構造体、半導体装置、電子機器及びシステム
7か月前
Patentix株式会社
結晶膜、積層構造体、半導体装置、電子機器及びシステム
7か月前
Patentix株式会社
結晶膜、積層構造体、半導体装置、電子機器及びシステム
7か月前
Patentix株式会社
結晶膜、積層構造体、半導体装置、電子機器及びシステム
7か月前
国立大学法人京都大学
近位尿細管生体模倣システム
7日前
学校法人立命館
周波数損失関数を用いた画質改善方法、コンピュータシステム及びコンピュータプログラム
6か月前
続きを見る
他の特許を見る