TOP
|
特許
|
意匠
|
商標
特許ウォッチ
Twitter
他の特許を見る
公開番号
2025132635
公報種別
公開特許公報(A)
公開日
2025-09-10
出願番号
2024030326
出願日
2024-02-29
発明の名称
ダイヤモンド電極の製造方法、ダイヤモンド電極、電解処理装置、及びオゾン生成装置
出願人
学校法人東京理科大学
,
テクノエクセル株式会社
代理人
個人
,
個人
主分類
C25B
11/043 20210101AFI20250903BHJP(電気分解または電気泳動方法;そのための装置)
要約
【課題】種々の形状及び大きさの基材に対して効率的に導電性ダイヤモンド層を形成し、ダイヤモンド電極を製造することが可能なダイヤモンド電極の製造方法、該製造方法により製造し得るダイヤモンド電極、並びに該ダイヤモンド電極を備える電解処理装置及びオゾン生成装置を提供する。
【解決手段】本発明に係るダイヤモンド電極の製造方法は、導電性ダイヤモンド粒子を含有する懸濁液に電場を印加して導電性ダイヤモンド粒子を泳動させ、懸濁液中に配置された基材に導電性ダイヤモンド粒子を堆積させて導電性ダイヤモンド層を形成する工程を含む。
【選択図】図1
特許請求の範囲
【請求項1】
導電性ダイヤモンド粒子を含有する懸濁液に電場を印加して前記導電性ダイヤモンド粒子を泳動させ、前記懸濁液中に配置された基材に前記導電性ダイヤモンド粒子を堆積させて導電性ダイヤモンド層を形成する導電性ダイヤモンド層形成工程を含むダイヤモンド電極の製造方法。
続きを表示(約 680 文字)
【請求項2】
前記導電性ダイヤモンド層形成工程の前に、前記基材に、白金、金属酸化物、及び半金属酸化物からなる群より選択される少なくとも1種を含む下地層を形成する下地層形成工程をさらに含む、請求項1に記載のダイヤモンド電極の製造方法。
【請求項3】
前記導電性ダイヤモンド層形成工程の後に、前記導電性ダイヤモンド層の導電性ダイヤモンド粒子間に、金属酸化物及び半金属酸化物から選択される少なくとも1種を含む保持層を形成する保持層形成工程をさらに含む、請求項1又は2に記載のダイヤモンド電極の製造方法。
【請求項4】
前記懸濁液がバインダー樹脂をさらに含有する、請求項1又は2に記載のダイヤモンド電極の製造方法。
【請求項5】
基材と、前記基材上に形成された、白金、金属酸化物、及び半金属酸化物からなる群より選択される少なくとも1種を含む下地層と、前記下地層上に形成された、導電性ダイヤモンド粒子の堆積層である導電性ダイヤモンド層とを有するダイヤモンド電極。
【請求項6】
前記導電性ダイヤモンド層の導電性ダイヤモンド粒子間に形成された、金属酸化物及び半金属酸化物から選択される少なくとも1種を含む保持層をさらに有する、請求項5に記載のダイヤモンド電極。
【請求項7】
電解槽と、請求項5又は6に記載のダイヤモンド電極である陽極と、陰極とを備える電解処理装置。
【請求項8】
電解槽と、請求項5又は6に記載のダイヤモンド電極である陽極と、陰極とを備えるオゾン生成装置。
発明の詳細な説明
【技術分野】
【0001】
本発明は、ダイヤモンド電極の製造方法、ダイヤモンド電極、電解処理装置、及びオゾン生成装置に関する。
続きを表示(約 2,200 文字)
【背景技術】
【0002】
ダイヤモンド電極は、電位窓が広い;酸素過電圧が高い;物理的及び化学的に安定である;バックグラウンド電流が小さい;等の優れた特長を有することから、除菌水生成、廃液処理、電気化学センサ等の広い分野で利用が進んでいる。
【0003】
ダイヤモンド電極の製造方法としては、基材に化学気相成長(CVD)法により導電性ダイヤモンド層を形成する方法が一般的に知られている。また、導電性ダイヤモンド粉末と、ポリシラザン等のコーティング剤とを含有する導電性コーティング剤を、スクリーニング印刷又は噴射によって基材に塗布し、導電性ダイヤモンド粉末を含む導電層を形成する方法も提案されている(例えば、特許文献1参照)。
【先行技術文献】
【特許文献】
【0004】
特開2020-199478号公報
【発明の概要】
【発明が解決しようとする課題】
【0005】
しかし、CVD法により導電性ダイヤモンド層を形成する場合、適用可能な基材の材質、形状、及び大きさに制限があり、三次元形状の導電性ダイヤモンド層を形成することが困難であるという問題がある。この点、特許文献1に記載の方法によれば、種々の形状及び大きさの基材に対して導電層を形成することが可能である。しかし、特許文献1に記載の方法では、導電層に比較的多くのコーティング剤が含まれるため、導電性ダイヤモンド粉末同士の接触が妨げられ、導電性が低下するという問題がある。また、特許文献1に記載の方法では、スクリーニング印刷又は噴射によって導電層を形成しているため、材料のロスが大きいという問題がある。
【0006】
そこで、本発明は、種々の形状及び大きさの基材に対して効率的に導電性ダイヤモンド層を形成し、ダイヤモンド電極を製造することが可能なダイヤモンド電極の製造方法、該製造方法により製造し得るダイヤモンド電極、並びに該ダイヤモンド電極を備える電解処理装置及びオゾン生成装置を提供することを課題とする。
【課題を解決するための手段】
【0007】
上記課題を解決するための具体的な手段には、以下の実施態様が含まれる。
<1> 導電性ダイヤモンド粒子を含有する懸濁液に電場を印加して前記導電性ダイヤモンド粒子を泳動させ、前記懸濁液中に配置された基材に前記導電性ダイヤモンド粒子を堆積させて導電性ダイヤモンド層を形成する導電性ダイヤモンド層形成工程を含むダイヤモンド電極の製造方法。
<2> 前記導電性ダイヤモンド層形成工程の前に、前記基材に、白金、金属酸化物、及び半金属酸化物からなる群より選択される少なくとも1種を含む下地層を形成する下地層形成工程をさらに含む、<1>に記載のダイヤモンド電極の製造方法。
<3> 前記導電性ダイヤモンド層形成工程の後に、前記導電性ダイヤモンド層の導電性ダイヤモンド粒子間に、金属酸化物及び半金属酸化物から選択される少なくとも1種を含む保持層を形成する保持層形成工程をさらに含む、<1>又は<2>に記載のダイヤモンド電極の製造方法。
<4> 前記懸濁液がバインダー樹脂をさらに含有する、<1>~<3>のいずれか1項に記載のダイヤモンド電極の製造方法。
【0008】
<5> 基材と、前記基材上に形成された、白金、金属酸化物、及び半金属酸化物からなる群より選択される少なくとも1種を含む下地層と、前記下地層上に形成された、導電性ダイヤモンド粒子の堆積層である導電性ダイヤモンド層とを有するダイヤモンド電極。
<6> 前記導電性ダイヤモンド層の導電性ダイヤモンド粒子間に形成された、金属酸化物及び半金属酸化物から選択される少なくとも1種を含む保持層をさらに有する、<5>に記載のダイヤモンド電極。
<7> 電解槽と、<5>又は<6>に記載のダイヤモンド電極である陽極と、陰極とを備える電解処理装置。
<8> 電解槽と、<5>又は<6>に記載のダイヤモンド電極である陽極と、陰極とを備えるオゾン生成装置。
【発明の効果】
【0009】
本発明によれば、種々の形状及び大きさの基材に対して効率的に導電性ダイヤモンド層を形成し、ダイヤモンド電極を製造することが可能なダイヤモンド電極の製造方法、該製造方法により製造し得るダイヤモンド電極、並びに該ダイヤモンド電極を備える電解処理装置及びオゾン生成装置を提供することができる。
【図面の簡単な説明】
【0010】
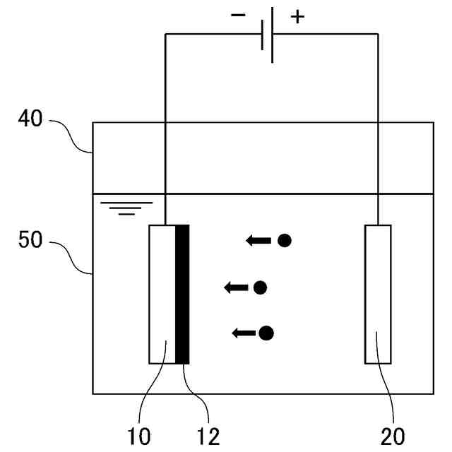
基材上に電気泳動堆積法により導電性ダイヤモンド層を形成する方法の一例を示す図である。
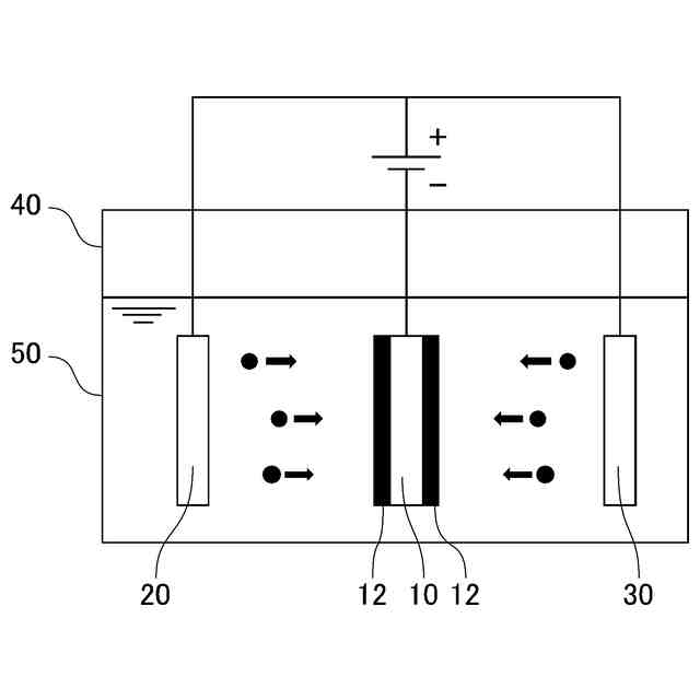
基材上に電気泳動堆積法により導電性ダイヤモンド層を形成する方法の他の例を示す図である。
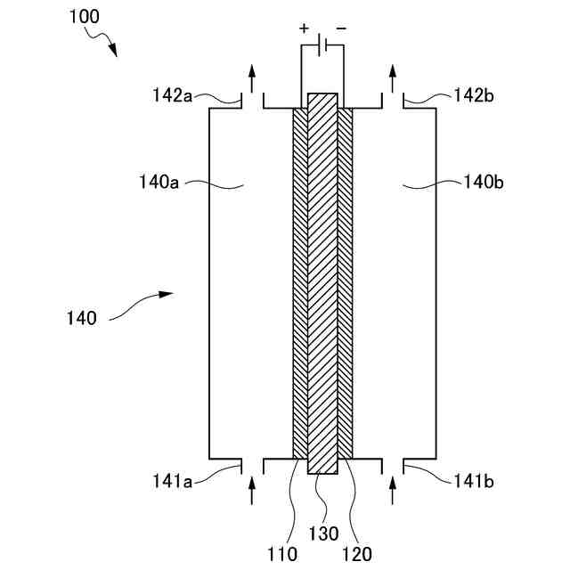
ダイヤモンド電極の層構成の一例を模式的に示す図である。
ダイヤモンド電極を備えるオゾン生成装置の概略構成の一例を示す図である。
下地層の膜厚と、電解処理中の電解電圧の推移との関係を示す図である。
【発明を実施するための形態】
(【0011】以降は省略されています)
この特許をJ-PlatPat(特許庁公式サイト)で参照する
関連特許
学校法人東京理科大学
発光装置及び光学機器
1か月前
学校法人東京理科大学
硬化性組成物及び反応生成物
3日前
株式会社デンソー
エレクトレット
16日前
本田技研工業株式会社
電力変換装置
3か月前
本田技研工業株式会社
電力変換装置
3か月前
学校法人東京理科大学
核酸固定化金ナノ粒子、及びその製造方法
24日前
株式会社熊谷組
建物構造体の変位抑制装置
1か月前
株式会社熊谷組
非接触給電用コイルの埋設構造
29日前
本田技研工業株式会社
電力変換装置、および車両
9日前
学校法人東京理科大学
硬化性組成物、反応生成物及び多官能ラクトン化合物
3日前
本田技研工業株式会社
変圧器、および電力変換装置
3か月前
学校法人東京理科大学
金属錯体粒子、電極、電池、及び金属錯体粒子の製造方法
2か月前
旭化成株式会社
測定装置、測定方法、および測定プログラム
1日前
本田技研工業株式会社
変圧器ユニット、および電力変換装置
3か月前
太平洋セメント株式会社
セメント組成物
2か月前
日本電気株式会社
学習装置、推定システム、学習方法およびプログラム
2か月前
学校法人東京理科大学
情報処理装置、情報処理システム、情報処理方法、及び情報処理プログラム
4か月前
学校法人東京理科大学
ダイヤモンド電極の製造方法、ダイヤモンド電極、電解処理装置、及びオゾン生成装置
2か月前
学校法人東京理科大学
銅クラスター、二酸化炭素還元用電極、二酸化炭素還元装置及びメタノールの製造方法
4か月前
国立大学法人高知大学
核酸送達促進剤
2か月前
住友理工株式会社
発泡ウレタン樹脂組成物、ポリウレタンフォームおよびその製造方法
8日前
NTT株式会社
光伝送システムの異常個所絞り込み装置、および、異常個所絞り込み方法
3か月前
学校法人東京理科大学
抗線維化作用を有する低分子化合物と免疫チェックポイント制御剤との併用によるがん療法
1か月前
学校法人東京理科大学
培養容器用結露防止装置、培養容器用結露防止装置の製造方法および培養容器用結露防止方法
3日前
NTT株式会社
光伝送システムにおける伝送品質劣化判定装置、および、伝送品質劣化判定方法
3か月前
学校法人東京理科大学
情報処理装置、表示装置、情報処理システム、遠隔作業システム、情報処理方法、及びプログラム
2か月前
学校法人東京理科大学
イリジウムクラスター、イリジウムクラスターの製造方法、酸素発生電極、水電解装置及び水の電気分解方法
4か月前
株式会社エス・ディー・エス バイオテック
有機酸合成阻害による二次代謝物の高生産化方法
3日前
学校法人東京理科大学
ダイヤモンド電極形成用組成物、ダイヤモンド電極の製造方法、ダイヤモンド電極、電解処理装置、及びオゾン生成装置
2か月前
国立大学法人電気通信大学
乱流予測装置、乱流予測方法、乱流予測プログラム、乱流制御システム、乱流制御方法、および乱流制御プログラム
4か月前
株式会社堤水素研究所
水電解装置
1か月前
株式会社神戸製鋼所
接点材料
29日前
株式会社カネカ
可撓性ガス拡散電極
2か月前
本田技研工業株式会社
電解装置
2か月前
株式会社ケミカル山本
電解研磨装置用電極
1か月前
一般財団法人電力中央研究所
電解反応装置
2か月前
続きを見る
他の特許を見る