TOP
|
特許
|
意匠
|
商標
特許ウォッチ
Twitter
他の特許を見る
公開番号
2025123867
公報種別
公開特許公報(A)
公開日
2025-08-25
出願番号
2024019611
出願日
2024-02-13
発明の名称
電力変換装置
出願人
本田技研工業株式会社
,
学校法人東京理科大学
代理人
弁理士法人大塚国際特許事務所
主分類
H02M
3/28 20060101AFI20250818BHJP(電力の発電,変換,配電)
要約
【課題】1つの電源から複数の負荷への電力伝送を、効率低下を抑制しつつ簡素な構成で電力変換する電力変換装置を提供する。
【解決手段】DC/DC変換を行う電力変換装置100は、第1変圧器10aおよび第2変圧器10bを有する変圧器ユニット10を備え、前記変圧器ユニットは、前記第1変圧器の一次側入力を行うための第1入力ポートP
A
と、前記第2変圧器の一次側入力を行うための第2入力ポートP
B
と、前記第1変圧器の二次側出力電圧と前記第2変圧器の二次側出力電圧との和を出力する第1出力ポートP
C
と、前記第1変圧器の二次側出力電圧と前記第2変圧器の二次側出力電圧との差を出力する第2出力ポートP
D
と、を有する。
【選択図】図1
特許請求の範囲
【請求項1】
DC/DC変換を行う電力変換装置であって、
第1変圧器および第2変圧器を有する変圧器ユニットを備え、
前記変圧器ユニットは、
前記第1変圧器の一次側入力を行うための第1入力ポートと、
前記第2変圧器の一次側入力を行うための第2入力ポートと、
前記第1変圧器の二次側出力電圧と前記第2変圧器の二次側出力電圧との和を出力する第1出力ポートと、
前記第1変圧器の二次側出力電圧と前記第2変圧器の二次側出力電圧との差を出力する第2出力ポートと、を有することを特徴とする電力変換装置。
続きを表示(約 1,200 文字)
【請求項2】
前記変圧器ユニットは、前記第1入力ポートへの入力と前記第2入力ポートへの入力との位相差に応じて、前記第1出力ポートと前記第2出力ポートとの出力比率が変化するように構成されている、ことを特徴とする請求項1に記載の電力変換装置。
【請求項3】
前記変圧器ユニットは、前記第1入力ポートおよび前記第2入力ポートへの入力のデューティ比または動作周波数に応じて、前記第1出力ポートおよび前記第2出力ポートからの出力の大きさが変化するように構成されている、ことを特徴とする請求項1又は2に記載の電力変換装置。
【請求項4】
第1接点を介して2つの第1スイッチ素子が直列接続されて成る第1レグと、第2接点を介して2つの第2スイッチ素子が直列接続されて成る第2レグとを有する一次側回路を更に備え、
前記第1接点からの出力が前記第1入力ポートに入力され、前記第2接点からの出力が前記第2入力ポートに入力される、ことを特徴とする請求項1又は2に記載の電力変換装置。
【請求項5】
前記第1レグの各第1スイッチ素子および前記第2レグの各第2スイッチ素子の制御により、前記第1出力ポートおよび前記第2出力ポートからの出力が制御される、ことを特徴とする請求項4に記載の電力変換装置。
【請求項6】
前記第1レグの各第1スイッチ素子および前記第2レグの各第2スイッチ素子を制御する制御部を更に備える、ことを特徴とする請求項5に記載の電力変換装置。
【請求項7】
前記第1出力ポートから出力された電力を第1負荷に伝送する第1二次側回路と、
前記第2出力ポートから出力された電力を第2負荷に伝送する第2二次側回路と、
を更に備えることを特徴とする請求項1又は2に記載の電力変換装置。
【請求項8】
前記第1二次側回路および前記第2二次側回路の各々は、ダイオードブリッジ回路を有する、ことを特徴とする請求項7に記載の電力変換装置。
【請求項9】
前記第1入力ポートの端子には、前記第1変圧器の一次側巻線が接続されており、
前記第2入力ポートの端子には、前記第2変圧器の一次側巻線が接続されている、
ことを特徴とする請求項1又は2に記載の電力変換装置。
【請求項10】
前記第1変圧器および前記第2変圧器の各々は、2つの二次側巻線を有し、
前記第1出力ポートの端子には、前記第1変圧器における2つの二次側巻線の一方と前記第2変圧器における2つの二次側巻線の一方とが互いに同じ極性で直列接続されており、
前記第2出力ポートの端子には、前記第1変圧器における2つの二次側巻線の他方と前記第2変圧器における2つの二次側巻線の他方とが互いに異なる極性で直列接続されている、
ことを特徴とする請求項1又は2に記載の電力変換装置。
(【請求項11】以降は省略されています)
発明の詳細な説明
【技術分野】
【0001】
本発明は、電力変換装置に関する。
続きを表示(約 1,900 文字)
【背景技術】
【0002】
近年、より多くの人々が手ごろで信頼でき、持続可能かつ先進的なエネルギーへのアクセスを確保できるようにするため、エネルギーの効率化に貢献する二次電池に関する研究開発が行われている。1つの電源から複数の機器(負荷)に電力伝送を行う場合、複数の機器への電力伝送を制御するために複数のDC/DCコンバータを接続する方法が考えられる。非特許文献1には、各コンバータの出力側(二次側)に複数のアクティブスイッチ素子を設けて各出力ポートの電力制御を行う方法が提案されている。
【先行技術文献】
【非特許文献】
【0003】
L. Wang, H. Wang, B. Xue and M. Zhou,「H5-Bridge-Based Single-Input-Dual-Output LLC Converter With Wide Output Voltage Range」, IEEE Transactions on Industrial Electronics, vol. 69, no. 7, pp. 7008-7018, July 2022
【発明の概要】
【発明が解決しようとする課題】
【0004】
非特許文献1に提案されているようにフルブリッジ構成のLLCコンバータを用いると、少なくとも8個のアクティブスイッチ素子(アクティブパワーデバイス)が必要となる。また、蓄電池のような出力電力に制限がある電源を用いる場合、各コンバータの定格を電源の定格に合わせる必要があるため、設備利用率の低下を招きうる。
【0005】
そこで、本発明は、1つの電源から複数の負荷への電力伝送を、効率低下を抑制しつつ簡素な構成で電力変換することが可能な技術を提供することを目的とする。そして、延いてはエネルギー効率の改善に寄与するものである。
【課題を解決するための手段】
【0006】
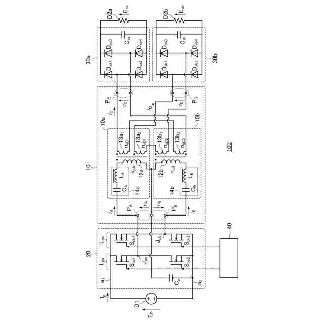
上記目的を達成するために、本発明の一側面としての電力変換装置は、DC/DC変換を行う電力変換装置であって、第1変圧器および第2変圧器を有する変圧器ユニットを備え、前記変圧器ユニットは、前記第1変圧器の一次側入力を行うための第1入力ポートと、前記第2変圧器の一次側入力を行うための第2入力ポートと、前記第1変圧器の二次側出力電圧と前記第2変圧器の二次側出力電圧との和を出力する第1出力ポートと、前記第1変圧器の二次側出力電圧と前記第2変圧器の二次側出力電圧との差を出力する第2出力ポートと、を有することを特徴とする。
【発明の効果】
【0007】
本発明によれば、例えば、1つの電源から複数の負荷への電力伝送を、効率低下を抑制しつつ簡素な構成で電力変換することが可能な技術を提供することができる。
【図面の簡単な説明】
【0008】
本発明に係る一実施形態の電力変換装置の構成例を示す回路図
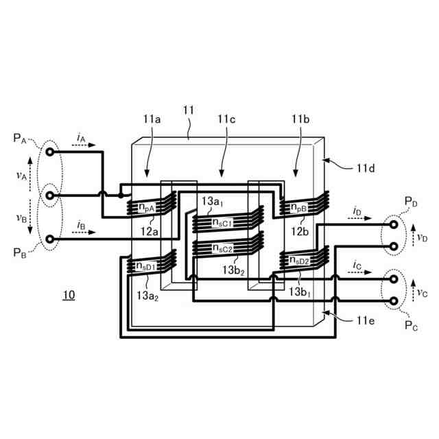
本発明に係る一実施形態の変圧器ユニットの構成例を示す模式図
変圧器ユニットのコア内に生じる磁束を説明するための図
位相差φ
AB
を0radとした場合における各入力ポートへの入力および各出力ポートからの出力を示す図
位相差φ
AB
をπradとした場合における各入力ポートへの入力および各出力ポートからの出力を示す図
電力変換装置の第1動作例を示す図
電力変換装置の第2動作例を示す図
電力変換装置の各ポートの入出力制御を説明するための概念図
【発明を実施するための形態】
【0009】
以下、本発明の実施形態について図を参照しながら説明する。本発明は、以下の実施形態に限定されるものではなく、本発明の趣旨の範囲内での構成の変更や変形も含む。また、本実施形態で説明されている特徴の組み合わせの全てが本発明に必須のものとは限らない。なお、同一の構成要素には同一の参照番号を付して、その説明を省略する。
【0010】
本発明に係る一実施形態の電力変換装置100について説明する。本実施形態の電力変換装置100は、1つの電源D1から複数の負荷D2(機器)に電力を伝送するための電圧変換(DC/DC変換)を行う絶縁型コンバータであり、1つの電源D1から複数の負荷D2への電力伝送を半独立的に行うことができるように構成される。以下では、複数の負荷D2として、第1負荷D2aおよび第2負荷D2bを例示して説明する。
(【0011】以降は省略されています)
この特許をJ-PlatPat(特許庁公式サイト)で参照する
関連特許
本田技研工業株式会社
車両
18日前
本田技研工業株式会社
車両
17日前
本田技研工業株式会社
車両
10日前
本田技研工業株式会社
車両
17日前
本田技研工業株式会社
車両
18日前
本田技研工業株式会社
移動体
19日前
本田技研工業株式会社
飛行体
18日前
本田技研工業株式会社
排気装置
17日前
本田技研工業株式会社
収容装置
18日前
本田技研工業株式会社
触媒装置
13日前
本田技研工業株式会社
ステータ
24日前
本田技研工業株式会社
内燃機関
18日前
本田技研工業株式会社
電気機器
19日前
本田技研工業株式会社
切断装置
24日前
本田技研工業株式会社
内燃機関
17日前
本田技研工業株式会社
固体電池
17日前
本田技研工業株式会社
清掃装置
18日前
本田技研工業株式会社
電気機器
19日前
本田技研工業株式会社
排気装置
17日前
本田技研工業株式会社
除草装置
17日前
本田技研工業株式会社
発電セル
17日前
本田技研工業株式会社
排気装置
17日前
本田技研工業株式会社
二次電池
13日前
本田技研工業株式会社
固体電池
13日前
本田技研工業株式会社
電気部品
18日前
本田技研工業株式会社
保持装置
25日前
本田技研工業株式会社
電気機器
18日前
本田技研工業株式会社
エンジン
18日前
本田技研工業株式会社
電気機器
18日前
本田技研工業株式会社
固体電池
19日前
本田技研工業株式会社
制御装置
17日前
本田技研工業株式会社
会話装置
24日前
本田技研工業株式会社
全固体電池
19日前
本田技研工業株式会社
鞍乗型車両
17日前
本田技研工業株式会社
全固体電池
13日前
本田技研工業株式会社
電極積層体
17日前
続きを見る
他の特許を見る