TOP
|
特許
|
意匠
|
商標
特許ウォッチ
Twitter
他の特許を見る
公開番号
2025156211
公報種別
公開特許公報(A)
公開日
2025-10-14
出願番号
2025054269
出願日
2025-03-27
発明の名称
発光装置及び光学機器
出願人
学校法人東京理科大学
代理人
弁理士法人太陽国際特許事務所
主分類
A61B
1/07 20060101AFI20251002BHJP(医学または獣医学;衛生学)
要約
【課題】複数の所望の波長の光を選択的に適時に取り出し得る発光装置及び光学機器を提供する。
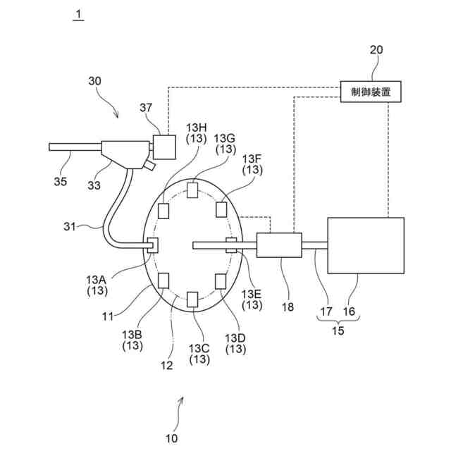
【解決手段】発光装置10は、複数の光源13と、複数の光源13を支持する支持部材11と、支持部材11を動かす移動装置15とを備える。複数の光源13は、相互に異なる特定の範囲の波長の光を発する2以上の光源を含み、移動装置15が、回転軸線まわりに回転するシャフト17を有する電動モータで構成され、支持部材11は、シャフト17に直接又は間接的に取り付けられており、複数の光源13は、支持部材11の回転中心を中心とする仮想円周12上に配置されている。光学機器1は、発光装置10と、複数の光源13のうち、選択された光源13から発せられた光を取り入れる光導体31とを備える。別の光学機器は、複数の光源13、光源支持部材11、光導体31、光導体支持部材、光源支持部材11及び/又は光導体支持部材を動かす移動装置15を備える。
【選択図】図1
特許請求の範囲
【請求項1】
複数の光源と、
前記複数の光源を支持する支持部材と、
前記支持部材を動かす移動装置と、を備え、
前記複数の光源は、相互に異なる特定の範囲の波長の光を発する2以上の光源を含み、
前記移動装置が、回転軸線まわりに回転するシャフトを有する電動モータを含んで構成され、
前記支持部材は、前記シャフトに直接又は間接的に取り付けられており、
前記複数の光源は、前記支持部材の回転中心を中心とする仮想円周上に配置されている、
発光装置。
続きを表示(約 820 文字)
【請求項2】
前記複数の光源のうち、選択された光源を、あらかじめ決められた発光位置に合わせるように、前記移動装置を制御する制御装置を備える、
請求項1に記載の発光装置。
【請求項3】
請求項1又は請求項2に記載の発光装置と、
前記複数の光源のうち、選択された光源から発せられた光を取り入れる光導体と、を備える、
光学機器。
【請求項4】
複数の光源であって、相互に異なる特定の範囲の波長の光を発する2以上の光源を含む、複数の光源と、
前記複数の光源を支持する光源支持部材と、
前記複数の光源のうち、選択された光源から発せられた光を取り入れる光導体と、
前記光導体を支持する光導体支持部材と、
前記光源支持部材及び前記光導体支持部材の少なくとも一方を動かす移動装置と、
前記複数の光源のうち、選択された光源を、前記光導体の入光位置に合わせるように、前記移動装置を制御する制御装置と、を備える、
光学機器。
【請求項5】
複数の前記選択された光源から発せられた光を取り入れることができるように、前記光導体を複数有する、
請求項3に記載の光学機器。
【請求項6】
複数の光源と、
前記複数の光源と同数の複数の光導体と、を備え、
前記複数の光源は、相互に異なる特定の範囲の波長の光を発する2以上の光源を含み、
前記複数の光導体は、それぞれ、前記複数の光源のうちの1つの光源から発せられた光を取り入れるように、前記複数の光源に対して個別に対応づけられている、
光学機器。
【請求項7】
前記複数の光源のうち、選択された光源から光を発するように、前記複数の光源のそれぞれのオンオフを制御する制御装置を備える、
請求項6に記載の光学機器。
発明の詳細な説明
【技術分野】
【0001】
本開示は発光装置及び光学機器に関する。
続きを表示(約 1,000 文字)
【背景技術】
【0002】
分光測定装置等において、所定の波長の光を取り出す構成として、波長可変フィルター、ダイクロイックミラー、及び/又はバンドパスフィルター等を用いるものがある(例えば、特許文献1参照。)。
【先行技術文献】
【特許文献】
【0003】
特許第6194673号公報
【発明の概要】
【発明が解決しようとする課題】
【0004】
しかしながら、波長可変フィルター、ダイクロイックミラー、又はバンドパスフィルターを用いる構成は、採用する構成によって、取り出す光の波長レンジや波長数に制限がある場合や、高強度の単色光を取り出すのが困難な場合があった。
【0005】
本開示は上述の課題に鑑み、複数の所望の波長の光を選択的に適時に取り出し得る発光装置及び光学機器を提供することに関する。
【課題を解決するための手段】
【0006】
本開示の第1の態様に係る発光装置は、複数の光源と、前記複数の光源を支持する支持部材と、前記支持部材を動かす移動装置と、を備え、前記複数の光源は、相互に異なる特定の範囲の波長の光を発する2以上の光源を含み、前記移動装置が、回転軸線まわりに回転するシャフトを有する電動モータを含んで構成され、前記支持部材は、前記シャフトに直接又は間接的に取り付けられており、前記複数の光源は、前記支持部材の回転中心を中心とする仮想円周上に配置されている。
【0007】
このように構成すると、支持部材を動かすことで、支持部材が支持する複数の光源のうちの所望の光の光源を所望の位置に移動させて発することができる。
【0008】
また、本開示の第2の態様に係る発光装置は、上記本開示の第1の態様に係る発光装置において、前記複数の光源のうち、選択された光源を、あらかじめ決められた発光位置に合わせるように、前記移動装置を制御する制御装置を備える。
【0009】
このように構成すると、どの波長の光をどのタイミングで発するかを自動で制御することができる。
【0010】
また、本開示の第3の態様に係る光学機器は、上記本開示の第1の態様又は第2の態様に係る発光装置と、前記複数の光源のうち、選択された光源から発せられた光を取り入れる光導体と、を備える。
(【0011】以降は省略されています)
この特許をJ-PlatPat(特許庁公式サイト)で参照する
関連特許
学校法人東京理科大学
発光装置及び光学機器
11日前
学校法人東京理科大学
複合材料及び複合材料の製造方法
3か月前
本田技研工業株式会社
電力変換装置
2か月前
本田技研工業株式会社
電力変換装置
2か月前
学校法人順天堂
IgA腎症予防治療薬
3か月前
株式会社熊谷組
建物構造体の変位抑制装置
15日前
本田技研工業株式会社
変圧器、および電力変換装置
2か月前
学校法人東京理科大学
金属錯体粒子、電極、電池、及び金属錯体粒子の製造方法
1か月前
本田技研工業株式会社
変圧器ユニット、および電力変換装置
2か月前
太平洋セメント株式会社
セメント組成物
1か月前
日本電気株式会社
学習装置、推定システム、学習方法およびプログラム
1か月前
学校法人東京理科大学
情報処理装置、情報処理システム、情報処理方法、及び情報処理プログラム
2か月前
国立大学法人北海道大学
カンナビノイド類を検査する検査キット及び検査方法
3か月前
学校法人東京理科大学
ダイヤモンド電極の製造方法、ダイヤモンド電極、電解処理装置、及びオゾン生成装置
1か月前
学校法人東京理科大学
銅クラスター、二酸化炭素還元用電極、二酸化炭素還元装置及びメタノールの製造方法
2か月前
国立大学法人高知大学
核酸送達促進剤
1か月前
学校法人東京理科大学
抗線維化作用を有する低分子化合物と免疫チェックポイント制御剤との併用によるがん療法
3日前
NTT株式会社
光伝送システムの異常個所絞り込み装置、および、異常個所絞り込み方法
1か月前
NTT株式会社
光伝送システムにおける伝送品質劣化判定装置、および、伝送品質劣化判定方法
1か月前
学校法人東京理科大学
情報処理装置、表示装置、情報処理システム、遠隔作業システム、情報処理方法、及びプログラム
1か月前
学校法人東京理科大学
イリジウムクラスター、イリジウムクラスターの製造方法、酸素発生電極、水電解装置及び水の電気分解方法
3か月前
学校法人東京理科大学
ダイヤモンド電極形成用組成物、ダイヤモンド電極の製造方法、ダイヤモンド電極、電解処理装置、及びオゾン生成装置
1か月前
国立大学法人電気通信大学
乱流予測装置、乱流予測方法、乱流予測プログラム、乱流制御システム、乱流制御方法、および乱流制御プログラム
3か月前
個人
健康器具
8か月前
個人
短下肢装具
3か月前
個人
鼾防止用具
8か月前
個人
白内障治療法
7か月前
個人
脈波測定方法
8か月前
個人
脈波測定方法
8か月前
個人
嚥下鍛錬装置
3か月前
個人
洗井間専家。
7か月前
個人
排尿補助器具
11日前
個人
前腕誘導装置
3か月前
個人
歯の修復用材料
4か月前
個人
ホバーアイロン
6か月前
個人
矯正椅子
4か月前
続きを見る
他の特許を見る