TOP
|
特許
|
意匠
|
商標
特許ウォッチ
Twitter
他の特許を見る
公開番号
2025127031
公報種別
公開特許公報(A)
公開日
2025-09-01
出願番号
2024023500
出願日
2024-02-20
発明の名称
光伝送システムにおける伝送品質劣化判定装置、および、伝送品質劣化判定方法
出願人
NTT株式会社
,
学校法人東京理科大学
代理人
弁理士法人磯野国際特許商標事務所
主分類
H04B
10/079 20130101AFI20250825BHJP(電気通信技術)
要約
【課題】光伝送システムにおいて伝送品質劣化判定の誤りや漏れを防止すること。
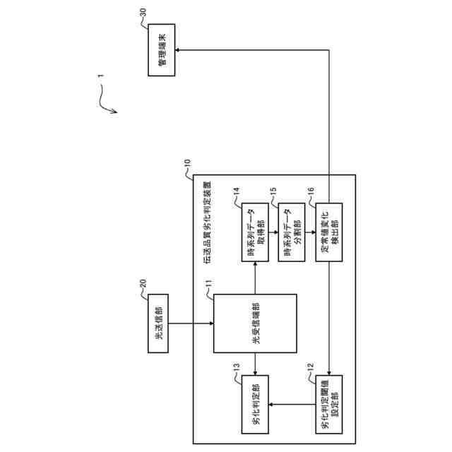
【解決手段】光伝送システムにおける伝送品質劣化判定装置10は、劣化判定閾値設定部12と、受信した光信号の伝送品質劣化を判定する劣化判定部13と、受信した光信号の伝送品質データを含む1または複数種類の時系列データを取得する時系列データ取得部14と、時系列データを左窓および右窓に分割し、左窓、右窓および全窓それぞれの時系列データのばらつき指標を算出する時系列データ分割部15と、それぞれの時系列データのばらつき指標の相互の関係によって、取得した時系列データの定常値の変化有無を判定する関係式に基づき、取得した時系列データの定常値の変化があると判定した場合、劣化判定閾値の再設定を劣化判定閾値設定部12に指示する定常値変化検出部16とを備える。
【選択図】図1
特許請求の範囲
【請求項1】
劣化判定閾値を設定する劣化判定閾値設定部と、
光受信端部で受信した光信号について前記劣化判定閾値に基づいて伝送品質劣化を判定する劣化判定部と、
前記光受信端部で受信した光信号の伝送品質データを含む1または複数種類の時系列データを取得する時系列データ取得部と、
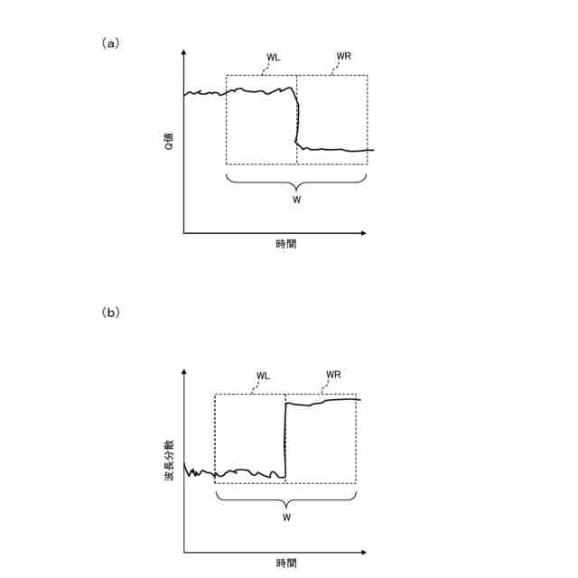
取得したデータ種別に、取得した時系列データの所定領域を1つの時間窓で選択し、所定時刻を境界に前記時間窓を第1時間窓および第2時間窓に分割し、前記第1時間窓内に配置される第1時系列データと、前記第2時間窓内に配置される第2時系列データと、分割前に選択された時間窓に配置された第3時系列データとについて、それぞれの時系列データのばらつき指標を算出する時系列データ分割部と、
それぞれの時系列データのばらつき指標の相互の関係によって前記取得した時系列データの定常値の変化有無を判定する予め定められた関係式に基づき、前記取得した時系列データの定常値の変化があると判定した場合、劣化判定閾値の再設定を前記劣化判定閾値設定部に指示する定常値変化検出部と
を備えることを特徴とする光伝送システムにおける伝送品質劣化判定装置。
続きを表示(約 920 文字)
【請求項2】
前記定常値変化検出部は、
取得したデータ種別に、前記第3時系列データのばらつき指標から、前記第1時系列データのばらつき指標および前記第2時系列データのばらつき指標を差し引いて求めた差分値が、予め定められた定常値変化閾値以上であるか否かを判別し、
取得したいずれか1種類の時系列データにおいて、前記差分値が定常値変化閾値以上であるときに、前記取得した時系列データの定常値の変化があると判定する
ことを特徴とする請求項1に記載の光伝送システムにおける伝送品質劣化判定装置。
【請求項3】
前記定常値変化検出部は、前記取得した時系列データの定常値の変化があると判定した場合、定常値変化を検知したことを管理端末へ通知する
ことを特徴とする請求項1または請求項2に記載の光伝送システムにおける伝送品質劣化判定装置。
【請求項4】
光伝送システムにおける伝送品質劣化判定装置の伝送品質劣化判定方法であって、
前記伝送品質劣化判定装置は、
劣化判定閾値を設定する工程と、
光受信端部で受信した光信号について前記劣化判定閾値に基づいて伝送品質劣化を判定する工程と、
前記光受信端部で受信した光信号の伝送品質データを含む1または複数種類の時系列データを取得する工程と、
取得したデータ種別に、取得した時系列データの所定領域を1つの時間窓で選択し、所定時刻を境界に前記時間窓を第1時間窓および第2時間窓に分割し、前記第1時間窓内に配置される第1時系列データと、前記第2時間窓内に配置される第2時系列データと、分割前に選択された時間窓に配置された第3時系列データとについて、それぞれの時系列データのばらつき指標を算出する工程と、
それぞれの時系列データのばらつき指標の相互の関係によって前記取得した時系列データの定常値の変化有無を判定する予め定められた関係式に基づき、前記取得した時系列データの定常値の変化があると判定した場合、劣化判定閾値の再設定を指示する工程と、
を実行することを特徴とする伝送品質劣化判定方法。
発明の詳細な説明
【技術分野】
【0001】
本発明は、光伝送システムにおける伝送品質劣化判定装置、および、伝送品質劣化判定方法に関する。
続きを表示(約 2,200 文字)
【背景技術】
【0002】
光伝送システムでは、一般に光受信器において前方誤り訂正処理(FEC:Forward Error Collection)を用いて補正を行っている。FEC前のBit Error Rate(Pre FEC BER)から換算により求めたQ値は、光伝送の品質を評価する最も重要な指標(伝送品質指標)の1つとなっている。光信号の様々な劣化や光信号がノイズの影響を受けることで、Q値は低下する。Q値が、FECで補正できる限界を下回ると、パケットロス等の通信サービスへの影響が生じてしまう。
【0003】
図9は、伝送品質データ(Q値)の一例を示す模式図である。グラフの横軸は時間を示し、縦軸はQ値(dB)を示す。なお、縦軸のQ値(dB)は15分間の平均値で示し、横軸の範囲は例えば数時間、数日あるいは数十日を示している。時刻t1,t2,t3には、Q値の定常値から大きく低下したQ値データが計測されている。このようにQ値が一時的に急落し、回復する現象は、Q-dropと呼ばれている。Q-dropが生じると、故障予兆の可能性があることが知られている。この例では、時刻t4で故障が発生し、その後、補正限界(Q-limit)を下回ることが分かる。
【0004】
従来、Q値の異常な変化(閾値を下回ったかどうか)を検出する技術が提案されている。例えば非特許文献1,2には、光パスごとの伝送品質のばらつきの違いを考慮した劣化判定方式が記載されている。この劣化判定方式では、Q-dropか否かを判定するための閾値(劣化判定閾値ThSF)を下記の式(101)に基づいて決定する。
【0005】
ThSF=<Q>-kσ … 式(101)
【0006】
ここで、<Q>はQ値の平均であり、σはQ値の標準偏差であり、kは正の定数である。定数kとしては例えばk=4が用いられる。
また、例えば非特許文献3には、2つの時刻間のQ値の差分を用いてQ-dropを検出する方式が記載されている。
【先行技術文献】
【非特許文献】
【0007】
C. Delezoide et al. ,“Pre-Emptive Detection and Localization of Failures Towards Marginless Operations of Optical Networks,”2018 20th International Conference on Transparent Optical Networks (ICTON), We.D2.3.
Alba P. Vela et al. ,“Early Pre-FEC BER Degradation Detection to Meet Committed QoS,” Optical Fiber Communication Conference, January 2017, DOI:10.1364/OFC.2017.W4F.3
渡邉紘平、外6名、「光伝送システムの受信端品質データの一階差分系列データを用いた故障予兆検知方式の提案」、電子情報通信学会大会講演論文集(CD-ROM)、日本、2023年02月28日、巻:2023、号:総合大会、ページ:ROMBUNNO.B-6-55
【発明の概要】
【発明が解決しようとする課題】
【0008】
従来技術においては、Q値の定常値が閾値を下回った場合に、Q値の異常な変化を検出している。しかしながら、光パスの経路変更等の伝送条件が変化すると、Q値の定常値は変化してしまう。そのため、従来技術では、経路変更等によりQ値の定常値が変化するタイミングで、伝送品質劣化判定の誤りや漏れが生じてしまう。
【0009】
そこで、本発明では、上記の問題を解決し、光伝送システムにおいて伝送品質劣化判定の誤りや漏れを防止することを課題とする。
【課題を解決するための手段】
【0010】
本発明に係る光伝送システムにおける伝送品質劣化判定装置は、劣化判定閾値を設定する劣化判定閾値設定部と、光受信端部で受信した光信号について前記劣化判定閾値に基づいて伝送品質劣化を判定する劣化判定部と、前記光受信端部で受信した光信号の伝送品質データを含む1または複数種類の時系列データを取得する時系列データ取得部と、取得したデータ種別に、取得した時系列データの所定領域を1つの時間窓で選択し、所定時刻を境界に前記時間窓を第1時間窓および第2時間窓に分割し、前記第1時間窓内に配置される第1時系列データと、前記第2時間窓内に配置される第2時系列データと、分割前に選択された時間窓に配置された第3時系列データとについて、それぞれの時系列データのばらつき指標を算出する時系列データ分割部と、それぞれの時系列データのばらつき指標の相互の関係によって前記取得した時系列データの定常値の変化有無を判定する予め定められた関係式に基づき、前記取得した時系列データの定常値の変化があると判定した場合、劣化判定閾値の再設定を前記劣化判定閾値設定部に指示する定常値変化検出部とを備えることを特徴とする。
【発明の効果】
(【0011】以降は省略されています)
この特許をJ-PlatPat(特許庁公式サイト)で参照する
関連特許
NTT株式会社
計算装置
12日前
NTT株式会社
復号装置及び復号方法
26日前
NTT株式会社
情報処理装置、及び情報処理方法
20日前
NTT株式会社
情報処理装置、及び情報処理方法
20日前
NTT株式会社
通信システム、方法及びプログラム
26日前
NTT株式会社
通信システム、方法及びプログラム
26日前
NTT株式会社
評価装置、評価方法およびプログラム
8日前
NTT株式会社
量子鍵配送システム及び量子鍵配送方法
21日前
NTT株式会社
座屈剥離構造の予測装置および予測方法
26日前
NTT株式会社
電子署名システム、方法及びプログラム
26日前
NTT株式会社
微生物の土壌中での生存性を調節する方法
21日前
NTT株式会社
測定装置、測定方法、及び、測定プログラム
22日前
NTT株式会社
推定装置、復元装置、推定方法、およびプログラム
19日前
NTT株式会社
情報処理システム、情報処理装置および情報処理方法
27日前
NTT株式会社
組合せ最適化方法、組合せ最適化装置、及びプログラム
1か月前
NTT株式会社
伝搬グラフ復元装置、伝搬グラフ復元方法、及びプログラム
26日前
NTT株式会社
連続発話推定方法、連続発話推定装置、およびプログラム
7日前
NTT株式会社
文生成装置、文生成学習装置、文生成方法、文生成学習方法及びプログラム
14日前
個人
イヤーマフ
5日前
個人
監視カメラシステム
14日前
キーコム株式会社
光伝送線路
15日前
サクサ株式会社
中継装置
20日前
WHISMR合同会社
収音装置
1か月前
サクサ株式会社
中継装置
21日前
個人
スキャン式車載用撮像装置
14日前
キヤノン株式会社
撮像装置
2か月前
アイホン株式会社
電気機器
1か月前
キヤノン電子株式会社
画像読取装置
1か月前
株式会社リコー
画像形成装置
7日前
株式会社リコー
画像形成装置
2か月前
サクサ株式会社
無線システム
19日前
株式会社リコー
画像形成装置
2か月前
サクサ株式会社
無線通信装置
20日前
サクサ株式会社
無線通信装置
20日前
個人
ワイヤレスイヤホン対応耳掛け
1か月前
株式会社リコー
画像形成装置
1か月前
続きを見る
他の特許を見る