TOP
|
特許
|
意匠
|
商標
特許ウォッチ
Twitter
他の特許を見る
公開番号
2025132030
公報種別
公開特許公報(A)
公開日
2025-09-10
出願番号
2024029332
出願日
2024-02-29
発明の名称
サポートプログラム
出願人
ブラザー工業株式会社
代理人
主分類
G06F
3/12 20060101AFI20250903BHJP(計算;計数)
要約
【課題】OS標準の汎用印刷プログラムが組み込まれた情報処理装置において、データの圧縮にかかるサポートプログラムの負担を軽減すること。
【解決手段】PC1は、OS標準の汎用印刷プログラム41と、プリンタ2に対応する補助プログラム42とが組み込まれている。補助プログラム42は、編集アプリ43から汎用印刷プログラム41に対して印刷対象の画像を印刷する印刷指示があった場合、縮小処理を伴う印刷設定に基づく圧縮条件を決定し、決定した圧縮条件に基づく圧縮を、汎用印刷プログラム41に指示する。補助プログラム42は、圧縮条件による圧縮がされた中間データを汎用印刷プログラム41から取得する。補助プログラム42は、取得した中間データから生成された印刷データを、プリンタ2に行わせるための処理を行う。
【選択図】 図2
特許請求の範囲
【請求項1】
情報処理装置のコンピュータによって実行可能であり、前記情報処理装置と接続するプリンタに対応するサポートプログラムであって、前記情報処理装置には、汎用印刷プログラムを有するオペレーティングシステムが搭載されており、
前記サポートプログラムは、前記コンピュータに、
前記情報処理装置に組み込まれているアプリケーションプログラムから出力された印刷指示であって、前記汎用印刷プログラムに対して画像の印刷を前記プリンタに行わせる前記印刷指示があった場合に、
前記印刷指示による印刷の印刷設定に縮小処理を伴う印刷設定が含まれている場合、当該縮小処理を伴う印刷設定に基づく圧縮条件を決定する決定処理と、
前記決定処理にて決定された前記圧縮条件による圧縮を、前記汎用印刷プログラムに指示する指示処理と、
前記印刷指示による印刷対象の前記画像を示す中間データを取得する取得処理であって、前記指示処理にて指示された前記圧縮条件による圧縮がなされた前記中間データを汎用印刷プログラムから取得する、前記取得処理と、
前記取得処理にて取得された前記中間データから生成された印刷データに基づく印刷を前記プリンタに行わせるための処理を行う印刷処理と、
を実行させる、
ように構成されるサポートプログラム。
続きを表示(約 1,000 文字)
【請求項2】
請求項1に記載されるサポートプログラムにおいて、
前記縮小処理を伴う印刷設定は用紙の1面に集約印刷される頁数の設定を含む、
ように構成されるサポートプログラム。
【請求項3】
請求項2に記載されるサポートプログラムにおいて、
前記決定処理では、前記用紙の1面に集約印刷される頁数が大きいほど高い圧縮率が決定される、
ように構成されるサポートプログラム。
【請求項4】
請求項1に記載されるサポートプログラムにおいて、
前記縮小処理を伴う印刷設定は小冊子印刷の設定を含む、
ように構成されるサポートプログラム。
【請求項5】
請求項1から請求項4のいずれかに記載されるサポートプログラムにおいて、
前記サポートプログラムは、前記コンピュータに、
印刷品質を受け付ける印刷品質受付処理を実行させ、
前記決定処理では、前記縮小処理を伴う印刷設定と、前記印刷品質受付処理にて受け付けた前記印刷品質と、に基づき前記圧縮条件が決定される、
ように構成されるサポートプログラム。
ように構成されるサポートプログラム。
【請求項6】
請求項1から請求項4のいずれかに記載されるサポートプログラムにおいて、
前記決定処理では、前記印刷指示による前記印刷設定に、印刷コンテンツの種類がテキストであることを示すパラメータが設定されている場合に、前記圧縮条件を圧縮しないとの条件に決定する、
ように構成されるサポートプログラム。
【請求項7】
請求項6に記載されるサポートプログラムにおいて、
前記決定処理で決定された前記圧縮条件が前記圧縮しないとの条件である場合、前記指示処理を行うことなく前記汎用印刷プログラムから圧縮処理がされていない中間データが取得される、
ように構成されるサポートプログラム。
【請求項8】
請求項1から請求項4のいずれかに記載されるサポートプログラムにおいて、
前記サポートプログラムは、前記コンピュータに、
前記圧縮条件による圧縮がされた前記中間データを前記印刷設定に基づき編集する編集処理、
を実行させるように構成されるサポートプログラム。
発明の詳細な説明
【技術分野】
【0001】
本明細書に開示される技術分野は、プリンタの制御をサポートするサポートプログラムに関する。
続きを表示(約 2,000 文字)
【背景技術】
【0002】
近年、プリンタベンダから提供されるプリンタドライバを利用せず、オペレーティングシステム(OS)の一部を構成するOS標準の汎用印刷プログラムによってプリンタを制御する技術が実用化されている。この技術では、OSがプリンタを検知するとOS標準の汎用印刷プログラムとの関連付けを行い、以後、そのプリンタに対する印刷指示を受け付けた場合に、プリンタベンダから提供されるプリンタドライバを用いずに、OS標準の汎用印刷プログラムが印刷データを生成することで、OS標準の汎用印刷プログラムによる印刷が可能になる。
【0003】
OS標準の汎用印刷プログラムに関連する技術を開示した文献としては、例えば特許文献1がある。特許文献1には、汎用印刷プログラムをサポートするサポートプログラムであって、集約印刷(Nin1印刷)を実現するための処理が開示されている。
【先行技術文献】
【特許文献】
【0004】
特開2023-049478号公報
【発明の概要】
【発明が解決しようとする課題】
【0005】
特許文献1には、サポートプログラムが汎用印刷プログラムから中間データを受けて、受けた中間データを用いて集約印刷が実現される。ここで汎用印刷プログラムからサポートプログラムが取得する中間データが、縮小処理を伴う集約印刷をする場合と集約印刷をしない場合と同様なデータであると、当該中間データは縮小処理を伴う集約印刷をする場合にはオーバースペックであり、サポートプログラムの負荷が高くなる可能性がある。
【課題を解決するための手段】
【0006】
上述した課題の解決を目的としてなされたサポートプログラムは、情報処理装置のコンピュータによって実行可能であり、前記情報処理装置と接続するプリンタに対応するサポートプログラムであって、前記情報処理装置には、汎用印刷プログラムを有するオペレーティングシステムが搭載されており、前記サポートプログラムは、前記コンピュータに、前記情報処理装置に組み込まれているアプリケーションプログラムから出力された印刷指示であって、前記汎用印刷プログラムに対して画像の印刷を前記プリンタに行わせる前記印刷指示があった場合に、前記印刷指示による印刷の印刷設定に縮小処理を伴う印刷設定が含まれている場合、当該縮小処理を伴う印刷設定に基づく圧縮条件を決定する決定処理と、前記決定処理にて決定された前記圧縮条件による圧縮を、前記汎用印刷プログラムに指示する指示処理と、前記印刷指示による印刷対象の前記画像を示す中間データを取得する取得処理であって、前記指示処理にて指示された前記圧縮条件による圧縮がされた前記中間データを前記汎用印刷プログラムから取得する、前記取得処理と、前記取得処理にて取得された前記中間データから生成された印刷データに基づく印刷を前記プリンタに行わせるための処理を行う印刷処理と、を実行させる、ように構成されている。
【0007】
上記構成を有するサポートプログラムは、印刷指示による印刷の印刷設定に縮小処理を伴う印刷設定が含まれている場合、当該縮小処理を伴う印刷設定に基づいて、中間データを圧縮する圧縮処理に関する圧縮条件を決定し、汎用印刷プログラムに中間データの圧縮を指示する。サポートプログラムは、圧縮条件による圧縮がされた中間データを、汎用印刷プログラムから取得する。サポートプログラムは、取得した中間データから生成された印刷データに基づく印刷をプリンタに行わせる。このようなサポートプログラムによれば、汎用印刷プログラムによる圧縮機能を活用できるとともに、サポートプログラムが中間データを圧縮する場合と比較して、サポートプログラムの処理がシンプルになり、サポートプログラムの負荷が軽減される。
【0008】
上記サポートプログラムの機能を実現するための装置、制御方法、および当該サポートプログラムを格納するコンピュータにて読取可能な記憶媒体も、新規で有用である。
【発明の効果】
【0009】
本明細書に開示される技術によれば、OS標準の汎用印刷プログラムが組み込まれた情報処理装置において、縮小処理を伴う印刷設定にかかるサポートプログラムの負担を軽減する技術が実現される。
【図面の簡単な説明】
【0010】
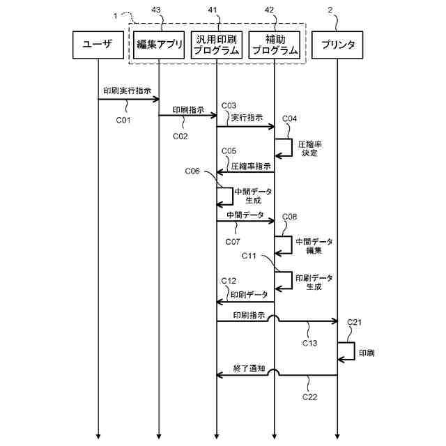
PCの電気的構成の概略を示すブロック図である。
印刷設定手順の例を示すシーケンス図である。
圧縮条件の一例を説明する図である。
印刷データを生成する手順の一例を説明するフローチャートである。
【発明を実施するための形態】
(【0011】以降は省略されています)
この特許をJ-PlatPat(特許庁公式サイト)で参照する
関連特許
ブラザー工業株式会社
空調機
12日前
ブラザー工業株式会社
空調機
12日前
ブラザー工業株式会社
空調機
12日前
ブラザー工業株式会社
空調機
12日前
ブラザー工業株式会社
空調機
12日前
ブラザー工業株式会社
カセット
12日前
ブラザー工業株式会社
搬送装置
今日
ブラザー工業株式会社
制御装置
2日前
ブラザー工業株式会社
カセット
12日前
ブラザー工業株式会社
定着装置
14日前
ブラザー工業株式会社
カセット
12日前
ブラザー工業株式会社
カセット
12日前
ブラザー工業株式会社
画像形成装置
20日前
ブラザー工業株式会社
液体吐出装置
6日前
ブラザー工業株式会社
液体吐出装置
6日前
ブラザー工業株式会社
画像形成装置
12日前
ブラザー工業株式会社
画像形成装置
12日前
ブラザー工業株式会社
画像形成装置
2日前
ブラザー工業株式会社
画像形成装置
12日前
ブラザー工業株式会社
画像形成装置
14日前
ブラザー工業株式会社
画像形成装置
6日前
ブラザー工業株式会社
液体吐出ヘッド
14日前
ブラザー工業株式会社
液体吐出ヘッド
13日前
ブラザー工業株式会社
液体吐出ヘッド
13日前
ブラザー工業株式会社
液体吐出ヘッド
2日前
ブラザー工業株式会社
サポートプログラム
5日前
ブラザー工業株式会社
圧電アクチュエータ
13日前
ブラザー工業株式会社
システム及び管理装置
今日
ブラザー工業株式会社
システム及びプログラム
今日
ブラザー工業株式会社
システム及びプログラム
今日
ブラザー工業株式会社
ミシン及びミシン制御方法
20日前
ブラザー工業株式会社
システムおよび画像形成装置
6日前
ブラザー工業株式会社
プリンタ、及び切断ユニット
2日前
ブラザー工業株式会社
システムおよび画像形成装置
6日前
ブラザー工業株式会社
プログラム及び情報処理装置
2日前
ブラザー工業株式会社
システムおよび画像形成装置
6日前
続きを見る
他の特許を見る