TOP
|
特許
|
意匠
|
商標
特許ウォッチ
Twitter
他の特許を見る
10個以上の画像は省略されています。
公開番号
2025130268
公報種別
公開特許公報(A)
公開日
2025-09-08
出願番号
2024027331
出願日
2024-02-27
発明の名称
燃料噴射弁
出願人
Astemo株式会社
代理人
弁理士法人志賀国際特許事務所
主分類
F02M
51/06 20060101AFI20250901BHJP(燃焼機関;熱ガスまたは燃焼生成物を利用する機関設備)
要約
【課題】水素燃料を噴射する燃料噴射弁において、金属製部品の水素燃料による脆化を水素遮蔽膜により抑制すると共に、水素遮蔽膜の耐久性をさらに向上させる。
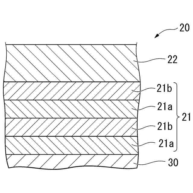
【解決手段】水素燃料を噴射する燃料噴射弁であって、金属によって形成された母材30を有する金属製部品を備え、金属製部品は、母材30の表面のうち他部材が摺動または衝突する他部材接触面を少なくとも覆う水素遮蔽膜20を有し、水素遮蔽膜20は、窒化物を含む第1窒化物含有材からなる第1窒化物含有膜21aと第1窒化物含有材と組成が異なる第2窒化物含有材からなる第2窒化物含有膜21bとが積層されてなる多層膜21と、多層膜21を母材30と反対側から覆うと共に、窒化クロムを含む窒化クロム含有材からなる表面膜22とを有する。
【選択図】図3
特許請求の範囲
【請求項1】
水素燃料を噴射する燃料噴射弁であって、
金属によって形成された母材を有する金属製部品を備え、
前記金属製部品は、前記母材の表面のうち他部材が摺動または衝突する他部材接触面を少なくとも覆う水素遮蔽膜を有し、
前記水素遮蔽膜は、
窒化物を含む第1窒化物含有材からなる第1窒化物含有膜と前記第1窒化物含有材と組成が異なる第2窒化物含有材からなる第2窒化物含有膜とが積層されてなる多層膜と、
前記多層膜を前記母材と反対側から覆うと共に、窒化クロムを含む窒化クロム含有材からなる表面膜と
を有する
ことを特徴とする燃料噴射弁。
続きを表示(約 650 文字)
【請求項2】
前記表面膜は、アルミニウムを含む前記窒化クロム含有材である窒化クロムアルミニウムからなることを特徴とする請求項1記載の燃料噴射弁。
【請求項3】
前記第1窒化物含有膜は、前記窒化物である窒化クロムに加えてアルミニウムを含む前記第1窒化物含有材である窒化クロムアルミニウムからなり、
前記第2窒化物含有膜は、前記窒化物である窒化チタンに加えてシリコンとニオブとを含む前記第2窒化物含有材である窒化チタンシリコンニオブまたは前記窒化物である窒化チタンに加えてモリブデンを含む第2窒化物含有材である窒化チタンモリブデンからなる
ことを特徴とする請求項1または2記載の燃料噴射弁。
【請求項4】
前記金属製部品は、前記母材の表面と前記水素遮蔽膜との間に位置するクロム及び炭素を含むメッキ層を有することを特徴とする請求項1または2記載の燃料噴射弁。
【請求項5】
前記母材は、マルテンサイト系ステンレス鋼からなることを特徴とする請求項1または2記載の燃料噴射弁。
【請求項6】
内部に燃料通路を有する弁ハウジングと、
前記燃料通路の内部で移動される弁体と、
前記弁体を閉姿勢に付勢するスプリングと
を備え、
前記弁ハウジング、前記弁体及び前記スプリングの少なくともいずれかは、前記水素遮蔽膜を有する前記金属製部品である
ことを特徴とする請求項1または2記載の燃料噴射弁。
発明の詳細な説明
【技術分野】
【0001】
本発明は、燃料噴射弁に関するものである。
続きを表示(約 2,200 文字)
【背景技術】
【0002】
例えば、特許文献1には、電磁式燃料噴射弁が開示されている。特許文献1に開示された電磁式燃料噴射弁は、コイルに通電することで磁力を発生するコイルを備える。特許文献1に開示された電磁式燃料噴射弁は、コイルに通電することで生じる磁力を用いて弁体を移動させ、燃料を噴射する。
【先行技術文献】
【特許文献】
【0003】
特許第6788085号公報
【発明の概要】
【発明が解決しようとする課題】
【0004】
ところで、近年においては、水素燃料を用いる内燃機関において、気筒内に対して直接的に水素燃料を噴射供給する直噴式の燃料噴射弁を用いる試みがなされている。特許文献1に開示された燃料噴射弁は、例えばガソリンや軽油等の化石燃料を噴射することを想定している。このような特許文献1に開示された燃料噴射弁を構成する部品は、主に金属製である。しかしながら、水素燃料は、金属を脆化させることが知られている。このため、燃料噴射弁を水素燃料の噴射に応用する場合には、金属製の部品の脆化を抑制する必要がある。
【0005】
このような金属製部品の脆化を抑制するために、金属製部品の母材表面に水素を遮蔽する水素遮蔽膜を設けることが考えられる。ただし、直噴式の燃料噴射弁は、燃料の圧力が高く、さらに高温に晒される。このため、特に部品同士が摺動したり、衝突したりする部位における水素遮蔽膜の耐久性をさらに向上させることが望まれる。
【0006】
本発明は、上述する問題点に鑑みてなされたもので、水素燃料を噴射する燃料噴射弁において、金属製部品の水素燃料による脆化を水素遮蔽膜により抑制すると共に、水素遮蔽膜の耐久性をさらに向上させることを目的とする。
【課題を解決するための手段】
【0007】
本発明は、上記課題を解決するための手段として、以下の構成を採用する。
【0008】
本発明の第1の態様は、水素燃料を噴射する燃料噴射弁であって、金属によって形成された母材を有する金属製部品を備え、上記金属製部品は、上記母材の表面のうち他部材が摺動または衝突する他部材接触面を少なくとも覆う水素遮蔽膜を有し、上記水素遮蔽膜が、窒化物を含む第1窒化物含有材からなる第1窒化物含有膜と上記第1窒化物含有材と組成が異なる第2窒化物含有材からなる第2窒化物含有膜とが積層されてなる多層膜と、上記多層膜を上記母材と反対側から覆うと共に、窒化クロムを含む窒化クロム含有材からなる表面膜とを有するという構成を採用する。
【発明の効果】
【0009】
本発明は、金属製部品が母材の表面を覆うように設けられる水素遮蔽膜を備える。また、本発明では、水素遮蔽膜は、互いに組成が異なる第1窒化物含有膜と第2窒化物含有膜とが積層された多層膜を有する。このような多層膜は、水素の透過を抑制することができる。このため、本発明は、金属製部品の母材に対して水素が接触することを抑制し、金属製部品が脆化されることを抑制できる。さらに、本発明は、多層膜を母材と反対側から覆うと共に、窒化クロムを含む窒化クロム含有材からなる表面膜を有する。表面膜は、窒化クロム含有材からなるため、水素遮蔽膜の摩擦熱の発生を抑制し、水素遮蔽膜の温度上昇による酸化を防止することができる。このような本発明によれば、水素燃料を噴射する燃料噴射弁において、金属製部品の水素燃料による脆化を水素遮蔽膜により抑制すると共に、水素遮蔽膜の耐久性をさらに向上させることができる。
【図面の簡単な説明】
【0010】
本発明の一実施形態における燃料噴射弁の概略構成を示す模式的な断面図である。
本発明の一実施形態における燃料噴射弁が備える固定コアの模式的な断面図である。
本発明の一実施形態における燃料噴射弁が備える水素遮蔽膜の模式的な断面図である。
本発明の一実施形態における燃料噴射弁が備える水素遮蔽膜の多層膜における水素遮蔽の原理を説明するための概念図である。
本発明の一実施形態における燃料噴射弁が備える硬質クロムメッキ層を含む模式的な断面図である。
本発明の一実施形態における燃料噴射弁が備える非磁性円筒体の模式的な断面図である。
本発明の一実施形態における燃料噴射弁が備えるハウジングボディの模式的な断面図である。
本発明の一実施形態における燃料噴射弁が備える弁座部材の模式的な断面図である。
本発明の一実施形態における燃料噴射弁が備えるロッドと、弁部と、開弁側ストッパと、閉弁側ストッパとの模式的な断面図である。
本発明の一実施形態における燃料噴射弁が備える可動コアの模式的な断面図である。
本発明の一実施形態における燃料噴射弁が備えるインナーカラーの模式的な断面図である。
本発明の一実施形態における燃料噴射弁が備えるリターンスプリングの模式的な断面図である。
本発明の一実施形態における燃料噴射弁が備える補助スプリングの模式的な断面図である。
【発明を実施するための形態】
(【0011】以降は省略されています)
この特許をJ-PlatPat(特許庁公式サイト)で参照する
関連特許
Astemo株式会社
緩衝器
5日前
Astemo株式会社
電子制御装置
4日前
Astemo株式会社
画像処理装置および画像処理方法
今日
本田技研工業株式会社
車両の制御装置及び制御方法
4日前
Astemo株式会社
緩衝器用ピストンロッドの製造方法
今日
個人
バンケル型内燃機関の改良
今日
本田技研工業株式会社
車両
4日前
本田技研工業株式会社
車両
4日前
トヨタ自動車株式会社
電磁弁
今日
本田技研工業株式会社
内燃機関
5日前
株式会社クボタ
作業車両
5日前
本田技研工業株式会社
内燃機関
4日前
個人
流体式推力方向制御装置
15日前
本田技研工業株式会社
始動制御装置
4日前
本田技研工業株式会社
始動制御装置
4日前
朝日電装株式会社
スロットルグリップ装置
15日前
トヨタ自動車株式会社
閾値の設定装置
15日前
トヨタ自動車株式会社
エンジン制御装置
11日前
トヨタ自動車株式会社
電磁弁の制御装置
今日
日産自動車株式会社
内燃機関
11日前
本田技研工業株式会社
内燃機関の吸気構造
5日前
日産自動車株式会社
内燃機関
11日前
株式会社デンソートリム
エンジン制御装置
11日前
トヨタ自動車株式会社
V型8気筒エンジン
今日
本田技研工業株式会社
可変ファンネル装置
4日前
大阪瓦斯株式会社
エンジンシステム
4日前
本田技研工業株式会社
EGRバルブ制御装置
15日前
マツダ株式会社
エンジン
5日前
トヨタ自動車株式会社
インジェクタの制御装置
13日前
トヨタ自動車株式会社
内燃機関の燃料供給装置
11日前
トヨタ自動車株式会社
内燃機関の燃料供給装置
15日前
株式会社SUBARU
車両
今日
トヨタ自動車株式会社
エンジン制御装置
15日前
ヤンマーホールディングス株式会社
エンジン装置
13日前
ヤンマーホールディングス株式会社
エンジン装置
13日前
本田技研工業株式会社
内燃機関の制御装置
5日前
続きを見る
他の特許を見る