TOP
|
特許
|
意匠
|
商標
特許ウォッチ
Twitter
他の特許を見る
10個以上の画像は省略されています。
公開番号
2025129614
公報種別
公開特許公報(A)
公開日
2025-09-05
出願番号
2024026361
出願日
2024-02-26
発明の名称
乗物用内装材の照明構造および乗物用内装材の製造方法
出願人
トヨタ紡織株式会社
代理人
弁理士法人暁合同特許事務所
主分類
B60Q
3/51 20170101AFI20250829BHJP(車両一般)
要約
【課題】どの方向から視た場合でも光が同様の明るさで見える乗物用内装材の照明構造および乗物用内装材の製造方法を提供する。
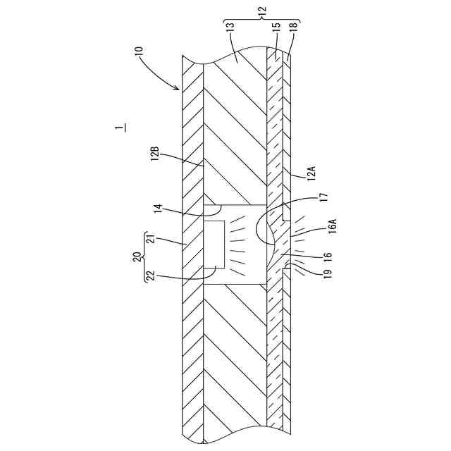
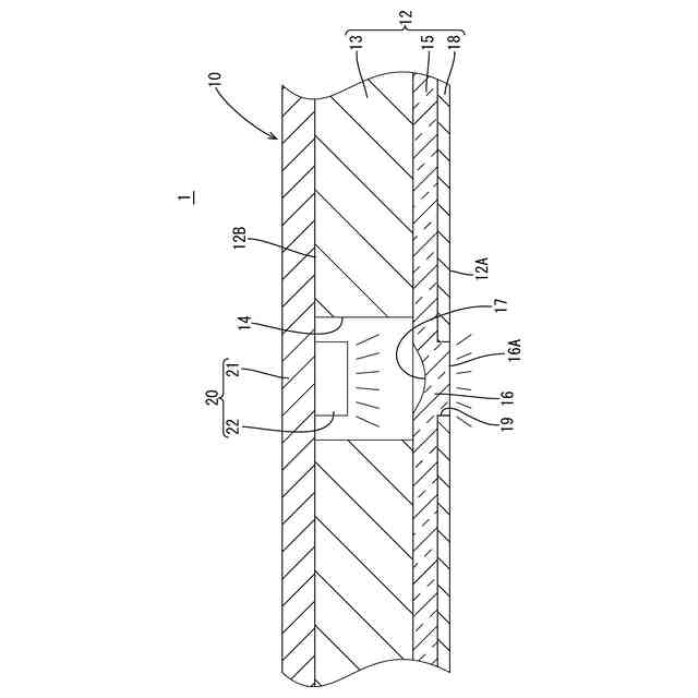
【解決手段】乗物用内装材10における照明構造1であって、室内意匠面12Aを構成するボード部材12と、ボード部材12の乗物室外側に配される複数の光源23と、を備え、ボード部材12は、基材13と、基材13の乗物室内側に積層された透光性を有する透光性樹脂層15と、透光性樹脂層15の乗物室内側を覆う表皮18と、を含んで構成されており、基材13は、複数の各光源23と対向する位置に基材側貫通孔14を有し、表皮18は、基材側貫通孔14と重畳する位置に表皮側貫通孔19を有しており、透光性樹脂層15のうち表皮側貫通孔19に重畳する部分は、表皮側貫通孔19内の少なくとも一部を充填した状態のレンズ部16を構成している。
【選択図】図2
特許請求の範囲
【請求項1】
乗物用内装材における照明構造であって、
乗物の室内意匠面を構成するボード部材と、前記ボード部材の乗物室外側に配される複数の光源と、を備え、
前記ボード部材は、基材と、前記基材の乗物室内側に積層された透光性を有する透光性樹脂層と、前記透光性樹脂層の乗物室内側を覆って前記意匠面を構成する表皮と、を含んで構成されており、
前記基材は、複数の各前記光源と対向する位置に乗物室内外に貫通する基材側貫通孔を有し、前記表皮は、前記基材側貫通孔と重畳する位置に乗物室内外に貫通する表皮側貫通孔を有しており、
前記透光性樹脂層のうち前記表皮側貫通孔に重畳する部分は、前記表皮側貫通孔内の少なくとも一部を充填した状態のレンズ部を構成している乗物用内装材の照明構造。
続きを表示(約 1,300 文字)
【請求項2】
前記レンズ部は、前記光源と対向する対向面が凹レンズ状に凹んだ状態とされるとともに、前記対向面の反対面が前記意匠面と面一とされた状態で、前記表皮側貫通孔を充填している請求項1に記載の乗物用内装材の照明構造。
【請求項3】
前記光源は、LED基板に実装されたLEDであり、
前記LED基板は前記ボード部材の乗物室外面に積層され、前記LEDは前記基材側貫通孔内に収容されている請求項1または請求項2に記載の乗物用内装材の照明構造。
【請求項4】
請求項1または請求項2に記載の乗物用内装材の照明構造を備える乗物用内装材の製造方法であって、
前記基材の所定の位置に板面を貫通する複数の前記基材側貫通孔を形成する基材側貫通孔形成工程と、
前記表皮のうち前記基材側貫通孔に重畳される部分にその表裏を貫通する前記表皮側貫通孔を形成する表皮側貫通孔形成工程と、
透光性を有する熱可塑性樹脂からなる透光性樹脂フィルムを加熱する加熱工程と、
前記表皮側貫通孔が形成された前記表皮のうち乗物室外側に配される面に前記加熱工程により加熱された前記透光性樹脂フィルムを積層し、前記表皮と前記透光性樹脂層とが積層された積層体を形成する第1積層工程と、
前記積層体をプレス型で挟んだ状態で、前記表皮側貫通孔が形成された部分に前記透光性樹脂層側から前記表皮側に向かう圧力をかけることにより、前記表皮側貫通孔内に前記透光性樹脂層を引き込んで前記レンズ部を形成するレンズ部形成工程と、
前記基材側貫通孔が形成された基材のうち乗物室内側に配される面に、前記レンズ部が形成された前記積層体を前記透光性樹脂層側を重ね合わせる形で積層させる第2積層工程と、
を含む、乗物用内装材の製造方法。
【請求項5】
請求項1または請求項2に記載の乗物用内装材の照明構造を備える乗物用内装材の製造方法であって、
前記基材の所定の位置に板面を貫通する複数の前記基材側貫通孔を形成する基材側貫通孔形成工程と、
前記表皮のうち前記基材側貫通孔に重畳される部分にその表裏を貫通する前記表皮側貫通孔を形成する表皮側貫通孔形成工程と、
前記表皮側貫通孔が形成された前記表皮のうち乗物室外側に配される面に透光性を有する液状樹脂を塗布するとともに前記表皮側貫通孔内に前記液状樹脂を充填し、その後前記液状樹脂を硬化させることで、前記表皮に前記透光性樹脂層および前記レンズ部を形成する樹脂層およびレンズ部形成工程と、
前記基材側貫通孔が形成された基材のうち乗物室内側に配される面に、前記透光性樹脂層およびレンズ部が形成された前記表皮を前記透光性樹脂層側を重ね合わせる形で積層させる積層工程と、を含む、乗物用内装材の製造方法。
【請求項6】
前記レンズ部のうち前記表皮の前記意匠面からはみ出した部分を研磨して、前記レンズ部のうち前記光源と対向して配される対向面の反対面を前記意匠面と面一とする研磨工程を含む請求項4に記載の乗物用内装材の製造方法。
発明の詳細な説明
【技術分野】
【0001】
本明細書に開示される技術は、乗物用内装材の照明構造および乗物用内装材の製造方法に関する。
続きを表示(約 1,500 文字)
【背景技術】
【0002】
近年、車両等の乗物において、乗物室内の意匠性を高めるために様々な照明構造が提案されている。例えば下記特許文献1には、車両の天井に設けられる照明構造であって、内装用の天井材に設けられた複数の孔部を通して天井裏に設置された複数の光源からの光を車室内に照射し、星空のような意匠を発現させる照明構造が開示されている。
【先行技術文献】
【特許文献】
【0003】
独国特許出願公開第102012016399号明細書
【発明の概要】
【発明が解決しようとする課題】
【0004】
上記文献に開示されている照明構造においては、天井材の意匠面側は表皮により覆われており、光源からの光は、孔部を塞いだ状態の表皮を通して乗物室内に照射されるようになっている。つまり、柔らかい光が照射される照明とされている。
【0005】
一方、上記文献に開示されている照明構造の照明より輝度が高い光を照射したいという要望がある。そこで、表皮に孔を開けることが考えられるが、孔を開けるだけでは、その孔を見た際の視線の向きによって明るさが変わってしまう。具体的には、孔を光源が見える方向から視た場合には光が明るく見え、光源が見えない方向から見た場合には光が暗く見えるという問題がある。
【0006】
本明細書に開示される技術は上記事情に鑑みて完成されたものであって、どの方向から視た場合でも光が同様の明るさで見える乗物用内装材の照明構造および乗物用内装材の製造方法を提供することを目的とする。
【課題を解決するための手段】
【0007】
上記課題を解決するために完成された本明細書に開示される技術は、乗物用内装材における照明構造であって、乗物の室内意匠面を構成するボード部材と、前記ボード部材の乗物室外側に配される複数の光源と、を備え、前記ボード部材は、基材と、前記基材の乗物室内側に積層された透光性を有する透光性樹脂層と、前記透光性樹脂層の乗物室内側を覆って前記意匠面を構成する表皮と、を含んで構成されており、前記基材は、複数の各前記光源と対向する位置に乗物室内外に貫通する基材側貫通孔を有し、前記表皮は、前記基材側貫通孔と重畳する位置に乗物室内外に貫通する表皮側貫通孔を有しており、前記透光性樹脂層のうち前記表皮側貫通孔に重畳する部分は、前記表皮側貫通孔内の少なくとも一部を充填した状態のレンズ部を構成している。
【0008】
上記照明構造によれば、光源から発せられる光をレンズ部を通して乗物室内に照射することができるから、どの方向から乗物用内装材を視た場合でも、乗物用内装材から照射される光が同様の明るさで見える。
【0009】
前記レンズ部は、前記光源と対向する対向面が凹レンズ状に凹んだ状態とされるとともに、前記対向面の反対面が前記意匠面と面一とされた状態で、前記表皮側貫通孔を充填していてもよい。
【0010】
上記構成によれば、光源から発せられた光が凹レンズ状の対向面により集光されるから、より明るい光を乗物室内に照射することができる。また、反対面が意匠面と面一とされることにより、反対面が意匠面から凹んだ状態とされる場合と比較して、レンズ部の反対面(照射面)の全体がどの方向からでも見えるようになり、光がより同様の明るさで見えるようになる。また、反対面が意匠面から膨出した状態とされる場合と比較して、意匠面が平坦な状態とされるから、見栄えがよい。
(【0011】以降は省略されています)
この特許をJ-PlatPat(特許庁公式サイト)で参照する
関連特許
トヨタ紡織株式会社
シート
1日前
トヨタ紡織株式会社
送風装置
22日前
トヨタ紡織株式会社
アイロン
6日前
トヨタ紡織株式会社
プレス金型
13日前
トヨタ紡織株式会社
乗物用シート
1日前
トヨタ紡織株式会社
デッキボード
6日前
トヨタ紡織株式会社
乗物用内装材
21日前
トヨタ紡織株式会社
クッション体
13日前
トヨタ紡織株式会社
デッキボード
13日前
トヨタ紡織株式会社
乗物用照明装置
15日前
トヨタ紡織株式会社
クッションフレーム
今日
豊田合成株式会社
着座装置
15日前
トヨタ紡織株式会社
剥離装置及び積層体の剥離方法
3日前
トヨタ紡織株式会社
繊維強化樹脂の成形方法及び成形装置
23日前
トヨタ紡織株式会社
クッション体およびタッチセラピー装置
13日前
トヨタ紡織株式会社
情報処理装置、コンテンツ提供方法、車両およびプログラム
13日前
トヨタ紡織株式会社
情報処理装置、コンテンツ提供方法、車両およびプログラム
13日前
トヨタ紡織株式会社
情報処理装置、コンテンツ切替方法、車両およびプログラム
13日前
トヨタ紡織株式会社
プレス方法
7日前
トヨタ紡織株式会社
燃料電池用セパレータ・ガス拡散層複合体、燃料電池用セパレータ・ガス拡散層複合体の製造方法、燃料電池用ガス拡散層、及び燃料電池用ガス拡散層の製造方法
13日前
個人
カーテント
4か月前
個人
タイヤレバー
2か月前
個人
前輪キャスター
1か月前
個人
車窓用防虫網戸
4か月前
個人
警告装置
5か月前
個人
車輪清掃装置
4か月前
個人
タイヤ脱落防止構造
1か月前
個人
ルーフ付きトライク
1か月前
個人
ホイルのボルト締結
3か月前
井関農機株式会社
作業車両
3か月前
日本精機株式会社
表示装置
2か月前
個人
キャンピングトライク
3か月前
日本精機株式会社
表示装置
2か月前
井関農機株式会社
作業車両
3か月前
日本精機株式会社
表示装置
2か月前
個人
マスタシリンダ
6日前
続きを見る
他の特許を見る