TOP
|
特許
|
意匠
|
商標
特許ウォッチ
Twitter
他の特許を見る
公開番号
2025134166
公報種別
公開特許公報(A)
公開日
2025-09-17
出願番号
2024031897
出願日
2024-03-04
発明の名称
乗物用照明装置
出願人
トヨタ紡織株式会社
代理人
弁理士法人暁合同特許事務所
主分類
B60Q
3/62 20170101AFI20250909BHJP(車両一般)
要約
【課題】乗物室内の照明に用いられる乗物用照明装置において異音の発生を抑えることを課題とする。
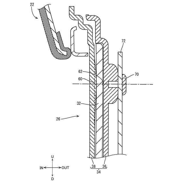
【解決手段】光源30と、光源の光を導光する平板状の導光板32と、導光板32の室内側に配されて乗物の室内意匠面を形成し、導光板32に沿う平板状で導光板32から入射した光を乗物室に向かって出射するレンズ部材38と、を備え、そのレンズ部材38は、レンズ本体部44と、レンズ本体部44の室外側に形成され、先端に向かうにつれて導光板32に漸近する形状とされた複数の膨出部60と、を有し、導光板32とレンズ部材38は、複数の膨出部60の先端が導光板32に接する状態で配された構成とする。
【選択図】図6
特許請求の範囲
【請求項1】
乗物用内装材に取り付けられる乗物用照明装置であって、
光源と、
前記光源の光を導光する平板状の導光板と、
前記導光板の室内側に配されて乗物の室内意匠面を形成し、前記導光板に沿う平板状で前記導光板から入射した光を乗物室に向かって出射するレンズ部材と、
を備え、
前記レンズ部材は、レンズ本体部と、前記レンズ本体部の室外側に形成され、先端に向かうにつれて前記導光板に漸近する形状とされた複数の膨出部と、を有し、
前記導光板と前記レンズ部材は、複数の前記膨出部の先端が前記導光板に接する状態で配されている、乗物用照明装置。
続きを表示(約 670 文字)
【請求項2】
前記膨出部は、円錐形状であり、室外側面の前記レンズ本体部に対する勾配が4.8%以下とされている、請求項1に記載の乗物用照明装置。
【請求項3】
前記光源は、前記導光板の側面から光を入射するものとされ、
前記導光板の室外側に配され、前記導光板から室外側に出射した光を前記導光板に向けて反射する反射板を備え、
前記反射板は、反射板本体部と、前記反射板本体部の室内側に前記導光板に向かって突出する複数の突起と、を有し、
前記導光板と前記反射板は、複数の前記突起の先端が前記導光板に接する状態で配されている、請求項1または請求項2に記載の乗物用照明装置。
【請求項4】
前記導光板と前記反射板本体部の間隔は、前記導光板と前記レンズ本体部との間隔より小さく、
複数の前記突起は、半球状のものとされている、請求項3に記載の乗物用照明装置。
【請求項5】
前記反射板は、前記反射板本体部の室外側に、他の部材に取り付けるための取付部を有し、
前記取付部、前記膨出部の1つおよび前記突起の1つが、乗物室内外方向に延びる直線上に並んで配されている、請求項3に記載の乗物用照明装置。
【請求項6】
前記乗物用内装材は、車両のサイドドアを構成するドアトリムであり、
当該乗物用照明装置は、前後方向の寸法が前記ドアトリムの前後方向の寸法の半分を超える大きさのものとされている、請求項1または請求項2に記載の乗物用照明装置。
発明の詳細な説明
【技術分野】
【0001】
本発明は、乗物室内の照明に用いられる乗物用照明装置に関する。
続きを表示(約 1,800 文字)
【背景技術】
【0002】
下記特許文献1には、光を用いた加飾を行うための乗物用内装材が記載されている。下記特許文献1に記載の乗物用内装材は、光透過性を有する板状部材と、その板状部材における乗物室内側の面に設けられ、模様が形成されると共に光透過性を有する第1意匠層と、板状部材における乗物室外側の面に設けられ、模様が形成された第2意匠層と、を備える構成とされている。この板状部材は、いわゆる導光板で、光源から入射された光を導光しつつ第1意匠層側に光を出射するものであり、第1意匠層は、フィルムが貼着された構成や塗料が塗布された構成のものとされている。
【先行技術文献】
【特許文献】
【0003】
特開2017-210011号公報
【発明の概要】
【発明が解決しようとする課題】
【0004】
上記特許文献1のように、導光板の意匠面側が、フィルムや塗料ではなく、導光板の室内側に、例えば、光透過性を有する樹脂製のレンズ部材が配される場合がある。このように、平板状の導光板と、同じく平板状のレンズ部材とを用いる場合、対向する面同士は、僅かな隙間を設けた状態で配される場合が多い。これは、導光板とレンズ部材の表面が、成形上、完全な平面とはならず、微小な凹凸を有していることで、一部のみ接する状態となり、レンズ部材から出射される光に影響を与えてしまう虞があるためである。しかしながら、その導光板とレンズ部材との僅かな隙間が原因で、乗物の振動等によって、乗物室内外方向に変位・変形することで、導光板とレンズ部材との間で異音が生じるという問題がある。
【0005】
本発明は、そのような実情に鑑みてなされたものであり、乗物室内の照明に用いられる乗物用照明装置において異音の発生を抑えることを課題とする。
【課題を解決するための手段】
【0006】
上記課題を解決するために、本願に開示される乗物用照明装置は、下記の構造とされている。
(1)乗物用内装材に取り付けられる乗物用照明装置であって、
光源と、
前記光源の光を導光する平板状の導光板と、
前記導光板の室内側に配されて乗物の室内意匠面を形成し、前記導光板に沿う平板状で前記導光板から入射した光を乗物室に向かって出射するレンズ部材と、
を備え、
前記レンズ部材は、レンズ本体部と、前記レンズ本体部の室外側に形成され、先端に向かうにつれて前記導光板に漸近する形状とされた複数の膨出部と、を有し、
前記導光板と前記レンズ部材は、複数の前記膨出部の先端が前記導光板に接する状態で配されている、乗物用照明装置。
【0007】
本願に開示される乗物用照明装置は、レンズ部材が、複数の膨出部の先端において導光板に当接する状態とされており、振動等に起因する異音の発生を抑えることができる。また、乗物室側からレンズ部材に力が加わった場合に、レンズ部材に生じる撓みを抑えること、つまり、意匠面として用いる当該乗物用照明装置の剛性を高めることができる。さらに、膨出部の各々は、比較的緩やかな形状で膨らんでいるため、膨出部の存在による意匠面から出射される光への影響(光学的な影響)を抑えたものとなっている。なお、本願に開示の乗物用照明装置は、導光板の室内側面に膨出部を設けた構成に比較して、光学的な影響をより抑えることができる。
【0008】
本願に開示の乗物用照明装置において「漸近」とは、段階的に近づくことなく、連続的に(徐々に)近づいていくことを意味する文言であり、本願に開示の乗物用照明装置における「膨出部」は、その室外側面が、レンズ本体部から、段差なく、直線状あるいは曲線状で、緩やかに膨らんでいくような形状のものとすることができる。
【0009】
また、上記構成の乗物用照明装置において、以下に示す種々の態様とすることが可能である。
【0010】
(2)前記膨出部は、円錐形状であり、室外側面の前記レンズ本体部に対する勾配が4.8%以下とされている、(1)項に記載の乗物用照明装置。
(【0011】以降は省略されています)
この特許をJ-PlatPat(特許庁公式サイト)で参照する
関連特許
トヨタ紡織株式会社
乗物用シート
5日前
トヨタ紡織株式会社
乗物用シート
5日前
トヨタ紡織株式会社
車両用排熱装置
18日前
トヨタ紡織株式会社
乗物用照明装置
4日前
トヨタ紡織株式会社
カップホルダー
14日前
トヨタ紡織株式会社
燃料電池の単セル
5日前
トヨタ紡織株式会社
乗物用シート装置
18日前
トヨタ紡織株式会社
燃料電池スタック
4日前
トヨタ紡織株式会社
シート制御システム
7日前
トヨタ紡織株式会社
繊維状複合体の製造方法
12日前
トヨタ紡織株式会社
繊維状複合体の製造方法
12日前
トヨタ紡織株式会社
熱可塑性樹脂組成物の製造方法
12日前
トヨタ紡織株式会社
熱可塑性樹脂組成物及びその製造方法
12日前
トヨタ紡織株式会社
繊維状物質及びその製造方法並びに粉体
12日前
トヨタ紡織株式会社
繊維状複合体及びその製造方法並びに粉体
12日前
トヨタ紡織株式会社
燃料電池用セパレータ及び燃料電池の単セル
18日前
トヨタ紡織株式会社
熱可塑性樹脂組成物及びその製造方法並びに成形体
12日前
トヨタ紡織株式会社
パーティション装置、パーティションシステム、及び制御装置
4日前
トヨタ紡織株式会社
燃料電池用セパレータの製造装置及び燃料電池用セパレータの製造方法
5日前
個人
カーテント
4か月前
個人
タイヤレバー
2か月前
個人
前輪キャスター
1か月前
個人
上部一体型自動車
18日前
個人
ルーフ付きトライク
2か月前
個人
車輪清掃装置
4か月前
個人
ホイルのボルト締結
3か月前
個人
タイヤ脱落防止構造
1か月前
日本精機株式会社
表示装置
2か月前
井関農機株式会社
作業車両
4か月前
井関農機株式会社
作業車両
4か月前
個人
マスタシリンダ
25日前
日本精機株式会社
表示装置
2か月前
日本精機株式会社
表示装置
2か月前
日本精機株式会社
表示装置
2か月前
個人
車両通過構造物
2か月前
個人
キャンピングトライク
4か月前
続きを見る
他の特許を見る