TOP
|
特許
|
意匠
|
商標
特許ウォッチ
Twitter
他の特許を見る
公開番号
2025137137
公報種別
公開特許公報(A)
公開日
2025-09-19
出願番号
2024036166
出願日
2024-03-08
発明の名称
クッション体およびタッチセラピー装置
出願人
トヨタ紡織株式会社
代理人
弁理士法人 HARAKENZO WORLD PATENT & TRADEMARK
主分類
A61M
21/02 20060101AFI20250911BHJP(医学または獣医学;衛生学)
要約
【課題】人の手で触れられているような感覚を利用者に与える。
【解決手段】クッション体(1)は、柱形の芯部(10)を内側に収容する第1パッド部(20)がカップ形の第2パッド部(30)の内側に位置し、芯部(10)は第1パッド部(20)および第2パッド部(30)よりも剛性が高く、第1パッド部(20)はゴム弾性を有し、第2パッド部(30)は第1パッド部(20)よりも柔らかく変形しやすい。
【選択図】図1
特許請求の範囲
【請求項1】
柱形の芯部を内側に収容する第1パッド部がカップ形の形状を有する第2パッド部の内側に位置し、
前記芯部は、前記第1パッド部および前記第2パッド部よりも剛性が高い材料で形成され、
前記第1パッド部は、ゴム弾性を有する材料で形成され、
前記第2パッド部は、前記第1パッド部よりも柔らかく変形しやすい材料で形成されているクッション体。
続きを表示(約 440 文字)
【請求項2】
前記芯部は、前記第1パッド部の弾性変形に追随して前記第1パッド部の内側を動く、請求項1のクッション体。
【請求項3】
前記第2パッド部は、前方に利用者の身体に接触させる施術面を有し、前記施術面の端部が後方に湾曲することで前記カップ形が形成されている、請求項1に記載のクッション体。
【請求項4】
前記第2パッド部は、前方に利用者の身体に接触させる施術面を有し、
前記芯部は、前記柱形の側面が前記施術面に平行になるように前記第1パッド部の内側に収容されている、請求項1に記載のクッション体。
【請求項5】
前記第1パッド部の内側には、指骨を模した複数の前記芯部と、中手骨を模した複数の前記芯部とが収容されている、請求項1に記載のクッション体。
【請求項6】
請求項1から5のいずれか1項に記載のクッション体と、
前記クッション体を駆動する駆動部と、を備えるタッチセラピー装置。
発明の詳細な説明
【技術分野】
【0001】
本開示は、クッション体およびタッチセラピー装置に関する。
続きを表示(約 1,100 文字)
【背景技術】
【0002】
特許文献1には、モミ玉を背中に当接させてマッサージを行う椅子型マッサージ機が開示されている。
【先行技術文献】
【特許文献】
【0003】
特開2001-198169号公報
【発明の概要】
【発明が解決しようとする課題】
【0004】
人の手で被施療者に触れることにより、被施療者のストレス緩和、メンタルケアを行うタッチセラピーと呼ばれる施術が知られている。しかしながら、機械を用いてタッチセラピーを行う技術については改善の余地がある。
【0005】
本開示の一態様は、人の手で触れられているような感覚を利用者に与えられるクッション体の提供を目的とする。
【課題を解決するための手段】
【0006】
上記の課題を解決するために、本開示の一態様に係るクッション体は、柱形の芯部を内側に収容する第1パッド部がカップ形の形状を有する第2パッド部の内側に位置し、前記芯部は、前記第1パッド部および前記第2パッド部よりも剛性が高い材料で形成され、前記第1パッド部は、ゴム弾性を有する材料で形成され、前記第2パッド部は、前記第1パッド部よりも柔らかく変形しやすい材料で形成されている。
【発明の効果】
【0007】
本開示の一態様によれば、人の手で触れられているような感覚を利用者に与えることができる。
【図面の簡単な説明】
【0008】
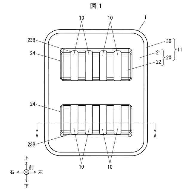
本開示の一実施形態に係るクッション体の背面図である。
本開示の一実施形態に係るクッション体の分解斜視図である。
図1のA-A断面図である。
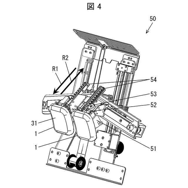
本開示の一実施形態に係るクッション体を用いたタッチセラピー装置の構成を示す図である。
【発明を実施するための形態】
【0009】
図1は、本開示の一実施形態に係るクッション体の背面図である。図2は、本開示の一実施形態に係るクッション体の分解斜視図である。図3は、図1のA-A断面図である。以下、説明の便宜上、図1、図2および図3において矢印で示されるように、クッション体1の上下方向、前後方向、および左右方向を定義する。
【0010】
図1に示すように、クッション体1は、柱形の芯部10と、弾性体11とを備え、手の平を再現する構造となっている。弾性体11は、第1パッド部20と、第2パッド部30とを有している。第1パッド部20は、第1部21および第2部22を有している。
(【0011】以降は省略されています)
この特許をJ-PlatPat(特許庁公式サイト)で参照する
関連特許
トヨタ紡織株式会社
乗物用シート
21日前
トヨタ紡織株式会社
乗物用シート
21日前
トヨタ紡織株式会社
搬送システム
10日前
トヨタ紡織株式会社
乗り物用シート
今日
トヨタ紡織株式会社
乗り物用シート
今日
トヨタ紡織株式会社
ロックシステム
7日前
トヨタ紡織株式会社
乗物用照明装置
20日前
トヨタ紡織株式会社
乗物用シート装置
1日前
トヨタ紡織株式会社
ロータの製造装置
8日前
トヨタ紡織株式会社
燃料電池の単セル
21日前
トヨタ紡織株式会社
燃料電池システム
10日前
トヨタ紡織株式会社
燃料電池スタック
20日前
トヨタ紡織株式会社
シート制御システム
23日前
トヨタ紡織株式会社
コネクタ及び二次電池
7日前
トヨタ紡織株式会社
繊維状複合体の製造方法
28日前
トヨタ紡織株式会社
配車装置およびプログラム
10日前
トヨタ紡織株式会社
乗物用シートのアームレスト
9日前
豊田合成株式会社
車両用投影装置
15日前
豊田合成株式会社
車両用照明装置
15日前
トヨタ紡織株式会社
車両用ヘッドレスト及び車両用シート
1日前
トヨタ紡織株式会社
熱可塑性樹脂組成物及びその製造方法
28日前
トヨタ紡織株式会社
シートパッド及びシートパッドの成形型
8日前
トヨタ紡織株式会社
繊維状物質及びその製造方法並びに粉体
28日前
トヨタ紡織株式会社
繊維状複合体及びその製造方法並びに粉体
28日前
トヨタ紡織株式会社
熱可塑性樹脂組成物及びその製造方法並びに成形体
28日前
株式会社ハイレックスコーポレーション
ケーブル連結機構
2日前
トヨタ紡織株式会社
パーティション装置、パーティションシステム、及び制御装置
20日前
トヨタ紡織株式会社
燃料電池用セパレータの製造装置及び燃料電池用セパレータの製造方法
21日前
個人
貼付剤
10日前
個人
短下肢装具
3か月前
個人
嚥下鍛錬装置
4か月前
個人
洗井間専家。
7か月前
個人
白内障治療法
7か月前
個人
排尿補助器具
23日前
個人
前腕誘導装置
3か月前
個人
胸骨圧迫補助具
2か月前
続きを見る
他の特許を見る