TOP
|
特許
|
意匠
|
商標
特許ウォッチ
Twitter
他の特許を見る
10個以上の画像は省略されています。
公開番号
2025125235
公報種別
公開特許公報(A)
公開日
2025-08-27
出願番号
2024021162
出願日
2024-02-15
発明の名称
密封装置および密封構造
出願人
NOK株式会社
代理人
弁理士法人旺知国際特許事務所
主分類
F16J
15/10 20060101AFI20250820BHJP(機械要素または単位;機械または装置の効果的機能を生じ維持するための一般的手段)
要約
【課題】密封性能を適切に維持しながら軸方向における密封装置の位置決めを実現する。
【解決手段】第1空間S1が第1面E1に形成された第1部材10と、第1空間S1よりも大径である第2空間S2が第1面E1に対向する第2面E2に形成された第2部材20との間に設置される密封装置30であって、管状の弾性体40を具備し、弾性体40は、第1空間S1の内周面F1に対向する第1外周面G1と、第2空間S2の内周面F2に対向し、第1外周面G1よりも大径である第2外周面G2と、第1外周面G1と第2外周面G2との段差を構成し、第1面E1に接触する段差面G12と、第1外周面G1から突出する環状の第1突起部41と、第2外周面G2から突出する環状の第2突起部42とを含む。
【選択図】図1
特許請求の範囲
【請求項1】
第1空間が第1面に形成された第1部材と、前記第1空間よりも大径である第2空間が前記第1面に対向する第2面に形成された第2部材との間に設置される密封装置であって、
管状の弾性体を具備し、
前記弾性体は、
前記第1空間の内周面に対向する第1外周面と、
前記第2空間の内周面に対向し、前記第1外周面よりも大径である第2外周面と、
前記第1外周面と前記第2外周面との段差を構成し、前記第1面に接触する段差面と、
前記第1外周面から突出する環状の第1突起部と、
前記第2外周面から突出する環状の第2突起部とを含む
密封装置。
続きを表示(約 1,000 文字)
【請求項2】
前記第1突起部は、前記弾性体の中心軸に沿って前記段差面から離間する方向に向けて拡径するシールリップであり、
前記第2突起部は、前記第2外周面から径方向に突出するビードである
請求項1の密封装置。
【請求項3】
前記第1突起部と前記段差面との間において前記第1外周面から突出する第3突起部をさらに具備し、
前記第3突起部の高さは前記第1突起部の高さを下回る
請求項1または請求項2の密封装置。
【請求項4】
前記第3突起部は、前記第1外周面の全周にわたる環状に形成される
請求項3の密封装置。
【請求項5】
前記弾性体よりも剛性が高い管状の補強体
をさらに具備する請求項1の密封装置。
【請求項6】
前記補強体は、
前記第1外周面の内側に位置する管状の第1部分と、
前記第2外周面の内側に位置する管状の第2部分とを含む一体の部材である
請求項5の密封装置。
【請求項7】
前記第2部分は前記第1部分よりも大径であり、
前記補強体は、
前記第1部分と前記第2部分との段差を構成する段差部をさらに含む
請求項6の密封装置。
【請求項8】
前記弾性体は、
前記第1外周面に対応する第1内周面と、
前記第2外周面に対応し、前記第1内周面よりも大径である第2内周面とをさらに含む
請求項1の密封装置。
【請求項9】
第1空間が第1面に形成された第1部材と、
前記第1空間よりも大径である第2空間が前記第1面に対向する第2面に形成された第2部材と、
前記第1部材と前記第2部材との間に設置される密封装置とを具備し、
前記密封装置は、管状の弾性体を具備し、
前記弾性体は、
前記第1空間の内周面に対向する第1外周面と、
前記第2空間の内周面に対向し、前記第1外周面よりも大径である第2外周面と、
前記第1外周面と前記第2外周面との段差を構成し、前記第1面に接触する段差面と、
前記第1外周面から突出する環状の第1突起部と、
前記第2外周面から突出する環状の第2突起部とを含む
密封構造。
発明の詳細な説明
【技術分野】
【0001】
本発明は、密封装置および密封構造に関する。
続きを表示(約 1,900 文字)
【背景技術】
【0002】
端面に流路が開口する第1部材と、第1部材に対向する端面に流路が開口する第2部材との接続に利用される密封装置が従来から提案されている。例えば特許文献1には、配管流路の接続に直管状の継手シールを利用した構造が開示されている。
【先行技術文献】
【特許文献】
【0003】
特開2012-255470号公報
【発明の概要】
【発明が解決しようとする課題】
【0004】
しかし、従来の構成においては、軸方向における密封装置の位置決めが困難である。例えば特許文献1の構成では、継手シールの各端部を流路内の段差面に当接させることで軸方向における継手シールの位置を確定できる。しかし、継手シールの端部が流路内の段差面に押付けられることで当該端部のシールリップが過剰に変形し、目標の密封性能を維持できない可能性がある。以上の事情を考慮して、本開示のひとつの態様は、密封性能を適切に維持しながら軸方向における密封装置の位置決めを実現することを目的とする。
【課題を解決するための手段】
【0005】
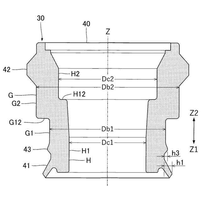
以上の課題を解決するために、本開示のひとつの態様に密封装置は、第1空間が第1面に形成された第1部材と、前記第1空間よりも大径である第2空間が前記第1面に対向する第2面に形成された第2部材との間に設置される密封装置であって、管状の弾性体を具備し、前記弾性体は、前記第1空間の内周面に対向する第1外周面と、前記第2空間の内周面に対向し、前記第1外周面よりも大径である第2外周面と、前記第1外周面と前記第2外周面との段差を構成し、前記第1面に接触する段差面と、前記第1外周面から突出する環状の第1突起部と、前記第2外周面から突出する環状の第2突起部とを含む。
【0006】
本開示のひとつの態様に係る密封構造は、第1空間が第1面に形成された第1部材と、前記第1空間よりも大径である第2空間が前記第1面に対向する第2面に形成された第2部材と、前記第1部材と前記第2部材との間に設置される密封装置とを具備し、前記密封装置は、管状の弾性体を具備し、前記弾性体は、前記第1空間の内周面に対向する第1外周面と、前記第2空間の内周面に対向し、前記第1外周面よりも大径である第2外周面と、前記第1外周面と前記第2外周面との段差を構成し、前記第1面に接触する段差面と、前記第1外周面から突出する環状の第1突起部と、前記第2外周面から突出する環状の第2突起部とを含む。
【図面の簡単な説明】
【0007】
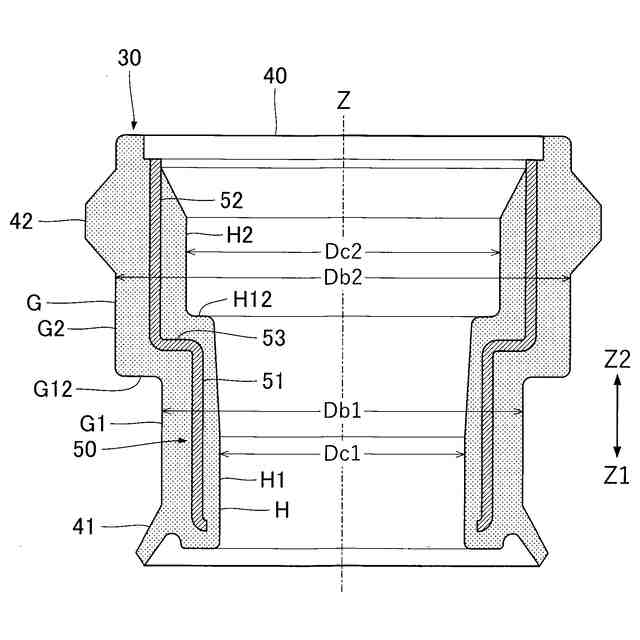
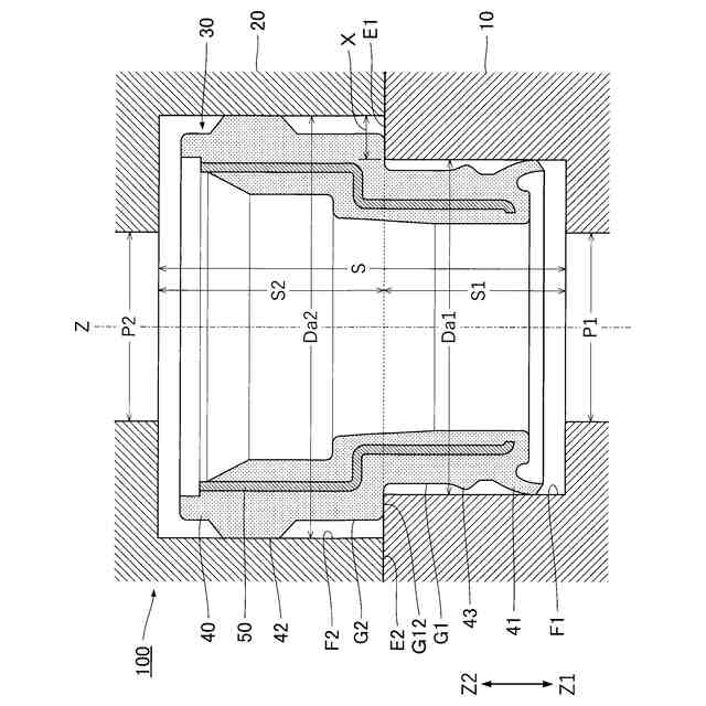
実施形態に係る密封構造の断面図である。
密封装置の断面図である。
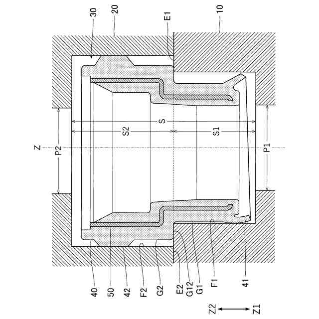
対比例における密封構造の断面図である。
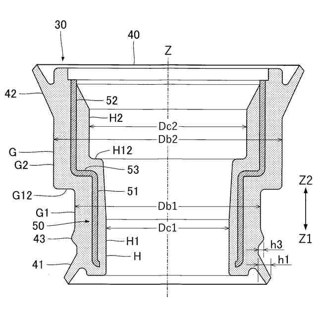
実施形態の効果の説明図である。
密封構造の製造工程の説明図である。
変形例における密封装置の断面図である。
変形例における密封装置の断面図である。
変形例における密封装置の断面図である。
変形例における密封装置の断面図である。
変形例における密封装置の断面図である。
【発明を実施するための形態】
【0008】
本開示を実施するための形態について図面を参照して説明する。なお、各図面においては、各要素の寸法および縮尺が実際の製品とは相違する場合がある。また、以下に説明する形態は、本開示を実施する場合に想定される例示的な一形態である。したがって、本開示の範囲は、以下に例示する形態には限定されない。
【0009】
A:実施形態
図1は、本開示のひとつの形態における密封構造100の断面図である。本実施形態の密封構造100は、自動車等の移動体に搭載される冷却ユニットに利用される構造体である。冷却ユニットは、例えば内燃機関または電動機等の動力源から放射される排熱を効率的に利用するための熱輸送機構である。ただし、密封構造100の用途は、以上の例示に限定されない。
【0010】
図1に例示される通り、本実施形態の密封構造100は、第1部材10と第2部材20と密封装置30とを具備する。第1部材10および第2部材20は、相互に連結されることで冷媒の流路を構成する配管である。密封装置30は、第1部材10と第2部材20との間に設置された管状の構造体であり、第1部材10と第2部材20との境界において冷媒の流路を密封する。第1部材10と第2部材20と密封装置30とは同心に配置される。
(【0011】以降は省略されています)
この特許をJ-PlatPat(特許庁公式サイト)で参照する
関連特許
NOK株式会社
混練装置
6日前
NOK株式会社
ガスケット
6日前
NOK株式会社
ガスケット
9日前
NOK株式会社
セルユニット
6日前
NOK株式会社
セルユニット
6日前
NOK株式会社
セルユニット
6日前
NOK株式会社
セルユニット
6日前
NOKクリューバー株式会社
潤滑グリース組成物
24日前
NOK株式会社
バッテリー用緩衝材、バッテリー、およびバッテリー用緩衝材の弾性部材が発生させるガスを管理する方法
2日前
個人
鍋虫ねじ
1か月前
個人
紛体用仕切弁
1か月前
個人
回転伝達機構
2か月前
個人
差動歯車用歯形
3か月前
個人
ジョイント
16日前
個人
ナット
17日前
株式会社不二工機
電磁弁
4か月前
株式会社不二工機
電磁弁
3か月前
個人
地震の揺れ回避装置
2か月前
個人
吐出量監視装置
1か月前
カヤバ株式会社
ダンパ
3か月前
カヤバ株式会社
ダンパ
3か月前
カヤバ株式会社
緩衝器
3か月前
カヤバ株式会社
緩衝器
3か月前
柿沼金属精機株式会社
分岐管
1か月前
株式会社ノーリツ
分配弁
5か月前
個人
固着具と固着具の固定方法
4か月前
株式会社ニフコ
クリップ
2日前
株式会社ノーリツ
分配弁
5か月前
株式会社不二工機
電磁弁
1か月前
個人
固着具と固着具の固定方法
4か月前
株式会社ノーリツ
分配弁
5か月前
株式会社タカギ
水栓装置
1か月前
株式会社ノーリツ
分配弁
2日前
株式会社奥村組
制振機構
6日前
株式会社奥村組
制振機構
6日前
個人
固着具と固着具の固定方法
4か月前
続きを見る
他の特許を見る