TOP
|
特許
|
意匠
|
商標
特許ウォッチ
Twitter
他の特許を見る
10個以上の画像は省略されています。
公開番号
2025124980
公報種別
公開特許公報(A)
公開日
2025-08-27
出願番号
2024020761
出願日
2024-02-15
発明の名称
内燃機関のクランク軸用の軸受装置
出願人
大同メタル工業株式会社
代理人
弁理士法人浅村特許事務所
主分類
F16C
9/02 20060101AFI20250820BHJP(機械要素または単位;機械または装置の効果的機能を生じ維持するための一般的手段)
要約
【課題】運転時に軸受ハウジングにクローズイン現象が生じても損傷が起き難い内燃機関のクランク軸用の軸受装置を提供すること。
【解決手段】本発明によれば、クランク軸と、軸受ハウジングと、一対の半割軸受からなるすべり軸受とを有する軸受装置であって、各半割軸受は内周面と外周面とを有し、少なくとも一方の半割軸受は、半割軸受の壁厚を貫通して延びる油穴を有し、半割軸受の外周面と油穴の外周面側開口の周縁との間に遷移面が形成された、軸受装置が提供される。すべり軸受が軸受ハウジングの軸受保持穴に装着されていない非装着状態において、油穴の外周面側開口の周縁が、外周面よりも外周面の曲率中心側に位置し、それにより遷移面の深さは、外周面と隣接する位置から外周面側開口の周縁と隣接する位置に向かって連続して大きくなっており、また装着状態において、半割軸受の外周面および遷移面は、軸受保持穴の内周面と隙間なく接している。
【選択図】図7
特許請求の範囲
【請求項1】
内燃機関のクランク軸を支承する軸受装置であって、クランク軸と、円筒形状の軸受保持穴を有する軸受ハウジングと、前記軸受保持穴の内周面に装着される円筒形状のすべり軸受とを有し、
前記すべり軸受は、それぞれが半円筒形状を有する一対の半割軸受からなり、各半割軸受は、外径側に延びる裏金層と、内径側に延びる摺動層とを有し、また各半割軸受は、内周面と外周面と周方向両端面とを有し、前記半割軸受の前記内周面が前記クランク軸を支承し、前記一対の半割軸受は、互いに同じ軸線方向長さを有し、前記一対の半割軸受の少なくとも一方は、前記半割軸受の壁厚を貫通して延びる一つ以上の油穴を有し、前記油穴の内周面側開口および外周面側開口はどちらも円形状を有している、軸受装置において、
前記半割軸受の前記外周面と前記油穴の前記外周面側開口の周縁との間に遷移面が形成されており、
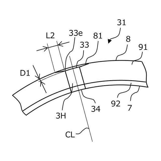
前記すべり軸受が前記軸受保持穴の前記内周面に装着されていない非装着状態において、前記半割軸受の前記油穴の前記外周面側開口の前記周縁が、前記半割軸受の前記外周面よりも前記油穴の軸心線の方向において前記外周面の曲率中心側に位置し、それにより前記外周面に垂直な方向における前記外周面からの前記遷移面の深さは、前記外周面と隣接する位置から前記外周面側開口の前記周縁と隣接する位置に向かって連続して大きくなっており、前記外周面側開口の前記周縁と隣接する位置における前記遷移面の深さが5~50μmであり、前記油穴の前記軸心線のいずれの径方向においても、前記外周面と隣接する位置から前記外周面側開口の前記周縁と隣接する位置までの前記遷移面の長さが100~300μmであり、また
前記すべり軸受が前記軸受保持穴の前記内周面に装着された装着状態において、前記半割軸受の前記外周面および前記遷移面は、前記軸受保持穴の前記内周面と隙間なく接していることを特徴とする軸受装置。
続きを表示(約 110 文字)
【請求項2】
前記非装着状態において、前記外周面側開口の前記周縁と隣接する位置における前記遷移面の深さ(D1)と前記遷移面の前記長さ(L2)との比(D1/L2)が0.05~0.20である請求項1に記載の軸受装置。
発明の詳細な説明
【技術分野】
【0001】
本発明は、内燃機関のクランク軸を支承する軸受装置に関するものである。
続きを表示(約 3,100 文字)
【背景技術】
【0002】
内燃機関のクランク軸は、そのジャーナル部において、一対の半割軸受からなる主軸受を介して内燃機関のシリンダブロック下部に支承される。主軸受の潤滑のため、オイルポンプによって吐出された潤滑油が、シリンダブロック壁内に形成されたオイルギャラリーから主軸受の壁に形成された貫通孔を通じて、主軸受の内周面に沿って形成された潤滑油溝内に送り込まれる。また、ジャーナル部の直径方向には第1潤滑油路が貫通形成されており、この第1潤滑油路の両端開口が主軸受の潤滑油溝と連通するようになっている。さらに、ジャーナル部の第1潤滑油路から、クランクアーム部を通る第2潤滑油路が分岐して形成され、この第2潤滑油路が、クランクピンの直径方向に貫通形成された第3潤滑油路に連通している。このため、シリンダブロック壁内のオイルギャラリーから貫通孔を通じて主軸受の内周面に形成された潤滑油溝内に送り込まれた潤滑油は、第1潤滑油路、第2潤滑油路および第3潤滑油路を経て、第3潤滑油路の末端で開口した吐出口から、クランクピンと一対の半割軸受からなるコンロッド軸受の摺動面間に供給される(例えば特許文献1参照)。このようにして、クランク軸の表面と主軸受およびコンロッド軸受の摺動面との間に油が供給される。コンロッド軸受に供給された潤滑油は、コンロッド軸受の壁に形成された貫通孔およびコンロッド壁内に形成された潤滑油路を経て、ピストンとシリンダライナとの間に供給される。
【0003】
それぞれ一対の半割軸受からなる主軸受およびコンロッド軸受は各々、軸受ハウジングの円筒形状の軸受保持穴に保持される。軸受ハウジングは、一対のハウジング分割体からなり、各ハウジング分割体は、組み合わせた際に軸受保持穴となる半円筒面を有している。半割軸受は、この半円筒面に保持される。
【0004】
ところで、近年の内燃機関では、低燃費化を目的として軽量化が図られているため、コンロッドやエンジンブロックなどの軸受ハウジング部の剛性が低くなる傾向にある。このため、内燃機関の運転時に、軸受ハウジングに加わる慣性力やクランク軸からの動荷重負荷によって、円筒形状である軸受ハウジングの軸受保持穴は、水平方向の内径よりも垂直方向の内径が大きくなる弾性変形と、円筒形状に戻る弾性変形とを繰り返す現象(クローズイン現象)が起こる(ここで、水平方向は、軸受保持穴の軸線方向から見て、軸受ハウジングのハウジング分割体の両分割面を結ぶ方向を指す。また、垂直方向は、ハウジング分割体の両分割面を結ぶ方向に直交する方向を指す)。この現象により、各ハウジング分割体に保持される半割軸受には、周方向に繰り返し変動する負荷が加わる。
Fe合金製の裏金層と摺動層とからなる半割軸受において、半割軸受に周方向に繰り返し変動する負荷による貫通孔(油穴)の開口に隣接する付近の摺動層の割れを防ぐため、貫通孔(油穴)の開口に隣接する付近の摺動層を除去する提案がある(例えば特許文献2参照)。
【0005】
上記の特許文献2に記載されたような、貫通孔(油穴)の開口に隣接する付近の摺動層を除去した半割軸受を備えるすべり軸受は、内燃機関の運転時に軸受ハウジングにクローズイン現象が起きた際に、半割軸受の周方向に加わる負荷の変動によって、貫通孔に隣接する付近の裏金層に損傷(割れ)が起きやすく、また、貫通孔(油穴)が塑性変形して、軸受ハウジングによるすべり軸受の保持力が低下しやすい。
【先行技術文献】
【特許文献】
【0006】
特開平8-277831号公報
特開2009-41724号公報
【発明の概要】
【発明が解決しようとする課題】
【0007】
本発明の目的は、内燃機関の運転時にこのような損傷が起き難い内燃機関のクランク軸用の軸受装置を提供することである。
【課題を解決するための手段】
【0008】
本発明によれば、内燃機関のクランク軸を支承する軸受装置であって、クランク軸と、円筒形状の軸受保持穴を有する軸受ハウジングと、軸受保持穴の内周面に装着される円筒形状のすべり軸受とを有し、
すべり軸受は、それぞれが半円筒形状を有する一対の半割軸受からなり、各半割軸受は、外径側に延びる裏金層と、内径側に延びる摺動層とを有し、また各半割軸受は、内周面と外周面と周方向両端面とを有し、半割軸受の内周面がクランク軸を支承し、一対の半割軸受は、互いに同じ軸線方向長さを有し、一対の半割軸受の少なくとも一方は、半割軸受の壁厚を貫通して延びる一つ以上の油穴を有し、油穴の内周面側開口および外周面側開口はどちらも円形状を有している、軸受装置において、
半割軸受の外周面と油穴の外周面側開口の周縁との間に遷移面が形成されており、
すべり軸受が軸受保持穴の内周面に装着されていない非装着状態において、半割軸受の油穴の外周面側開口の周縁が、半割軸受の外周面よりも油穴の軸心線の方向において外周面の曲率中心側に位置し、それにより外周面に垂直な方向における外周面からの遷移面の深さは、外周面と隣接する位置から外周面側開口の周縁と隣接する位置に向かって連続して大きくなっており、外周面側開口の周縁と隣接する位置における遷移面の深さが5~50μmであり、油穴の軸心線のいずれの径方向においても、外周面と隣接する位置から外周面側開口の周縁と隣接する位置までの遷移面の長さが100~300μmであり、また
すべり軸受が軸受保持穴の内周面に装着された装着状態において、半割軸受の外周面および遷移面は、軸受保持穴の内周面と隙間なく接している、軸受装置が提供される。
【0009】
本発明の一具体例によれば、非装着状態において、外周面側開口の周縁と隣接する位置における遷移面の深さ(D1)と遷移面の長さ(L2)との比(D1/L2)が0.05~0.20であってもよい。
【図面の簡単な説明】
【0010】
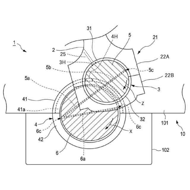
クランク軸用の軸受装置を示す概略図である。
非装着状態時の本発明の第1実施形態によるすべり軸受を軸線方向から見た図である。
図2に示す上側の半割軸受を軸線方向から見た図である。
図2に示す上側の半割軸受を内周面側から見た平面図である。
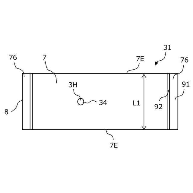
図2に示す上側の半割軸受を外周面側から見た平面図である。
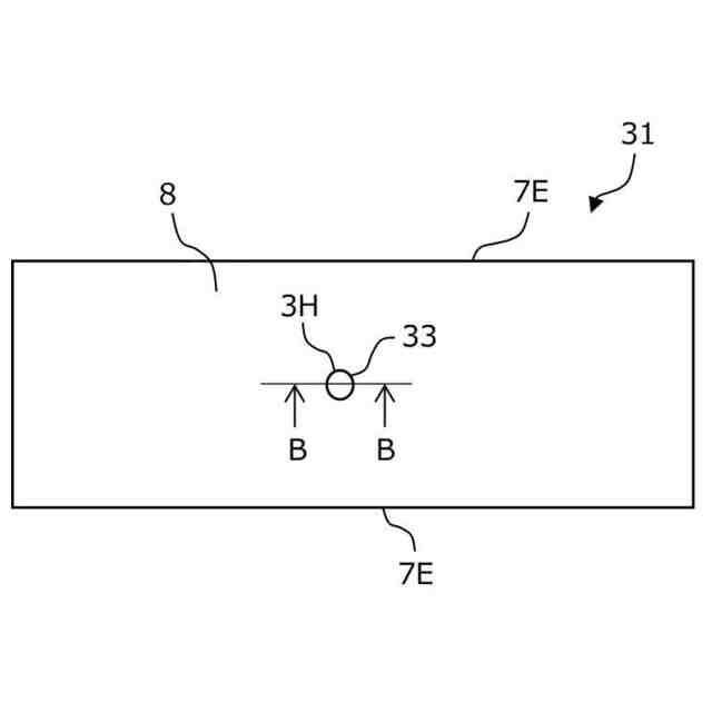
図2に示す半割軸受の油穴の開口付近を示す図(図3のA矢視図)である。
図5に示す半割軸受の線B-Bに沿った断面図である。
軸受ハウジングを示す図である。
弾性変形時の軸受ハウジングを示す図である。
本発明の第1実施形態によるすべり軸受および軸受ハウジングを軸線方向から見た図である。
図10に示すすべり軸受および軸受ハウジングのC部の断面拡大図である。
本発明の作用を説明する図である。
本発明の作用を説明する図である。
非装着状態時の本発明の第2実施形態によるすべり軸受を軸線方向から見た図である。
図13に示す上側の半割軸受を軸線方向から見た図である。
図14に示す半割軸受を外周面側から見た平面図である。
図15に示す半割軸受の線D-Dに沿った断面図である。
図16に示す半割軸受のE部の拡大図である。
【発明を実施するための形態】
(【0011】以降は省略されています)
この特許をJ-PlatPat(特許庁公式サイト)で参照する
関連特許
個人
鍋虫ねじ
1か月前
個人
回転伝達機構
1か月前
個人
紛体用仕切弁
1か月前
個人
ホース保持具
5か月前
個人
トーションバー
6か月前
個人
差動歯車用歯形
3か月前
個人
ジョイント
14日前
株式会社不二工機
電磁弁
3か月前
個人
ボルトナットセット
6か月前
株式会社不二工機
電磁弁
4か月前
個人
地震の揺れ回避装置
2か月前
個人
ナット
15日前
個人
回転式配管用支持具
7か月前
個人
吐出量監視装置
1か月前
カヤバ株式会社
緩衝器
2か月前
カヤバ株式会社
緩衝器
2か月前
カヤバ株式会社
ダンパ
3か月前
柿沼金属精機株式会社
分岐管
1か月前
株式会社三協丸筒
枠体
6か月前
カヤバ株式会社
緩衝器
6か月前
個人
ベルトテンショナ
7か月前
カヤバ株式会社
ダンパ
3か月前
個人
固着具と固着具の固定方法
4か月前
株式会社奥村組
制振機構
4日前
株式会社奥村組
制振機構
4日前
個人
角型菅の連結構造及び工法
7か月前
日東精工株式会社
樹脂被覆ねじ
6か月前
個人
固着具と固着具の固定方法
4か月前
株式会社タカギ
水栓装置
1か月前
株式会社不二工機
電磁弁
1か月前
個人
固着具と固着具の固定方法
4か月前
株式会社不二工機
電動弁
6か月前
株式会社ノーリツ
分配弁
4か月前
株式会社ノーリツ
分配弁
4か月前
株式会社ノーリツ
分配弁
4か月前
アズビル株式会社
回転弁
8日前
続きを見る
他の特許を見る