TOP
|
特許
|
意匠
|
商標
特許ウォッチ
Twitter
他の特許を見る
10個以上の画像は省略されています。
公開番号
2025122918
公報種別
公開特許公報(A)
公開日
2025-08-22
出願番号
2024018667
出願日
2024-02-09
発明の名称
熱伝達抑制シート及びその製造方法、並びに組電池
出願人
イビデン株式会社
代理人
弁理士法人栄光事務所
主分類
F16L
59/02 20060101AFI20250815BHJP(機械要素または単位;機械または装置の効果的機能を生じ維持するための一般的手段)
要約
【課題】所望の強度及び断熱性を有し、サイズ及び断熱性等の多様な設計に柔軟に対応することができる熱伝達抑制シートを提供する。
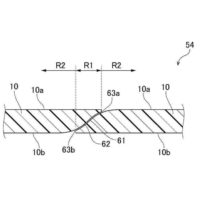
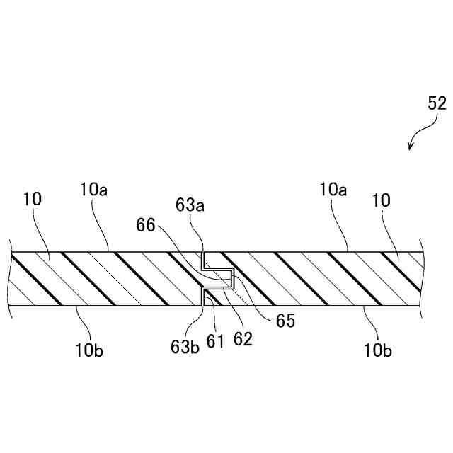
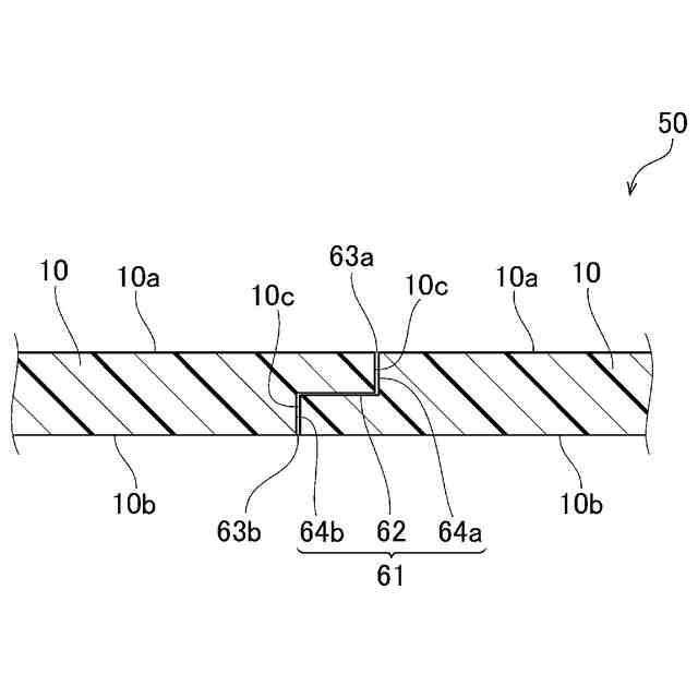
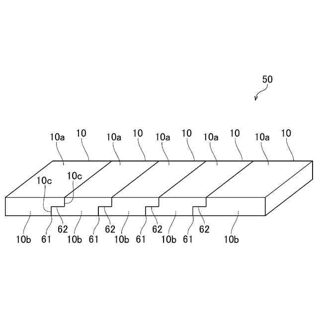
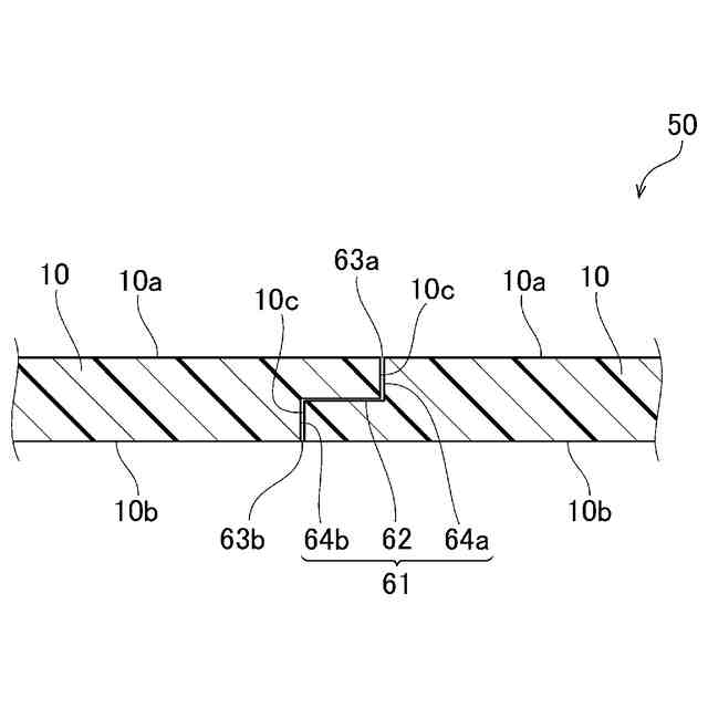
【解決手段】熱伝達抑制シート50は、複数の断熱材10が結合されてなり、断熱材10は、一対の主面10a、10bと、一対の主面10a、10bを連結する連結面10cと、を有し、複数の断熱材10の連結面10c同士が対向して配置され、断熱材10同士を結合する結合面61が形成されている。一対の主面10a、10bに直交するとともに、断熱材10が隣り合う方向に平行な断面視において、結合面は、一方の主面10a側の第1端部63aと、他方の主面10b側の第2端部63bとの間に熱伝達阻止部62を有する。熱伝達阻止部62は、第1端部63a及び第2端部63bの少なくとも一方から主面10a、10bに平行な方向にずれた位置に存在する。
【選択図】図2
特許請求の範囲
【請求項1】
無機粒子を含む複数の断熱材が結合されてなる熱伝達抑制シートであって、
前記断熱材は、一対の主面と、前記一対の主面を連結する連結面と、を有し、
複数の前記断熱材の連結面同士が対向して配置され、前記断熱材同士を結合する結合面が形成されており、
前記一対の主面に直交するとともに、前記断熱材が隣り合う方向に平行な断面視において、
前記結合面における一方の主面側の端部を第1端部とし、他方の主面側の端部を第2端部とした場合に、前記結合面は、前記第1端部と前記第2端部との間に熱伝達阻止部を有し、
前記熱伝達阻止部は、前記第1端部及び前記第2端部の少なくとも一方から前記主面に平行な方向にずれた位置に存在することを特徴とする、熱伝達抑制シート。
続きを表示(約 1,200 文字)
【請求項2】
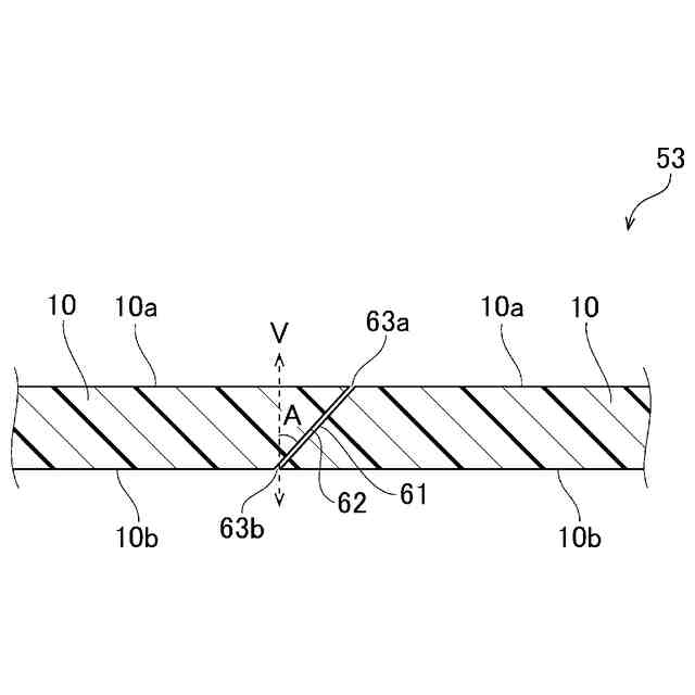
前記断面視において、前記熱伝達阻止部は、前記断熱材の厚さ方向とは異なる方向に延びる領域を有することを特徴とする、請求項1に記載の熱伝達抑制シート。
【請求項3】
前記断面視において、前記熱伝達阻止部は、前記断熱材の厚さ方向に対して、20°以上160°以下の角度である領域を有することを特徴とする、請求項2に記載の熱伝達抑制シート。
【請求項4】
前記断面視において、前記第1端部は、前記第2端部に対して、前記主面に平行な方向にずれた位置に存在することを特徴とする、請求項1に記載の熱伝達抑制シート。
【請求項5】
前記断面視において、前記第1端部と前記第2端部とは、前記断熱材の厚さ方向に対称の位置に存在し、
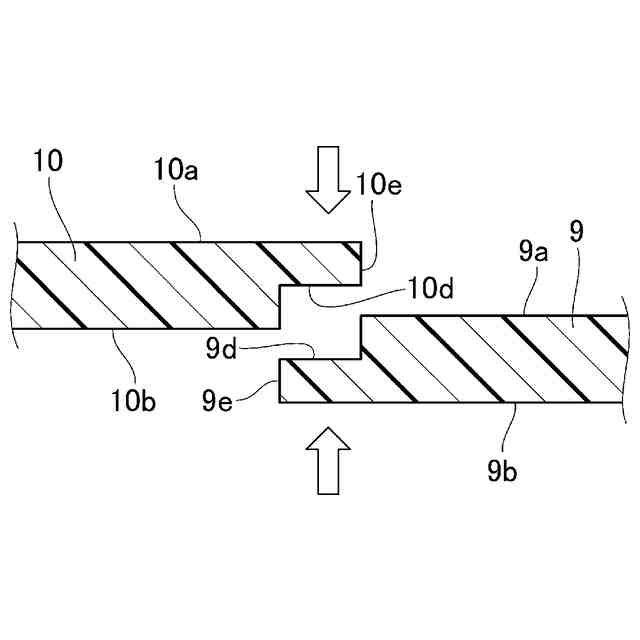
隣り合う前記断熱材のうち、一方の断熱材の前記連結面は凸状部を有し、他方の断熱材の前記連結面は、前記凸状部に嵌合する形状の凹状部を有し、前記凸状部と前記凹状部とが嵌合されて隣り合う前記断熱材が結合されていることを特徴とする、請求項1に記載の熱伝達抑制シート。
【請求項6】
前記断熱材の厚さ方向に前記熱伝達阻止部を含む領域における前記断熱材の密度をM1とし、厚さ方向に前記熱伝達阻止部を含まない領域における前記断熱材の密度をM2とする場合に、前記密度M2に対する前記密度M1の比(M1/M2)は、1.2以上であることを特徴とする、請求項1に記載の熱伝達抑制シート。
【請求項7】
前記断熱材は、有機繊維を有することを特徴とする、請求項1に記載の熱伝達抑制シート。
【請求項8】
前記結合面の少なくとも一部の領域において、前記結合面を構成する隣り合う前記断熱材の連結面同士が接着されていることを特徴とする、請求項1に記載の熱伝達抑制シート。
【請求項9】
前記結合面の少なくとも一部の領域において、前記結合面を構成する隣り合う前記断熱材の連結面同士が熱融着されていることを特徴とする、請求項1に記載の熱伝達抑制シート。
【請求項10】
請求項1~7のいずれか1項に記載の熱伝達抑制シートを製造する製造方法であって、
互いに結合させる2枚の前記断熱材のうち、一方の断熱材の端面の少なくとも一部の領域が、前記断熱材の厚さ方向とは異なる方向に延びるように、前記端面を加工して第1連結面を作製する第1加工工程と、
互いに結合させる2枚の前記断熱材のうち、他方の断熱材の端面が、前記一方の断熱材の前記第1連結面に沿う形状となるように、前記他方の断熱材の端面を加工して第2連結面を作製する第2加工工程と、
前記第1連結面と、前記第2連結面とを対向させて、前記一方の断熱材と前記他方の断熱材とを配置し、前記第1連結面と前記第2連結面とが結合された前記結合面を形成する結合面形成工程と、を有することを特徴とする熱伝達抑制シートの製造方法。
(【請求項11】以降は省略されています)
発明の詳細な説明
【技術分野】
【0001】
本発明は、熱伝達抑制シート及びその製造方法、並びに該熱伝達抑制シートを有する組電池に関する。
続きを表示(約 1,500 文字)
【背景技術】
【0002】
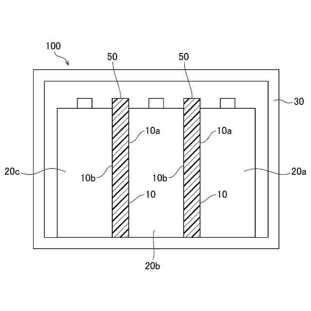
近年、環境保護の観点から電動モータで駆動する電気自動車又はハイブリッド車等の開発が盛んに進められている。この電気自動車又はハイブリッド車等には、駆動用電動モータの電源となるための、複数の電池セルが直列又は並列に接続された組電池が搭載されている。
【0003】
また、この電池セルには、鉛蓄電池やニッケル水素電池等に比べて、高容量かつ高出力が可能なリチウムイオン二次電池が主に用いられている。そして、電池の内部短絡や過充電等が原因で、ある電池セルが急激に昇温し、その後も発熱を継続するような熱暴走を起こした場合、熱暴走を起こした電池セルからの熱が、隣接する他の電池セルに伝播することで、他の電池セルの熱暴走を引き起こすおそれがある。
【0004】
上記のような熱暴走を起こした電池セルからの熱の伝播を抑制する方法として、電池セル間に断熱シートを介在させる方法が一般的に行われている。
例えば、特許文献1には、電気自動車に使用するための耐炎性電気絶縁材料が提案されている。上記絶縁材料は、ガラス繊維と、所定の材料を含む微粒子充填剤混合物と、無機結合剤とを含み、燃焼性等級が規定されている。
【0005】
また、特許文献2には、従来の断熱シートよりも優れた強度及び断熱性能を得る方法として、無機粒子と、芯鞘構造を有するバインダ繊維と、ホットメルトパウダーと、を含む混合物を乾式法によりシート状に加工して熱伝達抑制シートを製造する方法も提案されている。
【0006】
ところで、近時の電池セルの大容量化への要求に伴い、板状の電池セルにおいて、一対の端面のみを従来のものよりも大幅に長く形成された長型の電池セルが開発されている。したがって、このような長型の電池セル間に配置する断熱シートにおいても、電池セルのサイズに合わせて大型化する必要がある。
【先行技術文献】
【特許文献】
【0007】
特表2021-531631号公報
特開2023-132944号公報
【発明の概要】
【発明が解決しようとする課題】
【0008】
しかしながら、上記長型の電池セルにおいては、長手方向の長さが1mを超えるものもあり、例えば、従来の小型のサイズの断熱シートを接合して大型化すると、接合の部分で断熱性が低下することがある。一方、長型の電池セルのサイズに合わせて、所望の強度及び断熱性を有する断熱シートを製造しようとすると、新たな製造装置が必要になり、製造コストが上昇する。仮に1枚の大型の断熱シートを製造した場合であっても、領域によって断熱性にばらつきが生じたり、領域によって異なる断熱性を付与したい場合等に設計が困難となることがある。このような問題点は、従来のような小型のサイズの断熱材であっても発生するため、設計の自由度を向上させることができる熱伝達抑制シートについての開発への要求が高まっている。
【0009】
本発明は上記問題点に鑑みてなされたものであり、所望の強度及び断熱性を有し、サイズ及び断熱性等の多様な設計に柔軟に対応することができる熱伝達抑制シート、及び上記熱伝達抑制シートを容易に低コストで製造することができる熱伝達抑制シートの製造方法、並びにこの熱伝達抑制シートを有する組電池を提供することを目的とする。
【課題を解決するための手段】
【0010】
本発明の上記目的は、熱伝達抑制シートに係る下記[1]の構成により達成される。
(【0011】以降は省略されています)
この特許をJ-PlatPat(特許庁公式サイト)で参照する
関連特許
イビデン株式会社
配線基板
1日前
イビデン株式会社
配線基板の製造方法
2日前
イビデン株式会社
配線基板の製造方法
2日前
イビデン株式会社
配線基板の製造方法
2日前
イビデン株式会社
配線基板の製造方法
2日前
イビデン株式会社
マット材及び保持シール材
1日前
個人
鍋虫ねじ
1か月前
個人
紛体用仕切弁
1か月前
個人
回転伝達機構
2か月前
個人
差動歯車用歯形
3か月前
個人
ジョイント
21日前
個人
給排気装置
3日前
個人
ナット
22日前
株式会社不二工機
電磁弁
3か月前
個人
地震の揺れ回避装置
2か月前
株式会社不二工機
電磁弁
4か月前
個人
吐出量監視装置
1か月前
柿沼金属精機株式会社
分岐管
1か月前
カヤバ株式会社
ダンパ
3か月前
カヤバ株式会社
ダンパ
3か月前
カヤバ株式会社
緩衝器
3か月前
カヤバ株式会社
緩衝器
3か月前
カヤバ株式会社
緩衝器
2日前
株式会社タカギ
水栓装置
2か月前
株式会社奥村組
制振機構
11日前
株式会社不二工機
電磁弁
1か月前
アズビル株式会社
回転弁
15日前
株式会社不二工機
電動弁
3日前
個人
固着具と固着具の固定方法
4か月前
個人
固着具と固着具の固定方法
4か月前
株式会社ニフコ
クリップ
7日前
個人
固着具と固着具の固定方法
4か月前
株式会社ノーリツ
分配弁
7日前
株式会社フジキン
ボールバルブ
4か月前
株式会社奥村組
制振機構
11日前
井関農機株式会社
作業車両
3か月前
続きを見る
他の特許を見る