TOP
|
特許
|
意匠
|
商標
特許ウォッチ
Twitter
他の特許を見る
10個以上の画像は省略されています。
公開番号
2025121771
公報種別
公開特許公報(A)
公開日
2025-08-20
出願番号
2024017461
出願日
2024-02-07
発明の名称
高炉操業方法
出願人
日本製鉄株式会社
代理人
弁理士法人太陽国際特許事務所
主分類
C21B
5/00 20060101AFI20250813BHJP(鉄冶金)
要約
【課題】還元鉄による還元材比の低減効率を高めることを目的とする。
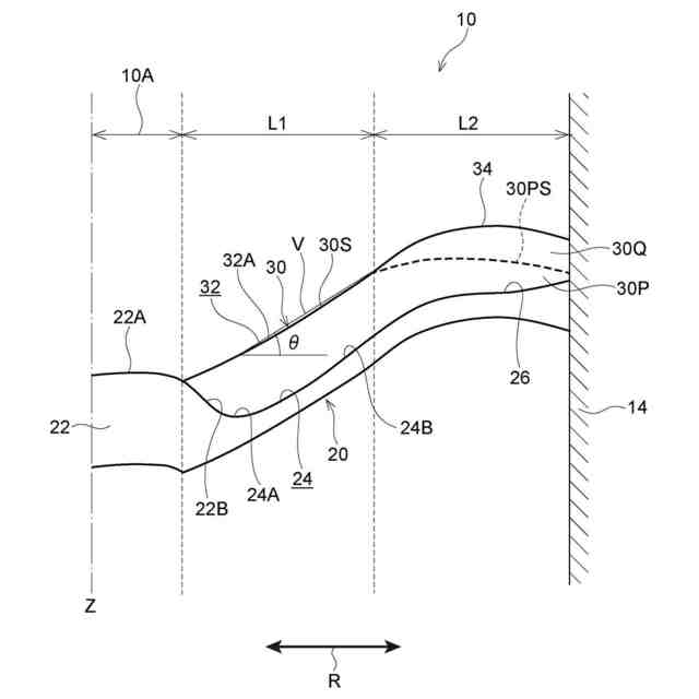
【解決手段】高炉操業方法は、高炉10にコークスを装入し、高炉10の中心部10Aが山状部22となるコークス層20を形成し、鉱石類に還元鉄を予め混合した第一混合物を、山状部22の山頂22Aを覆わないように、コークス層20上の第一領域L1及び第二領域L2に装入し、鉱石類層30の第一混合物層30Pを形成し、鉱石類に還元鉄を予め混合するとともに、鉱石類に対する還元鉄の質量比が第一混合物よりも高い第二混合物を、第一混合物層30P上の第二領域L2に装入し、鉱石類層30の第二混合物層30Qを形成する。
【選択図】図2
特許請求の範囲
【請求項1】
高炉内にコークス層と鉱石類層とを交互に堆積させる高炉操業方法であって、前記鉱石類層が、前記高炉の径方向に沿った縦断面において、前記鉱石類層の表面の傾斜角度が前記高炉の中心部側から前記高炉の炉壁側へ向けて上方へ20度以上となる第一領域と、前記第一領域よりも前記炉壁側に位置する第二領域と、を有する高炉操業方法において、
前記鉱石類層上にコークスを装入し、前記高炉の中心部が山状部となる前記コークス層を形成し、
鉱石類に還元鉄を予め混合した第一混合物を、前記山状部の山頂を覆わないように、前記コークス層上の前記第一領域及び前記第二領域に装入し、前記鉱石類層の第一混合物層を形成し、
鉱石類に還元鉄を予め混合するとともに、鉱石類に対する還元鉄の質量比が前記第一混合物よりも高い第二混合物を、前記第一混合物層上の前記第二領域に装入し、前記鉱石類層の第二混合物層を形成する、
高炉操業方法。
続きを表示(約 500 文字)
【請求項2】
前記鉱石類層上にコークスを装入し、前記中心部が前記山状部となるとともに、前記山状部の前記炉壁側が谷状部となる前記コークス層を形成する、
請求項1に記載の高炉操業方法。
【請求項3】
前記高炉の半径を1とした場合、
前記高炉の半径の0.2よりも前記炉壁側に前記第一混合物を装入し、前記コークス層上に前記第一混合物層を形成する、
請求項1に記載の高炉操業方法。
【請求項4】
前記高炉の半径を1とした場合、
前記高炉の半径の0.5よりも前記炉壁側に前記第二混合物を装入し、前記第一混合物層上に前記第二混合物層を形成する、
請求項1に記載の高炉操業方法。
【請求項5】
前記高炉の半径の0.6よりも前記炉壁側に前記第二混合物を装入し、前記第一混合物層上に前記第二混合物層を形成する、
請求項4に記載の高炉操業方法。
【請求項6】
前記コークス層上に前記第一混合物を複数回に分けて装入し、前記第一混合物層を形成する、
請求項1~請求項5の何れか1項に記載の高炉操業方法。
発明の詳細な説明
【技術分野】
【0001】
本発明は、高炉操業方法に関する。
続きを表示(約 1,500 文字)
【背景技術】
【0002】
高炉内にコークス層と鉱石類層とを交互に堆積させる高炉操業方法において、コークス等の還元材比(RAR)を低減するために、炉頂から高炉内に、鉱石類に加えて還元鉄を装入する高炉操業方法がある(例えば、特許文献1~7参照)。
【先行技術文献】
【特許文献】
【0003】
特開平11-315308号公報
特開2001-271104号公報
特開2001-064705号公報
特開2002-327205号公報
特開2017-088950号公報
特開2019-183270号公報
特開2022-042774号公報
【発明の概要】
【発明が解決しようとする課題】
【0004】
一般に、高炉の中心部では、通気性等を確保する観点から、コークス層に対する鉱石類層の質量比(O/C)が低くされる。
【0005】
一方、還元鉄は、一般に、鉱石類と比較して粒子径が大きく、炉頂から高炉内に装入した際に、高炉の中心部へ流動し易い。そのため、炉頂から高炉内に鉱石類及び還元鉄を装入すると、還元鉄が高炉の中心部へ流動し、当該中心部において、鉱石類層内の還元鉄の質量比(還元鉄/(還元鉄+鉱石類))が非常に高くなり易い。高炉の中心近傍(中心部)は、O/Cが低く、還元により除去しなければならない酸素量が少ない領域である。したがって、高炉の中心近傍(中心部)に還元鉄が大量に存在すると、還元鉄による還元材比の低減効率が低下する可能性がある。
【0006】
本発明は、上記の事実を考慮し、還元鉄による還元材比の低減効率を高めることを目的とする。
【課題を解決するための手段】
【0007】
第1態様に記載の高炉操業方法は、高炉内にコークス層と鉱石類層とを交互に堆積させる高炉操業方法であって、前記鉱石類層が、前記高炉の径方向に沿った縦断面において、前記鉱石類層の表面の傾斜角度が前記高炉の中心部側から前記高炉の炉壁側へ向けて上方へ20度以上となる第一領域と、前記第一領域よりも前記炉壁側に位置する第二領域と、を有する高炉操業方法において、前記鉱石類層上にコークスを装入し、前記高炉の中心部が山状部となる前記コークス層を形成し、鉱石類に還元鉄を予め混合した第一混合物を、前記山状部の山頂を覆わないように、前記コークス層上の前記第一領域及び前記第二領域に装入し、前記鉱石類層の第一混合物層を形成し、鉱石類に還元鉄を予め混合するとともに、鉱石類に対する還元鉄の質量比が前記第一混合物よりも高い第二混合物を、前記第一混合物層上の前記第二領域に装入し、前記鉱石類層の第二混合物層を形成する。
【0008】
上記態様によれば、高炉内にコークス層と鉱石類層とを交互に堆積させる。鉱石類層は、高炉の径方向に沿った縦断面において、第一領域と、第二領域とを有する。第一領域は、鉱石類層の表面の傾斜角度が、高炉の中心部側から高炉の炉壁側へ向けて上方へ20度以上となる。また、第二領域は、第一領域よりも炉壁側に位置する。
【0009】
このような高炉操業方法において、鉱石類層上にコークスを装入し、高炉の中心部が山状部となるコークス層を形成する。
【0010】
次に、鉱石類に還元鉄を予め混合した第一混合物を、山状部の山頂を覆わないように、コークス層上の第一領域及び第二領域に装入し、鉱石類層の第一混合物層を形成する。
(【0011】以降は省略されています)
この特許をJ-PlatPat(特許庁公式サイト)で参照する
関連特許
日本製鉄株式会社
線材
11日前
日本製鉄株式会社
橋脚構造
15日前
日本製鉄株式会社
溶接継手
9日前
日本製鉄株式会社
腐食センサ
15日前
日本製鉄株式会社
高Ni合金鋼
15日前
日本製鉄株式会社
管理システム
15日前
日本製鉄株式会社
高Ni合金鋼
15日前
日本製鉄株式会社
原油油槽用鋼材
11日前
日本製鉄株式会社
鉄鉱石の選別方法
15日前
日本製鉄株式会社
鉄道車両用の車軸
9日前
日本製鉄株式会社
鉄鉱石の選別方法
8日前
日本製鉄株式会社
スラグの処理方法
16日前
日本製鉄株式会社
金属部品の製造方法
15日前
日本製鉄株式会社
溶鋼の脱窒処理方法
15日前
日本製鉄株式会社
鉄道車両用の台車枠
10日前
日本製鉄株式会社
腐食モニタリング装置
1日前
日本製鉄株式会社
分離システム及び分離方法
1日前
日本製鉄株式会社
分離システム及び分離方法
1日前
日本製鉄株式会社
フェライト系ステンレス鋼板
15日前
日本製鉄株式会社
鋼管の連結構造および鋼管杭
15日前
日本製鉄株式会社
鋼管の連結構造および鋼管杭
15日前
日本製鉄株式会社
ワカメ藻体及びその育成方法
15日前
日本製鉄株式会社
電気炉による溶鋼の製造方法
1日前
日本製鉄株式会社
鋼の連続鋳造鋳片の製造方法
1日前
日本製鉄株式会社
鋼の連続鋳造鋳片の冷却方法
1日前
日本製鉄株式会社
腐食センサ及び腐食測定方法
15日前
日本製鉄株式会社
橋脚構造及び橋脚構造の施工方法
15日前
日本製鉄株式会社
護岸構造及び護岸構造の施工方法
16日前
日本製鉄株式会社
試験体分析装置及び試験体分析方法
4日前
日本製鉄株式会社
試験体分析装置及び試験体分析方法
4日前
日本製鉄株式会社
演算装置、演算方法および演算プログラム
8日前
日本製鉄株式会社
耐摩耗ライナー、耐摩耗ライナーの製造方法
15日前
日本製鉄株式会社
プレコート金属板、部材及び表面処理金属板
1日前
日本製鉄株式会社
プレス成形品の製造方法、及び、プレス装置
11日前
日本製鉄株式会社
堤防補強構造および堤防補強構造の施工方法
8日前
日本製鉄株式会社
表面処理鋼板およびそれを用いた自動車用部材
15日前
続きを見る
他の特許を見る