TOP
|
特許
|
意匠
|
商標
特許ウォッチ
Twitter
他の特許を見る
公開番号
2025121423
公報種別
公開特許公報(A)
公開日
2025-08-20
出願番号
2024016740
出願日
2024-02-07
発明の名称
空調システム及び空調システムの制御方法
出願人
株式会社九電工
代理人
個人
,
個人
,
個人
主分類
F24F
11/85 20180101AFI20250813BHJP(加熱;レンジ;換気)
要約
【課題】差圧一定制御を実施する場合に消費するエネルギーを低減することができる空調システム及び空調システムの制御方法を提供する。
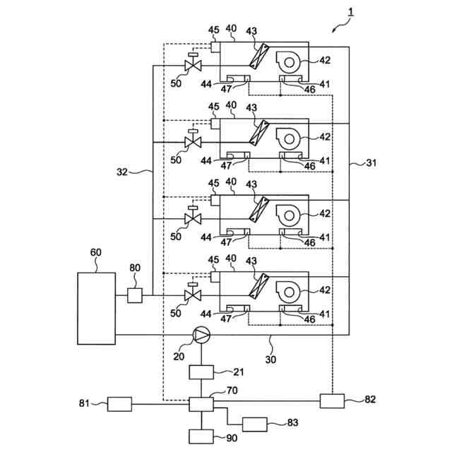
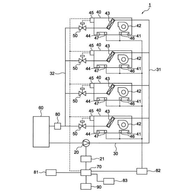
【解決手段】冷温水の変流量制御を差圧一定制御により行う空調システム1は、冷温水を加熱又は冷却する熱源60と、内部に冷温水が流通する複数の空調機40と、各空調機40に冷温水を供給する冷温水ポンプ20と、熱源60と、冷温水ポンプ20と、各空調機40とを接続する配管30と、各空調機40の送風温度を検出する吹出口センサ47と、冷温水ポンプ20の冷温水ポンプ出力を設定するポンプ出力設定部90と、ポンプ出力設定部90が設定した冷温水ポンプ出力で冷温水ポンプ20を運転する制御部70とを備え、ポンプ出力設定部90は、吹出口センサ47が検出した各空調機40の送風温度が空調温度制御のために必要な送風温度範囲の範囲内となるように、冷温水ポンプ20の冷温水ポンプ出力を設定する。
【選択図】図1
特許請求の範囲
【請求項1】
冷温水を加熱又は冷却する熱源と、
内部に前記冷温水が流通する複数の空調機と、
前記各空調機に前記冷温水を供給する冷温水ポンプと、
前記熱源と、前記冷温水ポンプと、前記各空調機とを接続する配管と、
前記各空調機の送風温度を検出する送風温度検出部と、
前記冷温水ポンプの冷温水ポンプ出力を設定するポンプ出力設定部と、
前記ポンプ出力設定部が設定した前記冷温水ポンプ出力で前記冷温水ポンプを運転する制御部と
を備え、
前記ポンプ出力設定部は、前記送風温度検出部が検出した前記各空調機の送風温度が空調温度制御のために必要な送風温度範囲の範囲内となるように、前記冷温水ポンプの前記冷温水ポンプ出力を設定する空調システム。
続きを表示(約 880 文字)
【請求項2】
前記ポンプ出力設定部は、前記各空調機の送風温度が前記送風温度範囲の範囲内にあるときには前記冷温水ポンプから送出される前記冷温水の圧力と、前記冷温水ポンプに流入する前記冷温水の圧力との差である差圧を減少させるように前記冷温水ポンプ出力を設定し、前記各空調機の送風温度が前記送風温度範囲の範囲外にあるときには前記差圧を増加させるように前記冷温水ポンプ出力を設定する請求項1に記載の空調システム。
【請求項3】
前記ポンプ出力設定部は、前記各空調機の送風温度が前記送風温度範囲の上限に対して予め決められた値以上であるとき又は前記送風温度範囲の下限に対して予め決められた値以下であるときには、前記差圧が予め決められた所定の差圧となるように前記冷温水ポンプ出力を設定する請求項2に記載の空調システム。
【請求項4】
冷温水を加熱又は冷却する熱源と、
内部に前記冷温水が流通する複数の空調機と、
前記各空調機に前記冷温水を供給する冷温水ポンプと、
前記熱源と、前記冷温水ポンプと、前記各空調機とを接続する配管と、
前記各空調機の送風温度を検出する送風温度検出部と、
前記冷温水ポンプの冷温水ポンプ出力を設定するポンプ出力設定部と、
前記ポンプ出力設定部が設定した前記冷温水ポンプ出力で前記冷温水ポンプを制御する制御部と、
を備える空調システムの制御方法において、
前記送風温度検出部が前記各空調機の前記送風温度を検出するステップと、
前記送風温度検出部が検出した前記各空調機の前記送風温度が、空調温度制御のために必要な送風温度範囲の範囲内にあるときには、前記ポンプ出力設定部は、差圧を減少させるように前記冷温水ポンプ出力を設定し、前記各空調機の前記送風温度が、空調温度制御のために必要な送風温度範囲の範囲外にあるときには、前記ポンプ出力設定部は、前記差圧を増加させるように前記冷温水ポンプ出力を設定するステップとを有する空調システムの制御方法。
発明の詳細な説明
【技術分野】
【0001】
この発明は空調システム及び空調システムの制御方法に関する。
続きを表示(約 2,300 文字)
【背景技術】
【0002】
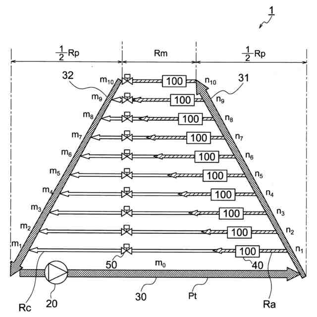
従来の空調システムとして、例えば特許文献1に記載されているような空調システムが知られている。この従来の空調システムは、熱源と、室内に設けられ、熱源に冷温水配管により接続された複数の空調機と、冷温水配管に設けられ熱源と空調機との間で冷温水を循環させるポンプとを有している。
【0003】
また、従来のこの空調システムにおいて、ポンプから送出される冷温水の圧力と、ポンプに流入する冷温水の圧力との差である差圧を一定にして、各空調機に流れる冷温水の流量を安定化する差圧一定制御が知られている。この空調システムの複数の空調機のうちポンプから最も遠い位置に設けられている空調機が、ポンプと該空調機との間の配管抵抗による冷温水の圧力損失が最も大きい。そのため、このような差圧一定制御においては、ポンプから最も遠い位置に設けられている空調機に供給される冷温水の圧力が、空調機の運転のために十分な余裕のある圧力となるように、冷温水循環の差圧が設定される。
【先行技術文献】
【特許文献】
【0004】
特開2018-173221号公報
【発明の概要】
【発明が解決しようとする課題】
【0005】
しかしながら、従来の空調システムにおいて差圧一定制御を実施する場合には、上述したようにポンプから最も遠い位置に設けられている空調機に対応して冷温水循環の差圧が設定されるため、ポンプの近傍に設けられている空調機では供給される冷温水の圧力が過大となる。そのため、ポンプの近傍に設けられている空調機への冷温水の圧力は接続されている配管の制御弁により抵抗を与えて減少させており、空調システムの消費するエネルギーが大きいという問題点があった。
【0006】
この発明は、このような問題を解決するためになされたものであり、差圧一定制御を実施する場合に消費するエネルギーを低減することができる空調システム及び空調システムの制御方法を提供することを目的とする。
【課題を解決するための手段】
【0007】
上記の課題を解決するために、この発明に係る空調システムは、冷温水を加熱又は冷却する熱源と、内部に冷温水が流通する複数の空調機と、各空調機に冷温水を供給する冷温水ポンプと、熱源と、冷温水ポンプと、各空調機とを接続する配管と、各空調機の送風温度を検出する送風温度検出部と、冷温水ポンプの冷温水ポンプ出力を設定するポンプ出力設定部と、ポンプ出力設定部が設定した冷温水ポンプ出力で冷温水ポンプを運転する制御部とを備え、ポンプ出力設定部は、送風温度検出部が検出した各空調機の送風温度が空調温度制御のために必要な送風温度範囲の範囲内となるように、冷温水ポンプの冷温水ポンプ出力を設定する。
【0008】
また、ポンプ出力設定部は、各空調機の送風温度が送風温度範囲の範囲内にあるときには冷温水ポンプから送出される冷温水の圧力と、冷温水ポンプに流入する冷温水の圧力との差である差圧を減少させるように冷温水ポンプ出力を設定し、各空調機の送風温度が送風温度範囲の範囲外にあるときには差圧を増加させるように冷温水ポンプ出力を設定してもよい。
また、ポンプ出力設定部は、各空調機の送風温度が送風温度範囲の上限に対して予め決められた値以上であるとき又は送風温度範囲の下限に対して予め決められた値以下であるときには、差圧が予め決められた所定の差圧となるように冷温水ポンプ出力を設定してもよい。
【0009】
また、上記の課題を解決するために、この発明に係る空調システムの制御方法は、冷温水を加熱又は冷却する熱源と、内部に冷温水が流通する複数の空調機と、各空調機に冷温水を供給する冷温水ポンプと、熱源と、冷温水ポンプと、各空調機とを接続する配管と、各空調機の送風温度を検出する送風温度検出部と、冷温水ポンプの冷温水ポンプ出力を設定するポンプ出力設定部と、ポンプ出力設定部が設定した冷温水ポンプ出力で冷温水ポンプを制御する制御部とを備える空調システムの制御方法において、送風温度検出部が各空調機の送風温度を検出するステップと、送風温度検出部が検出した各空調機の送風温度が、空調温度制御のために必要な送風温度範囲の範囲内にあるときには、ポンプ出力設定部は、差圧を減少させるように冷温水ポンプ出力を設定し、各空調機の送風温度が、空調温度制御のために必要な送風温度範囲の範囲外にあるときには、ポンプ出力設定部は、差圧を増加させるように冷温水ポンプ出力を設定するステップとを有する。
【発明の効果】
【0010】
この発明に係る空調システム及び空調システムの制御方法は、冷温水を加熱又は冷却する熱源と、内部に冷温水が流通する複数の空調機と、各空調機に冷温水を供給する冷温水ポンプと、熱源と、冷温水ポンプと、各空調機とを接続する配管と、各空調機の送風温度を検出する送風温度検出部と、冷温水ポンプの冷温水ポンプ出力を設定するポンプ出力設定部と、ポンプ出力設定部が設定した冷温水ポンプ出力で冷温水ポンプを運転する制御部とを備える空調システムにおいて、ポンプ出力設定部が、送風温度検出部が検出した各空調機の送風温度が空調温度制御のために必要な送風温度範囲の範囲内となるように、冷温水ポンプの冷温水ポンプ出力を設定するため、差圧一定制御を実施する場合に消費するエネルギーを低減することができる。
【図面の簡単な説明】
(【0011】以降は省略されています)
この特許をJ-PlatPat(特許庁公式サイト)で参照する
関連特許
株式会社九電工
ファン付き作業着用雨合羽
4日前
株式会社九電工
空調システム及び空調システムの制御方法
1か月前
個人
空気調和機
4か月前
個人
エアコン室内機
3か月前
株式会社コロナ
加湿装置
6か月前
株式会社コロナ
加湿装置
16日前
株式会社コロナ
加湿装置
4か月前
株式会社コロナ
給湯装置
2か月前
株式会社コロナ
空調装置
25日前
株式会社コロナ
空調装置
1か月前
株式会社コロナ
空調装置
6か月前
株式会社コロナ
空調装置
5か月前
株式会社コロナ
加湿装置
5か月前
株式会社コロナ
空調装置
3か月前
株式会社コロナ
空調装置
6日前
個人
住宅換気空調システム
1か月前
株式会社コロナ
空気調和機
5か月前
株式会社コロナ
風呂給湯機
24日前
株式会社コロナ
空気調和機
1か月前
株式会社コロナ
空気調和機
2か月前
株式会社コロナ
暖房システム
6日前
ホーコス株式会社
排気フード
2か月前
株式会社コロナ
貯湯式給湯機
10日前
株式会社コロナ
貯湯式給湯機
4か月前
株式会社コロナ
直圧式給湯機
2か月前
株式会社コロナ
貯湯式給湯機
2日前
株式会社パロマ
給湯器
2か月前
株式会社コロナ
直圧式給湯機
1か月前
株式会社コロナ
貯湯式給湯装置
5か月前
株式会社コロナ
貯湯式給湯装置
4か月前
ホーコス株式会社
換気扇取付枠
25日前
株式会社コロナ
輻射式冷房装置
1か月前
株式会社コロナ
貯湯式給湯装置
3か月前
三菱電機株式会社
送風機
5か月前
株式会社コロナ
貯湯式給湯装置
3か月前
株式会社コロナ
貯湯式給湯装置
5か月前
続きを見る
他の特許を見る