TOP
|
特許
|
意匠
|
商標
特許ウォッチ
Twitter
他の特許を見る
公開番号
2025119572
公報種別
公開特許公報(A)
公開日
2025-08-14
出願番号
2024210833
出願日
2024-12-04
発明の名称
低温流体を保管し、配送するための装置及び方法
出願人
レール・リキード-ソシエテ・アノニム・プール・レテュード・エ・レクスプロワタシオン・デ・プロセデ・ジョルジュ・クロード
代理人
弁理士法人鈴榮特許綜合事務所
主分類
F17C
13/00 20060101AFI20250806BHJP(ガスまたは液体の貯蔵または分配)
要約
【課題】本発明は、例えば、液体水素などの低温流体を保管し、配送するための装置に関する。
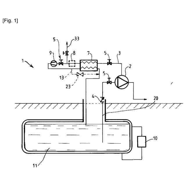
【解決手段】装置は、地下に埋められた低温貯蔵室と、地上に位置し、消費者に接続されるように設計された下流端を備える貯蔵室に接続された液体引込み回路とを備え、引込み回路は、地上に配置された低温ポンプを備え、装置は、貯蔵室に接続された下流端を有する、ポンプの内側で生成された気化ガスの回収を行うためのパイプを備え、気化ガスを回収するためのパイプは、貯蔵室に戻される気化ガスの圧力及び/又は流量を制御するための少なくとも1つのデバイスを備え、圧力及び/又は流量を制御するためのデバイスは、貯蔵室の内側の圧力を、ポンプの入口における圧力よりも大きい圧力レベルに制御するように構成される。
【選択図】図1
特許請求の範囲
【請求項1】
例えば、液体水素などの低温流体を保管し、配送するための装置であって、地下に埋められた低温貯蔵室(11)と、前記低温貯蔵室(11)に接続された上流端、及び地上に位置し、消費者に接続されるように設計された下流端を備える液体引込み回路(20)とを備え、前記液体引込み回路(20)は、地上に配置された低温ポンプ(2)を備え、前記装置(1)は、前記低温ポンプ(2)に接続された上流端と、前記低温貯蔵室(11)に接続された下流端とを有する、前記低温ポンプ(2)の内側で生成された気化ガスの回収を行うためのパイプ(3)を備える装置(1)において、
前記気化ガスを回収するための前記パイプ(3)が、前記低温貯蔵室(11)に戻される前記気化ガスの圧力及び/又は流量を制御するための少なくとも1つのデバイス(8、9)を備え、前記圧力及び/又は流量を制御するための前記デバイス(8、9)は、前記低温貯蔵室(11)の内側の圧力を、前記低温ポンプ(2)の入口における圧力よりも大きい圧力レベルに制御するように構成されていることを特徴とする、装置。
続きを表示(約 1,200 文字)
【請求項2】
前記圧力及び/又は流量を制御するための前記デバイスは、前記低温貯蔵室の内側の圧力を、前記低温ポンプ(2)の前記入口の圧力を超える5mbarと500mbarの間のレベルに制御するように構成されていることを特徴とする、請求項1に記載の装置。
【請求項3】
前記圧力及び/又は流量を制御するための前記デバイス(8、9)は、加熱器(8)と、熱交換器(7)と、例えば、低温圧縮機などの圧縮機(9)とのうちの少なくとも1つを備えることを特徴とする、請求項1又は2に記載の装置。
【請求項4】
前記圧力及び/又は流量を制御するための前記デバイス(8、9)は、直列に配置された加熱用熱交換器(7)と圧縮機(9)とを備えることを特徴とする、請求項3に記載の装置。
【請求項5】
前記気化ガスを回収するための前記パイプ(3)は、2つの分離した通路であって、それぞれ、圧縮前に前記気化ガスの加熱を、そして前記低温貯蔵室(11)への注入前に冷却を行うために、それぞれ、前記圧縮機(9)における圧縮の前後に、前記加熱用熱交換器(7)において2つの分離した通路を備えることを特徴とする、請求項4に記載の装置。
【請求項6】
前記気化ガスを回収するための前記パイプ(3)は、気化ガスの流れの少なくとも一部が、前記熱交換器(7)の中を通るのを回避できるように構成された、前記熱交換器からの迂回路(13)と、1つ又は複数の弁(23)の組立体とを備えることを特徴とする、請求項4又は5に記載の装置。
【請求項7】
前記気化ガスを回収するための前記パイプ(3)は、排出ゾーンに向けた弁を備える分岐したT継手(33)を備えることを特徴とする、請求項1から6のいずれか一項に記載の装置。
【請求項8】
自律的な、前記気化ガスを回収するための前記パイプ(3)及び制御するための前記デバイス(8、9)から分離された、前記低温貯蔵室を加圧するためのデバイス(10)を備えることを特徴とする、請求項1から7のいずれか一項に記載の装置。
【請求項9】
以下のステップ、すなわち、前記低温ポンプ(2)を介して前記低温貯蔵室から低温液体をポンプ送りするステップと、前記低温ポンプ(2)の領域で生成された前記気化ガスを回収するステップと、前記回収された気化ガスを圧縮するステップと、前記圧縮されたガスを決定された圧力で前記低温貯蔵室(11)に注入するステップとを備えることを特徴とする、請求項1から8のいずれか一項に記載の装置を用いて流体を引き込むための方法。
【請求項10】
前記回収された気化ガスを圧縮する前記ステップは、低温圧縮機により、又は非低温圧縮機により実施され、前記気化ガスは、前記非低温圧縮機の場合、圧縮前に加熱されることを特徴とする、請求項9に記載の方法。
(【請求項11】以降は省略されています)
発明の詳細な説明
【技術分野】
【0001】
本発明は、低温流体を保管し、配送するための装置及び方法に関する。より詳細には、本発明は、例えば、液体水素などの低温流体を保管し、配送するための装置であって、地下に埋められた低温貯蔵室と、前記貯蔵室に接続された上流端、及び地上に位置し、消費者に接続されるように設計された下流端を備える液体引込み回路とを備え、前記引込み回路は、地上に配置された低温ポンプを備え、装置は、ポンプに接続された上流端、及び貯蔵室に接続された下流端とを有する、ポンプの内側で生成された気化ガスの回収を行うためのパイプを備える、装置に関する。
続きを表示(約 2,000 文字)
【背景技術】
【0002】
水素を保管するためのスペース要件は、大きな問題である。1つの解決策は、地下の保管である。しかし、埋められた低温保管施設を地上の充填ポンプに接続することは、その様々な動作段階において、これらのポンプに供給する問題を生ずる。ポンプに液体を供給することは、従来、液体が正しくポンプの入口に達するように、保管施設に十分な高さの液体を有することにより、重力によって行われている。さらに、低温燃料ステーションにおいて、ポンプは、開始時に冷却される必要があり、その供給の一部に蒸発を生ずる(気化ガス「ボイルオフ(boil-off)ガス又はBOG」)。この気化ガスは、通常、保管施設の上部に向けてガスを伝える管路によって保管施設に戻される。保管施設がポンプの上にある場合、この戻りは自然に行われる。この機能は、保管施設の高い点がポンプの入口よりも低い構成の場合、提供するのがより困難になる。
【発明の概要】
【0003】
本発明の一目的は、上記に記載した従来技術の欠点のすべて、又はいくつかを改善することである。
【0004】
このため、本発明による装置、さらに上記のプリアンブルにより与えられた一般的な定義による装置は、気化ガスを回収するためのパイプが、貯蔵室に戻される気化ガスの圧力及び/又は流量を制御するための少なくとも1つのデバイスを備え、圧力及び/又は流量を制御するためのデバイスは、貯蔵室の内側の圧力を、ポンプの入口における圧力よりも大きい圧力レベルに制御するように構成されることを本質的に特徴とする。
【0005】
この構成は、ステーションの全体的な損失を低減するために、保管施設のポンプから気化ガスを回収できるようにすることによってその動作を確実にし、ポンプの正しい供給を保証できるようにする。
【0006】
さらに、本発明の実施形態は、1つ又は複数の以下の特徴を備えることができる、
- 圧力及び/又は流量を制御するためのデバイスは、貯蔵室の内側の圧力を、ポンプの入口の圧力を超える5mbarと500mbarの間のレベルに制御するように構成される、
- 圧力及び/又は流量を制御するためのデバイスは、加熱器と、熱交換器と、例えば、低温圧縮機などの圧縮機とのうちの少なくとも1つを備える、
- 圧力及び/又は流量を制御するためのデバイスは、直列に配置された加熱用熱交換器と圧縮機とを備える、
- 気化ガスを回収するためのパイプは、それぞれ、圧縮前に気化ガスの加熱を、また貯蔵室への注入前に冷却を行うために、それぞれ、圧縮機における圧縮の前後に、加熱用熱交換器において2つの分離した通路を備える、
- 気化ガスを回収するためのパイプは、気化ガスの流れの少なくとも一部が熱交換器の中を通るのを回避できるように構成された、熱交換器からの迂回路と、1つ又は複数の弁の組立体とを備える、
- 気化ガスを回収するためのパイプは、排出ゾーンに向けた弁を備える分岐したT継手を備える、
- 装置は、自律的な、気化ガスを回収するためのパイプ及び制御するためのデバイスから分離された、貯蔵室を加圧するためのデバイスを備える、
- 本発明はまた、上記又は以下の特徴のいずれか1つによる装置を用いて流体を引き込むための方法に関し、方法は以下のステップ、すなわち、ポンプを介して貯蔵室から低温流体をポンプ送りするステップと、ポンプの領域で生成された気化ガスを回収するステップと、回収された気化ガスを圧縮するステップと、圧縮されたガスを決定された圧力で貯蔵室に注入するステップとを備えることを特徴とする。
【0007】
さらに可能な特徴によれば、
- 回収された気化ガスを圧縮するステップは、低温圧縮機により、又は非低温圧縮機により実施され、気化ガスは、非低温圧縮機の場合、圧縮前に加熱される、
- 回収された気化ガスを圧縮するステップは、非低温圧縮機により実施され、また圧縮機の上流の気化ガスの流れとの熱交換を介して、圧縮された気化ガスを冷却するステップをさらに備える。
【0008】
本発明はまた、特許請求の範囲に含まれる上記の、又は以下の特徴の任意の組合せを備える任意の代替的なデバイス又は方法に関することができる。
【0009】
さらなる特徴及び利点は、図を参照して行われる以下の記述を読むことから明らかになろう。
【0010】
本発明は、単に例として提供され、添付図面を参照して行われる以下の記述を読むことにより、より明確に理解されよう。
【図面の簡単な説明】
(【0011】以降は省略されています)
この特許をJ-PlatPat(特許庁公式サイト)で参照する
関連特許
株式会社石井鐵工所
低温タンクの揚液装置
3か月前
株式会社石井鐵工所
低温タンクの揚液装置
5か月前
川崎重工業株式会社
竪型タンク
4か月前
川崎重工業株式会社
三重殻タンク
7か月前
川崎重工業株式会社
三重殻タンク
7か月前
川崎重工業株式会社
極低温流体用配管設備
3日前
大日本印刷株式会社
ガス充填容器
8か月前
川崎重工業株式会社
液化ガス貯蔵タンク
8か月前
川崎重工業株式会社
液化水素貯蔵タンク
8か月前
川崎重工業株式会社
液化水素貯蔵タンク
8か月前
トヨタ自動車株式会社
水素タンク
3か月前
帝人株式会社
繊維補強圧力容器及びその製造方法
2か月前
株式会社タツノ
充填ノズル
1か月前
株式会社タツノ
充填ノズル
22日前
那須電機鉄工株式会社
水素吸蔵合金タンク
8か月前
トヨタ自動車株式会社
水素充填装置
4か月前
岩谷産業株式会社
燃料ガス充填設備
12日前
川崎重工業株式会社
低温流体の移送システム
4か月前
株式会社神戸製鋼所
水素吸蔵合金容器
2か月前
豊田合成株式会社
圧力容器
6か月前
トヨタ自動車株式会社
水素消費システム
3か月前
トヨタ自動車株式会社
水素消費システム
4か月前
清水建設株式会社
水素貯蔵供給システム
7か月前
トヨタ自動車株式会社
タンクモジュール
6か月前
川崎重工業株式会社
三重殻タンクのパージ方法
7か月前
川崎重工業株式会社
再液化装置
8か月前
オリオン機械株式会社
燃料供給装置および発電システム
4か月前
トヨタ自動車株式会社
水素タンクシステム
4か月前
トヨタ自動車株式会社
カートリッジタンク
5か月前
オリオン機械株式会社
燃料供給装置および発電システム
5か月前
トヨタ自動車株式会社
水素タンクの支持構造
6か月前
JFEエンジニアリング株式会社
エネルギー貯蔵システム
2か月前
JFEエンジニアリング株式会社
エネルギー貯蔵システム
3か月前
JFEエンジニアリング株式会社
エネルギー貯蔵システム
2か月前
トヨタ自動車株式会社
高圧タンクの製造方法
6か月前
鹿島建設株式会社
水素吸蔵システム
7か月前
続きを見る
他の特許を見る