TOP
|
特許
|
意匠
|
商標
特許ウォッチ
Twitter
他の特許を見る
10個以上の画像は省略されています。
公開番号
2025117786
公報種別
公開特許公報(A)
公開日
2025-08-13
出願番号
2024012696
出願日
2024-01-31
発明の名称
量子計算装置、及び制御装置
出願人
NTT株式会社
代理人
弁理士法人ITOH
,
個人
,
個人
,
個人
主分類
G06N
10/20 20220101AFI20250805BHJP(計算;計数)
要約
【課題】二次元格子状に並んだセルを用いて量子誤り訂正を行う技術において、従来技術における充填率よりも大きな充填率を実現する。
【解決手段】制御装置と量子プロセッサとを有する量子計算装置において、前記量子プロセッサは、通路部、スキャン格納部、及び演算領域を備え、前記通路部、前記スキャン格納部、及び前記演算領域はそれぞれ1以上のセルを有し、前記制御装置は、前記スキャン格納部に格納された演算対象セルを、前記通路部を経由して前記演算領域に移動させ、前記演算領域において演算を行う操作部を備える。
【選択図】図11
特許請求の範囲
【請求項1】
制御装置と量子プロセッサとを有する量子計算装置であって、
前記量子プロセッサは、通路部、スキャン格納部、及び演算領域を備え、前記通路部、前記スキャン格納部、及び前記演算領域はそれぞれ1以上のセルを有し、
前記制御装置は、
前記スキャン格納部に格納された演算対象セルを、前記通路部を経由して前記演算領域に移動させ、前記演算領域において演算を行う操作部を備える
量子計算装置。
続きを表示(約 300 文字)
【請求項2】
前記スキャン格納部は、複数のデータセルと1以上の空白セルを有し、
前記操作部は、前記スキャン格納部において、前記1以上の空白セルを移動させて前記演算対象セルに隣接させた後に、前記演算対象セルを、前記1以上の空白セルと前記通路部を経由して前記演算領域に移動させる
請求項1に記載の量子計算装置。
【請求項3】
前記操作部は、前記演算領域での演算を行った後、前記演算対象セルを前記スキャン格納部に戻す
請求項1に記載の量子計算装置。
【請求項4】
請求項1ないし3のうちいずれか1項に記載の前記量子計算装置における前記制御装置。
発明の詳細な説明
【技術分野】
【0001】
本発明は、量子コンピュータにおける量子誤り訂正に関連するものである。
続きを表示(約 2,500 文字)
【背景技術】
【0002】
量子コンピュータは、量子力学の重ね合わせの原理を活用して計算を行う技術である。量子コンピュータは素因数分解や量子化学計算など科学的に重要な問題を通常の計算機より高速に解けると期待されているため、その開発が世界で盛んに進められている。量子ビットの重ね合わせ状態は環境のノイズに敏感であるため、素朴に計算しても重ね合わせ状態が壊れてしまい信頼性のある計算を行えない。
【0003】
ノイズを抑制するには、二次元平面上に敷き詰められた複数の量子ビットにおけるある領域の複数の量子ビットを用いて1量子ビットの情報を符号化し、エラー訂正により実効的なエラー率を大幅に削減する量子誤り訂正が有効である。符号化された量子ビットを論理量子ビットと呼ぶ。
【0004】
現在、代表的な量子誤り訂正では二次元格子状に並んだセルに平面上の量子ビットの領域を分割し、それぞれのセルが1量子ビットを符号化可能な領域とする抽象化を行うことが一般的である(非特許文献1~4)。この時、データ(情報)が埋め込まれているセルをデータセル、埋め込まれていないセルを空きセルと呼ぶことにする。
【先行技術文献】
【非特許文献】
【0005】
Beverland, Michael, Vadym Kliuchnikov, and Eddie Schoute. "Surface code compilation via edge-disjoint paths." PRX Quantum 3.2 (2022): 020342.
Chamberland, Christopher, and Earl T. Campbell. "Universal quantum computing with twist-free and temporally encoded lattice surgery." PRX Quantum 3.1 (2022): 010331.
Beverland, Michael E., et al. "Assessing requirements to scale to practical quantum advantage." arXiv preprint arXiv:2211.07629 (2022).
Lee, Joonho, et al. "Even more efficient quantum computations of chemistry through tensor hypercontraction." PRX Quantum 2.3 (2021): 030305.
Litinski, Daniel. "A game of surface codes: Large-scale quantum computing with lattice surgery." Quantum 3 (2019): 128.
【発明の概要】
【発明が解決しようとする課題】
【0006】
二次元格子状に並んだセルを用いて量子誤り訂正を行う技術において、データセルに対する操作を行うために、一定の数の空きセルを配置することが必要である。全セルの数をn個、データセルの数をm個とした場合、m/nは計算機のメモリ空間中で実効的にデータ保持に使われている割合を意味し、この値を充填率と呼ぶ。非特許文献1~4に開示された従来技術では、充填率が小さいという課題があった。
【0007】
本発明は上記の点に鑑みてなされたものであり、二次元格子状に並んだセルを用いて量子誤り訂正を行う技術において、従来技術における充填率よりも大きな充填率を実現するための技術を提供することを目的とする。
【課題を解決するための手段】
【0008】
開示の技術によれば、制御装置と量子プロセッサとを有する量子計算装置であって、
前記量子プロセッサは、通路部、スキャン格納部、及び演算領域を備え、前記通路部、前記スキャン格納部、及び前記演算領域はそれぞれ1以上のセルを有し、
前記制御装置は、
前記スキャン格納部に格納された演算対象セルを、前記通路部を経由して前記演算領域に移動させ、前記演算領域において演算を行う操作部を備える
量子計算装置が提供される。
【発明の効果】
【0009】
開示の技術によれば、二次元格子状に並んだセルを用いて量子誤り訂正を行う技術において、従来技術における充填率よりも大きな充填率を実現するための技術が提供される。
【図面の簡単な説明】
【0010】
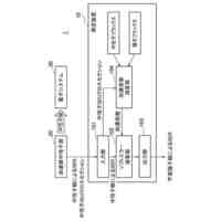
量子計算装置300の構成例を示す図である。
制御装置100の機能構成例を示す図である。
セルのレイアウトの具体例を示す図である。
移動の操作における典型的なルールを示す図である。
移動の操作における典型的なルールを示す図である。
移動の操作における典型的なルールを示す図である。
移動の操作における典型的なルールを示す図である。
移動の操作における典型的なルールを示す図である。
配置パターンの例を示す図である。
配置パターンの例を示す図である。
Corridor10、Scan Storage20、Compute Space30を示す図である。
ブロックの例を示す図である。
Point-Scan方式のステップ1を示す図である。
Point-Scan方式のステップ2を示す図である。
Point-Scan方式のステップ3を示す図である。
Line-Scan方式のステップ1を示す図である。
Line-Scan方式のステップ2を示す図である。
制御装置100の処理フローである。
制御装置100のハードウェア構成例を示す図である。
【発明を実施するための形態】
(【0011】以降は省略されています)
この特許をJ-PlatPat(特許庁公式サイト)で参照する
関連特許
NTT株式会社
光デバイス
26日前
NTT株式会社
圧力センサ
19日前
NTT株式会社
信号送信装置
27日前
NTT株式会社
光信号処理装置
28日前
NTT株式会社
復号装置及び復号方法
4日前
NTT株式会社
推定装置及び推定方法
12日前
NTT株式会社
解析装置および解析方法
18日前
NTT株式会社
通信システム、及び通信方法
1か月前
NTT株式会社
音声抽出装置及び音声抽出方法
1か月前
NTT株式会社
秘匿計算システム及び秘匿計算方法
26日前
NTT株式会社
交通量推定装置及び交通量推定方法
12日前
NTT株式会社
検索装置、検索方法及びプログラム
26日前
NTT株式会社
映像処理装置、方法及びプログラム
8日前
NTT株式会社
通信システム、方法及びプログラム
4日前
NTT株式会社
通信システム、方法及びプログラム
4日前
NTT株式会社
秘匿計算システム及び秘匿計算方法
26日前
NTT株式会社
イオン伝送装置、及びイオン伝送方法
28日前
NTT株式会社
光ファイバの群遅延時間測定システム
18日前
NTT株式会社
情報処理装置、方法およびプログラム
26日前
NTT株式会社
データ解析装置、方法およびプログラム
26日前
NTT株式会社
座屈剥離構造の予測装置および予測方法
4日前
NTT株式会社
電子署名システム、方法及びプログラム
4日前
NTT株式会社
単一光子生成装置、及び単一光子生成方法
1か月前
NTT株式会社
測定装置、測定方法、及び、測定プログラム
今日
NTT株式会社
周期検出装置、周期検出方法及びプログラム
1か月前
NTT株式会社
推論装置、学習装置、推論方法、及びプログラム
18日前
NTT株式会社
情報処理システム、情報処理装置および情報処理方法
5日前
NTT株式会社
通信品質予測装置、通信品質予測方法、及びプログラム
11日前
NTT株式会社
組合せ最適化方法、組合せ最適化装置、及びプログラム
8日前
NTT株式会社
伝搬グラフ復元装置、伝搬グラフ復元方法、及びプログラム
4日前
NTT株式会社
基地局及び端末
1か月前
NTT株式会社
音響信号出力装置
1か月前
NTT株式会社
生成装置、再生システム、生成方法、再生方法、およびプログラム
19日前
NTT株式会社
施工計画立案装置、施工計画立案方法、及び施工計画立案プログラム
12日前
NTT株式会社
光伝送システムの異常個所絞り込み装置、および、異常個所絞り込み方法
1か月前
NTT株式会社
制御装置、及びプログラム
26日前
続きを見る
他の特許を見る