TOP
|
特許
|
意匠
|
商標
特許ウォッチ
Twitter
他の特許を見る
10個以上の画像は省略されています。
公開番号
2025115836
公報種別
公開特許公報(A)
公開日
2025-08-07
出願番号
2024010518
出願日
2024-01-26
発明の名称
通信制御システム、通信制御方法及びプログラム
出願人
NTT株式会社
代理人
弁理士法人志賀国際特許事務所
主分類
H04L
69/18 20220101AFI20250731BHJP(電気通信技術)
要約
【課題】異なる種類のプロトコルが混在するネットワークにおいて、優先度に応じた通信制御を行うこと。
【解決手段】使用するプロトコルが互いに異なる複数の機器をネットワークを介して制御する通信制御システムは、機器との間でパケットの送受信を行うパケット送受信部と、受信パケットに基づいて送信元の機器が使用するプロトコルを判別するプロトコル種類判別部と、プロトコルごとに設けられ、受信パケットに含まれる情報を取得し、受信パケットに基づいて送信元の機器を識別し、送信元の機器が使用するプロトコルに従って機器を制御する制御信号を含む送信パケットを生成するプロトコル動作制御部と、受信パケットに含まれる情報に基づいて制御信号を生成する機器動作制御部と、送信パケットの送信における優先度をプロトコルに基づいて判別する優先度判別部と、優先度に基づいて送信パケットの送信タイミングを決定する送信タイミング決定部とを備える。
【選択図】図1
特許請求の範囲
【請求項1】
使用するプロトコルが互いに異なる複数の機器をネットワークを介して制御する通信制御システムであって、
前記機器との間でパケットの送受信を行うパケット送受信部と、
受信パケットに基づいて送信元の前記機器が使用するプロトコルを判別するプロトコル種類判別部と、
前記プロトコルごとに設けられ、前記受信パケットに含まれる情報を取得し、前記受信パケットに基づいて送信元の前記機器を識別し、送信元の前記機器が使用するプロトコルに従って前記機器を制御する制御信号を含む送信パケットを生成するプロトコル動作制御部と、
前記受信パケットに含まれる情報に基づいて前記制御信号を生成する機器動作制御部と、
前記送信パケットの送信における優先度を前記プロトコルに基づいて判別する優先度判別部と、
前記優先度に基づいて前記送信パケットの送信タイミングを決定する送信タイミング決定部と、
を備える通信制御システム。
続きを表示(約 1,100 文字)
【請求項2】
前記プロトコルごとに共通した仮想構内通信網を設定することにより、仮想的に前記ネットワークを分割する仮想構内通信網設定部
をさらに備える請求項1に記載の通信制御システム。
【請求項3】
前記仮想構内通信網設定部は、前記仮想構内通信網を設定した前記プロトコルを使用する第1の機器の周辺機器である第2の機器であって、前記第2の機器が使用する前記プロトコルに対しては前記第1の機器が使用するプロトコルと同一の前記仮想構内通信網を設定する
請求項2に記載の通信制御システム。
【請求項4】
前記送信タイミング決定部は、制御周期の1サイクルを複数の送信区間に時分割し、時分割された前記送信区間に対し、前記優先度が高い前記プロトコルから順に前記送信パケットの前記送信区間として割り当てる
請求項1に記載の通信制御システム。
【請求項5】
前記送信タイミング決定部は、前記優先度が上位の前記プロトコルのパケットの長さが前記送信区間より短いことにより空きとなった区間に対して、前記優先度が下位の前記プロトコルのパケットの少なくとも一部の前記送信区間として割り当てる
請求項4に記載の通信制御システム。
【請求項6】
前記送信タイミング決定部は、前記制御周期の長さが異なる複数の前記プロトコルが混在する場合、複数の前記制御周期の長さの最大公約数を前記制御周期の前記1サイクルの長さとする
請求項4又は5に記載の通信制御システム。
【請求項7】
使用するプロトコルが互いに異なる複数の機器をネットワークを介して制御する通信制御システムが実行する通信制御方法であって、
前記機器との間でパケットの送受信を行うパケット送受信ステップと、
受信パケットに基づいて送信元の前記機器が使用するプロトコルを判別するプロトコル種類判別ステップと、
前記プロトコルごとに設けられ、前記受信パケットに含まれる情報を取得し、前記受信パケットに基づいて送信元の前記機器を識別し、送信元の前記機器が使用するプロトコルに従って前記機器を制御する制御信号を含む送信パケットを生成するプロトコル動作制御ステップと、
前記受信パケットに含まれる情報に基づいて前記制御信号を生成する機器動作制御ステップと、
前記送信パケットの送信における優先度を前記プロトコルに基づいて判別する優先度判別ステップと、
前記優先度に基づいて前記送信パケットの送信タイミングを決定する送信タイミング決定ステップと、
を有する通信制御方法。
【請求項8】
請求項1に記載の通信制御システムとしてコンピュータを機能させるためのプログラム。
発明の詳細な説明
【技術分野】
【0001】
本発明は、通信制御システム、通信制御方法及びプログラムに関する。
続きを表示(約 3,200 文字)
【背景技術】
【0002】
従来、機器と制御装置との間で所定のプロトコルを用いて通信を行う通信システムがある。図18は、従来の通信システムの構成の一例を示す図である。図18に示される従来の通信システム10は、所定のプロトコルを用いて通信を行う産業用オートメーションの通信システムである。通信システム10は、機器11と、スイッチ12と、制御装置13と、支援装置14とを備える。
【0003】
機器11は、例えばセンサ又はモータ等の産業用機器(デバイス)である。機器11は、スイッチ12に接続される。スイッチ12は、機器11と制御装置13との間で伝送されるデータの経路を切り替える装置である。制御装置13は、機器11の動作を制御する装置である。支援装置14は、例えばパーソナルコンピュータ又はヒューマンマシンインターフェース(HMI:Human Machine Interface)等の情報処理装置である。支援装置14は、ユーザによって操作される端末装置である。支援装置14は、制御装置13に接続されている。
【0004】
通信システム10において用いられるプロトコルがPROFINET(非特許文献1参照)である場合、GSDファイル15(General Station Description File)は、機器11の通信仕様を定めた設定ファイルである。GSDファイル15は、例えば機器11のメーカによって予め用意される。機器11の通信又は制御のために用いられる設定値は、機器11の通信仕様又は制御仕様に応じて定まる。ユーザは、支援装置14において動作するエンジニアリングツールを手動で操作して、例えば制御周期等の設定値を含む設定情報を制御装置13に読み込ませる。エンジニアリングツールは、設定情報を含む設定ファイルを制御装置に読み込ませるためのアプリケーションである。これによって、機器11と制御装置13との間の通信が可能になる。
【0005】
PROFINET(登録商標)の通信には、周期データ通信(リアルタイム通信)と非周期データ通信とがある。周期データ通信のプロトコルとして、PROFINET RT(Real-Time)(登録商標)及びPROFINET IRT(Isochronous Real-Time)(登録商標)の2種類が規格化されている。PROFINET IRT(登録商標)は、より高い遅延性能が要求されるプロトコルである。また、非周期データ通信のプロトコルとして、PROFINET NRT(Non Real-Time)(登録商標)が規格化されている。PROFINET(登録商標)の通信では、例えば、まず固定長帯域を用いて優先度の高いIRTパケットがPROFINET IRT(登録商標)により送信された後、残りのスロットを用いて優先度の低いパケットがPROFINET RT(登録商標)及びPROFINET NRT(登録商標)により送信される。
【先行技術文献】
【非特許文献】
【0006】
“PROFINET システム解説 (日本語版) ~ PROFINET System Description - Technology and Application”, Version June 2011, Order number 4.132, 特定非営利活動法人 日本プロフィバス協会, 2011年9月
“PROFINET 設計ガイドライン”, Version 1.14, 特定非営利活動法人 日本プロフィバス協会, 2014年12月
“Why is hardware support required for using clock-synchronized real-time communication (IRT) in PROFINET?”, SiePortal, FAQ Entry ID: 19543871 ,Entry date: 10/06/2005, Siemens AG. Siemens AG
【発明の概要】
【発明が解決しようとする課題】
【0007】
ところで、昨今、産業用オートメーション等の通信システムにおいて、産業用機器(デバイス)の機能のソフトウェア化が進められている。このようなソフトウェア化に伴い、将来、互いに異なる種類のプロトコルを使用する複数の機器が、同一の制御装置に接続されるようになることが考えられる。この場合、同一のネットワーク上に、例えば、PROFINET(登録商標)、EtherCAT(登録商標)、及びEtherNet/IP(登録商標)等の異なる種類のプロトコルが混在することになる。しかしながら、従来の通信システムでは、異なる種類のプロトコルが同一のネットワーク上で混在することは想定されていない。そのため、従来の通信システムでは、互いに異なる種類のプロトコルを使用する複数の機器を同一の制御装置に接続させることは困難であるという課題があった。さらには、従来の通信システムでは、異なる種類のプロトコルが混在する場合、上記のような優先度を考慮した通信制御を行うことも難しいという課題があった。
【0008】
上記事情に鑑み、本発明は、異なる種類のプロトコルが混在するネットワークにおいて、優先度に応じた通信制御を行うことができる通信制御システム、通信制御方法及びプログラムを提供することを目的としている。
【課題を解決するための手段】
【0009】
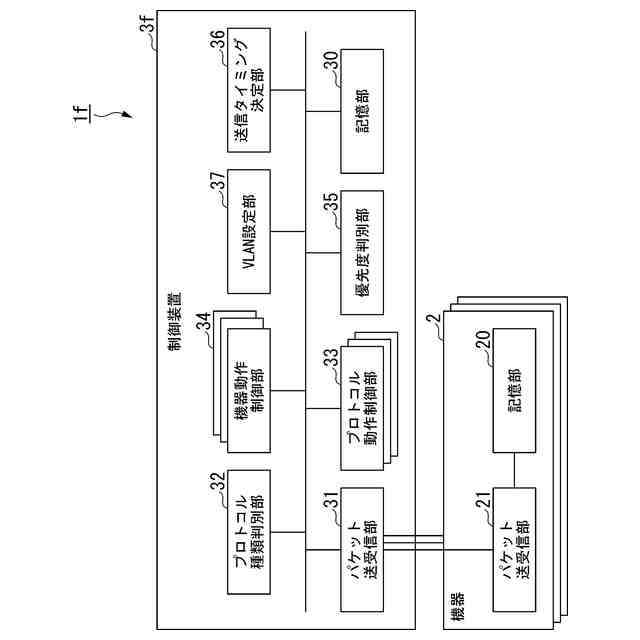
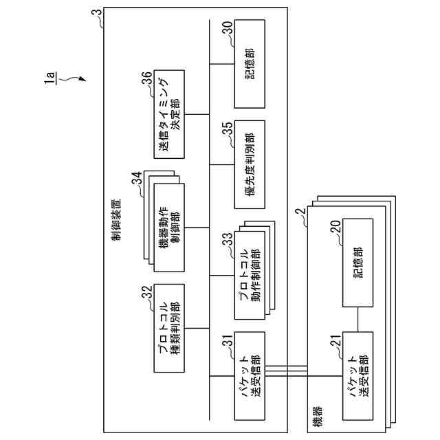
本発明の一態様は、使用するプロトコルが互いに異なる複数の機器をネットワークを介して制御する通信制御システムであって、前記機器との間でパケットの送受信を行うパケット送受信部と、受信パケットに基づいて送信元の前記機器が使用するプロトコルを判別するプロトコル種類判別部と、前記プロトコルごとに設けられ、前記受信パケットに含まれる情報を取得し、前記受信パケットに基づいて送信元の前記機器を識別し、送信元の前記機器が使用するプロトコルに従って前記機器を制御する制御信号を含む送信パケットを生成するプロトコル動作制御部と、前記受信パケットに含まれる情報に基づいて前記制御信号を生成する機器動作制御部と、前記送信パケットの送信における優先度を前記プロトコルに基づいて判別する優先度判別部と、前記優先度に基づいて前記送信パケットの送信タイミングを決定する送信タイミング決定部と、を備える通信制御システムである。
【0010】
また、本発明の一態様は、使用するプロトコルが互いに異なる複数の機器をネットワークを介して制御する通信制御システムが実行する通信制御方法であって、前記機器との間でパケットの送受信を行うパケット送受信ステップと、受信パケットに基づいて送信元の前記機器が使用するプロトコルを判別するプロトコル種類判別ステップと、前記プロトコルごとに設けられ、前記受信パケットに含まれる情報を取得し、前記受信パケットに基づいて送信元の前記機器を識別し、送信元の前記機器が使用するプロトコルに従って前記機器を制御する制御信号を含む送信パケットを生成するプロトコル動作制御ステップと、前記受信パケットに含まれる情報に基づいて前記制御信号を生成する機器動作制御ステップと、前記送信パケットの送信における優先度を前記プロトコルに基づいて判別する優先度判別ステップと、前記優先度に基づいて前記送信パケットの送信タイミングを決定する送信タイミング決定ステップと、を有する通信制御方法である。
(【0011】以降は省略されています)
この特許をJ-PlatPat(特許庁公式サイト)で参照する
関連特許
NTT株式会社
圧力センサ
25日前
NTT株式会社
推定装置及び推定方法
18日前
NTT株式会社
復号装置及び復号方法
10日前
NTT株式会社
解析装置および解析方法
24日前
NTT株式会社
情報処理装置、及び情報処理方法
4日前
NTT株式会社
情報処理装置、及び情報処理方法
4日前
NTT株式会社
交通量推定装置及び交通量推定方法
18日前
NTT株式会社
映像処理装置、方法及びプログラム
14日前
NTT株式会社
通信システム、方法及びプログラム
10日前
NTT株式会社
通信システム、方法及びプログラム
10日前
NTT株式会社
光ファイバの群遅延時間測定システム
24日前
NTT株式会社
座屈剥離構造の予測装置および予測方法
10日前
NTT株式会社
電子署名システム、方法及びプログラム
10日前
NTT株式会社
量子鍵配送システム及び量子鍵配送方法
5日前
NTT株式会社
微生物の土壌中での生存性を調節する方法
5日前
NTT株式会社
測定装置、測定方法、及び、測定プログラム
6日前
NTT株式会社
推論装置、学習装置、推論方法、及びプログラム
24日前
NTT株式会社
推定装置、復元装置、推定方法、およびプログラム
3日前
NTT株式会社
情報処理システム、情報処理装置および情報処理方法
11日前
NTT株式会社
組合せ最適化方法、組合せ最適化装置、及びプログラム
14日前
NTT株式会社
通信品質予測装置、通信品質予測方法、及びプログラム
17日前
NTT株式会社
伝搬グラフ復元装置、伝搬グラフ復元方法、及びプログラム
10日前
NTT株式会社
生成装置、再生システム、生成方法、再生方法、およびプログラム
25日前
NTT株式会社
施工計画立案装置、施工計画立案方法、及び施工計画立案プログラム
18日前
NTT株式会社
制御装置、及びプログラム
1か月前
NTT株式会社
サーバ内データ転送装置、サーバ内データ転送方法およびプログラム
1か月前
NTT株式会社
アクセラレータ状態制御装置、アクセラレータ状態制御方法およびプログラム
24日前
個人
店内配信予約システム
2か月前
サクサ株式会社
中継装置
5日前
WHISMR合同会社
収音装置
1か月前
サクサ株式会社
中継装置
3か月前
サクサ株式会社
中継装置
4日前
キヤノン株式会社
撮像装置
1か月前
アイホン株式会社
電気機器
26日前
キヤノン株式会社
電子機器
2か月前
株式会社リコー
画像形成装置
2か月前
続きを見る
他の特許を見る