TOP
|
特許
|
意匠
|
商標
特許ウォッチ
Twitter
他の特許を見る
公開番号
2025110709
公報種別
公開特許公報(A)
公開日
2025-07-29
出願番号
2024004694
出願日
2024-01-16
発明の名称
人力駆動車用のコンポーネント
出願人
株式会社シマノ
代理人
個人
,
個人
主分類
B62M
6/45 20100101AFI20250722BHJP(鉄道以外の路面車両)
要約
【課題】小型化できる人力駆動車用のコンポーネントを提供する。
【解決手段】人力駆動車用のコンポーネントは、軸部材と、前記軸部材に設けられ、かつ、複数の異なる変速比に変更できる変速機と、前記変速比を段階的に変更するように、前記変速機を制御する制御部と、前記制御部を駆動させるための駆動部を含む駆動ユニットと、を備え、前記駆動ユニットは、前記駆動ユニットの少なくとも一部が、前記変速機の少なくとも一部と、前記軸部材の軸方向から見て重畳するように配置される。
【選択図】図6
特許請求の範囲
【請求項1】
人力駆動車用のコンポーネントであって、
軸部材と、
前記軸部材に設けられ、かつ、複数の異なる変速比に変更できる変速機と、
前記変速比を段階的に変更するように、前記変速機を制御する制御部と、
前記制御部を駆動させるための駆動部を含む駆動ユニットと、を備え、
前記駆動ユニットは、前記駆動ユニットの少なくとも一部が、前記変速機の少なくとも一部と、前記軸部材の軸方向から見て重畳するように配置される、コンポーネント。
続きを表示(約 1,200 文字)
【請求項2】
人力駆動力が入力されるクランク軸を支持するクランク軸支持部と、
前記クランク軸と前記変速機とを接続する動力伝達部と、をさらに備え、
前記動力伝達部は、前記クランク軸の回転速度に対する前記変速機の変速入力回転体の回転速度の比を所定比に変更するように構成される、請求項1に記載のコンポーネント。
【請求項3】
人力駆動車用のコンポーネントであって、
人力駆動力が入力されるクランク軸を支持するクランク軸支持部と、
前記クランク軸と平行に延びる軸部材と、
前記軸部材に設けられ、かつ、複数の異なる変速比に変更できる変速機と、
前記変速比を段階的に変更するように、前記変速機を制御する制御部と、
前記制御部を駆動させるための駆動部を含む駆動ユニットと、
前記クランク軸と前記変速機とを接続する動力伝達部と、を備え、
前記動力伝達部は、前記クランク軸の回転速度に対する前記変速機の変速入力回転体の回転速度の比を所定比に変更するように構成され、
前記駆動ユニットは、前記駆動ユニットの少なくとも一部が、前記動力伝達部の少なくとも一部と、前記クランク軸および前記軸部材に直交する方向から見て重畳するように配置される、コンポーネント。
【請求項4】
前記駆動ユニットは、前記駆動ユニットの少なくとも一部が、前記変速機の少なくとも一部と、前記軸部材の軸方向から見て重畳するように配置される、請求項3に記載のコンポーネント。
【請求項5】
前記変速機は、少なくとも1つの変速部を有し、
前記制御部は、少なくとも1つのカム軸を含み、かつ、前記少なくとも1つの変速部を制御する少なくとも1つの回転制御部を有し、
前記駆動ユニットは、前記少なくとも1つのカム軸を駆動する駆動軸を有し、
前記駆動軸は、前記少なくとも1つのカム軸に接続される、請求項1から4のいずれか一項に記載のコンポーネント。
【請求項6】
前記駆動ユニットに電力を供給するように構成される電力供給部をさらに備え、
前記電力供給部は、前記クランク軸まわりに配置される、請求項2から4のいずれか一項に記載のコンポーネント。
【請求項7】
前記電力供給部は、前記変速機と前記クランク軸支持部との間に配置される、請求項6に記載のコンポーネント。
【請求項8】
前記電力供給部は、前記クランク軸の少なくとも一部を囲むように前記クランク軸まわりに配置される、請求項6に記載のコンポーネント。
【請求項9】
前記電力供給部は、前記クランク軸に沿って延びる、請求項6に記載のコンポーネント。
【請求項10】
前記電力供給部は、電池およびキャパシタの少なくとも1つを含む、請求項6に記載のコンポーネント。
(【請求項11】以降は省略されています)
発明の詳細な説明
【技術分野】
【0001】
本開示は、人力駆動車用のコンポーネントに関する。
続きを表示(約 1,900 文字)
【背景技術】
【0002】
特許文献1には、例えば、変速機を含むコンポーネントが開示される。
【先行技術文献】
【特許文献】
【0003】
特開2018-100060号公報
【発明の概要】
【発明が解決しようとする課題】
【0004】
本開示の目的の1つは、小型化できる人力駆動車用のコンポーネントを提供することである。
【課題を解決するための手段】
【0005】
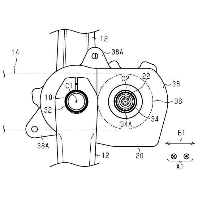
本開示の第1側面に従うコンポーネントは、人力駆動車用のコンポーネントであって、軸部材と、前記軸部材に設けられ、かつ、複数の異なる変速比に変更できる変速機と、前記変速比を段階的に変更するように、前記変速機を制御する制御部と、前記制御部を駆動させるための駆動部を含む駆動ユニットと、を備え、前記駆動ユニットは、前記駆動ユニットの少なくとも一部が、前記変速機の少なくとも一部と、前記軸部材の軸方向から見て重畳するように配置される。
第1側面のコンポーネントによれば、駆動ユニットの少なくとも一部が、変速機の少なくとも一部と、軸部材の軸方向から見て重畳するように、駆動ユニットが配置されるため、軸部材の径方向におけるコンポーネントのサイズを小型化できる。
【0006】
本開示の第1側面に従う第2側面のコンポーネントにおいて、人力駆動力が入力されるクランク軸を支持するクランク軸支持部と、前記クランク軸と前記変速機とを接続する動力伝達部と、をさらに備え、前記動力伝達部は、前記クランク軸の回転速度に対する前記変速機の変速入力回転体の回転速度の比を所定比に変更するように構成される。
第2側面のコンポーネントによれば、動力伝達部によってクランク軸の駆動力が変速機に好適に伝達される。
【0007】
本開示の第3側面に従うコンポーネントは、人力駆動車用のコンポーネントであって、人力駆動力が入力されるクランク軸を支持するクランク軸支持部と、前記クランク軸と平行に延びる軸部材と、前記軸部材に設けられ、かつ、複数の異なる変速比に変更できる変速機と、前記変速比を段階的に変更するように、前記変速機を制御する制御部と、前記制御部を駆動させるための駆動部を含む駆動ユニットと、前記クランク軸と前記変速機とを接続する動力伝達部と、を備え、前記動力伝達部は、前記クランク軸の回転速度に対する前記変速機の変速入力回転体の回転速度の比を所定比に変更するように構成され、前記駆動ユニットは、前記駆動ユニットの少なくとも一部が、前記動力伝達部の少なくとも一部と、前記クランク軸および前記軸部材に直交する方向である直交方向から見て重畳するように配置される。
第3側面のコンポーネントによれば、駆動ユニットの少なくとも一部が、動力伝達部の少なくとも一部と、クランク軸および軸部材に直交する方向から見て重畳するように、駆動ユニットが配置されるため、軸部材の軸方向におけるコンポーネントのサイズを小型化できる。
【0008】
本開示の第3側面に従う第4側面のコンポーネントにおいて、前記駆動ユニットは、前記駆動ユニットの少なくとも一部が、前記変速機の少なくとも一部と、前記軸部材の軸方向から見て重畳するように配置される。
第4側面のコンポーネントによれば、駆動ユニットの少なくとも一部が、変速機の少なくとも一部と、軸部材の軸方向から見て重畳するように、駆動ユニットが配置されるため、軸部材の径方向におけるコンポーネントのサイズを小型化できる。
【0009】
本開示の第1から第4側面のいずれか一項に従う第5側面のコンポーネントにおいて、前記変速機は、少なくとも1つの変速部を有し、前記制御部は、少なくとも1つのカム軸を含み、かつ、前記少なくとも1つの変速部を制御する少なくとも1つの回転制御部を有し、前記駆動ユニットは、前記少なくとも1つのカム軸を駆動する駆動軸を有し、前記駆動軸は、前記少なくとも1つのカム軸に接続される。
第5側面のコンポーネントによれば、駆動ユニットは、駆動軸によって少なくとも1つの変速部を好適に制御できる。
【0010】
本開示の第2から第4側面のいずれか1つに従う第6側面のコンポーネントにおいて、前記駆動ユニットに電力を供給するように構成される電力供給部をさらに備え、前記電力供給部は、前記クランク軸まわりに配置される。
第6側面のコンポーネントによれば、電力供給部をクランク軸まわりに配置できる。
(【0011】以降は省略されています)
特許ウォッチbot のツイートを見る
この特許をJ-PlatPat(特許庁公式サイト)で参照する
関連特許
株式会社シマノ
釣竿
9日前
株式会社シマノ
ルアー
9日前
株式会社シマノ
ルアー
19日前
株式会社シマノ
ルアー
19日前
株式会社シマノ
ルアー
27日前
株式会社シマノ
魚挟み具
9日前
株式会社シマノ
釣道具用ケース
9日前
株式会社シマノ
人力駆動車用の制御装置
19日前
株式会社シマノ
人力駆動車用の制御装置
19日前
株式会社シマノ
人力駆動車用の制御装置
19日前
株式会社シマノ
人力駆動車用の制御装置
29日前
株式会社シマノ
人力駆動車用のアシスト装置、人力駆動車用の変速装置、および、人力駆動車用の制御システム
20日前
株式会社シマノ
人力駆動車用の制御装置および動力伝達システム
27日前
株式会社シマノ
人力駆動車用の制御装置、人力駆動車用のコンポーネント、および、電動コンポーネント用の制御装置
5日前
個人
カート
3か月前
個人
走行装置
3か月前
個人
乗り物
5か月前
個人
電動走行車両
3か月前
個人
電動モビリティ
7か月前
個人
駐輪設備
1か月前
個人
閂式ハンドル錠
3か月前
個人
発音装置
7か月前
個人
折り畳み自転車
10か月前
個人
ボギー・フレーム
1か月前
個人
自転車用傘捕捉具
11か月前
個人
体重掛けリフト台車
10か月前
個人
ルーフ付きトライク
2か月前
個人
自由方向乗車自転車
7か月前
個人
“zen-go.”
2か月前
個人
ルーフ付きトライク
1か月前
個人
キャンピングトライク
8か月前
個人
自転車用荷物台
10か月前
個人
アタッチメント
11か月前
個人
パワーアシスト自転車
1か月前
個人
ステアリングの操向部材
8か月前
株式会社CPM
駐輪機
11か月前
続きを見る
他の特許を見る