TOP
|
特許
|
意匠
|
商標
特許ウォッチ
Twitter
他の特許を見る
公開番号
2025110440
公報種別
公開特許公報(A)
公開日
2025-07-29
出願番号
2024004260
出願日
2024-01-16
発明の名称
深部体温推定装置
出願人
リンナイ株式会社
,
国立大学法人九州大学
代理人
弁理士法人ぱてな
主分類
A61B
5/01 20060101AFI20250722BHJP(医学または獣医学;衛生学)
要約
【課題】入浴中の入浴者の深部体温を精度良く推定できる深部体温推定装置を提供する。
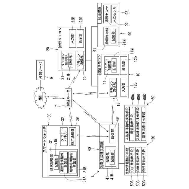
【解決手段】深部体温推定装置1は、入浴者P1の深部体温を推定する深部体温推定処理を実行する制御部41と、入浴者P1に関する入浴情報を検出する検出手段50、60と、を備える。検出手段50、60は、入浴者P1のバイタル状態を少なくとも含む生体情報を入浴情報として検出する生体情報検出手段50と、入浴者P1の入浴中の条件に関する入浴条件情報を入浴情報として検出する入浴条件情報検出手段60と、の少なくとも一方を有する。制御部41は、入浴者P1の過去の睡眠実績に基づいて数値化した睡眠時間情報を取得可能である。制御部41は、入浴情報及び睡眠時間情報をパラメータとして、深部体温推定処理を実行する。
【選択図】図3
特許請求の範囲
【請求項1】
浴槽内で入浴中の入浴者の深部体温を推定する深部体温推定処理を実行する制御部と、
入浴中の前記入浴者に関する入浴情報であって、数値化した前記入浴情報を検出する検出手段と、
を備えた深部体温推定装置であって、
前記検出手段は、
前記入浴者のバイタル状態を少なくとも含む生体情報を前記入浴情報として検出する生体情報検出手段と、
前記入浴者の入浴中の条件に関する入浴条件情報を前記入浴情報として検出する入浴条件情報検出手段と、
の少なくとも一方を有し、
前記制御部は、前記入浴者の過去の睡眠実績に基づいて数値化した睡眠時間情報を取得可能であり、
前記制御部は、前記入浴情報及び前記睡眠時間情報をパラメータとして、前記深部体温推定処理を実行することを特徴とする深部体温推定装置。
続きを表示(約 1,300 文字)
【請求項2】
前記睡眠時間情報は、過去の所定期間における睡眠時間の平均値、過去の所定期間における睡眠時間の中央値、及び、過去の所定期間に所定時間以上の睡眠時間をとった日数、のうちの1つに基づく情報である請求項1記載の深部体温推定装置。
【請求項3】
前記入浴者の前記睡眠実績を記憶して前記睡眠時間情報を算出する睡眠時間情報端末、及び、ネットワーク通信により前記睡眠時間情報端末から前記睡眠時間情報を取得する外部サーバ、の少なくとも一方と通信可能な通信部をさらに備え、
前記制御部は、前記通信部を経由して前記睡眠時間情報を取得する請求項1記載の深部体温推定装置。
【請求項4】
前記睡眠時間情報端末は、1日の睡眠時間をノンレム睡眠時間とレム睡眠時間とに区分して検出し、前記睡眠時間、前記ノンレム睡眠時間及び前記レム睡眠時間のうちの少なくとも前記ノンレム睡眠時間又は前記レム睡眠時間を前記睡眠実績として記憶して前記睡眠時間情報を算出する請求項3記載の深部体温推定装置。
【請求項5】
前記睡眠時間情報端末は、前記ノンレム睡眠時間を前記睡眠実績として記憶して前記睡眠時間情報を算出する請求項4記載の深部体温推定装置。
【請求項6】
前記検出手段は、前記生体情報検出手段を少なくとも有し、
前記生体情報検出手段は、
前記バイタル状態として前記入浴者の心拍数を検出する心拍数検出手段と、
前記バイタル状態として前記入浴者の血流量を検出する血流量検出手段と、
前記バイタル状態として前記入浴者の発汗量を検出する発汗量検出手段と、
の少なくとも1つを有している請求項1乃至5のいずれか1項記載の深部体温推定装置。
【請求項7】
前記検出手段は、前記入浴条件情報検出手段を少なくとも有し、
前記入浴条件情報検出手段は、
前記浴槽内に貯留された湯の温度を検出する湯温検出手段と、
前記入浴者が入浴を開始してからの経過時間を検出する入浴経過時間検出手段と、
前記浴槽が設置された浴室の温度を検出する浴室温度検出手段と、
の少なくとも1つを有している請求項1乃至5のいずれか1項記載の深部体温推定装置。
【請求項8】
前記制御部は、前記入浴者の過去の運動実績に基づいて数値化した運動習慣情報を取得可能であり、
前記制御部は、前記入浴情報、前記睡眠時間情報及び前記運動習慣情報をパラメータとして、前記深部体温推定処理を実行する請求項1乃至5のいずれか1項記載の深部体温推定装置。
【請求項9】
前記入浴者に日常的に携帯される携帯情報端末であって、前記入浴者の前記運動実績を記憶して前記運動習慣情報を算出する前記携帯情報端末、及び、ネットワーク通信により前記携帯情報端末から前記運動習慣情報を取得する外部サーバ、の少なくとも一方と通信可能な通信部をさらに備え、
前記制御部は、前記通信部を経由して前記運動習慣情報を取得する請求項8記載の深部体温推定装置。
発明の詳細な説明
【技術分野】
【0001】
本発明は深部体温推定装置に関する。
続きを表示(約 1,200 文字)
【背景技術】
【0002】
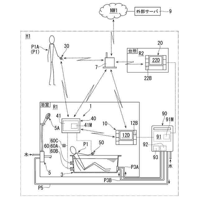
特許文献1に従来の深部体温推定装置の一例が開示されている。この深部体温推定装置は、浴室に設置された浴室リモコン及び第2体調情報取得手段を備えている。
【0003】
第2体調情報取得手段は、特許文献1の図3に示すステップS112において、浴槽内で入浴中の入浴者の体調情報、例えば、血圧、心拍数、血流量等を取得する。
【0004】
浴室リモコンの第2制御部は、第2体調情報取得手段が取得した体調情報に基づき、特許文献1の図3に示すステップS113において、入浴中の入浴者の深部体温を推定する深部体温推定処理を実行する。
【0005】
この深部体温推定装置は、入浴者が退浴した後に良質な睡眠を得易くなるように、推定した深部体温を利用して退浴タイミングや入眠時刻を決定し、入浴者に報知するようになっている。
【先行技術文献】
【特許文献】
【0006】
特開2021-120604号公報
【発明の概要】
【発明が解決しようとする課題】
【0007】
ところで、入浴者が健康的な日常生活を過ごすことができるように、入浴中の入浴者の深部体温に基づく利便性の高い情報を入浴者に提供することが検討されている。このため、この深部体温推定装置には、深部体温を精度良く推定することが求められている。
【0008】
本発明は、上記従来の実情に鑑みてなされたものであって、入浴中の入浴者の深部体温を精度良く推定できる深部体温推定装置を提供することを解決すべき課題としている。
【課題を解決するための手段】
【0009】
本発明の深部体温推定装置は、浴槽内で入浴中の入浴者の深部体温を推定する深部体温推定処理を実行する制御部と、
入浴中の前記入浴者に関する入浴情報であって、数値化した前記入浴情報を検出する検出手段と、
を備えた深部体温推定装置であって、
前記検出手段は、
前記入浴者のバイタル状態を少なくとも含む生体情報を前記入浴情報として検出する生体情報検出手段と、
前記入浴者の入浴中の条件に関する入浴条件情報を前記入浴情報として検出する入浴条件情報検出手段と、
の少なくとも一方を有し、
前記制御部は、前記入浴者の過去の睡眠実績に基づいて数値化した睡眠時間情報を取得可能であり、
前記制御部は、前記入浴情報及び前記睡眠時間情報をパラメータとして、前記深部体温推定処理を実行することを特徴とする。
【0010】
本発明の深部体温推定装置において、検出手段は、生体情報検出手段と、入浴条件情報検出手段と、の少なくとも一方を有している。
(【0011】以降は省略されています)
特許ウォッチbot のツイートを見る
この特許をJ-PlatPat(特許庁公式サイト)で参照する
関連特許
リンナイ株式会社
食器洗浄機
2日前
リンナイ株式会社
衣類乾燥機
3日前
リンナイ株式会社
加熱調理器
9日前
リンナイ株式会社
コンロバーナ
8日前
リンナイ株式会社
設備機器システム
9日前
個人
健康器具
8か月前
個人
短下肢装具
2か月前
個人
鼾防止用具
7か月前
個人
嚥下鍛錬装置
3か月前
個人
洗井間専家。
6か月前
個人
脈波測定方法
7か月前
個人
前腕誘導装置
3か月前
個人
白内障治療法
7か月前
個人
排尿補助器具
4日前
個人
脈波測定方法
8か月前
個人
胸骨圧迫補助具
1か月前
個人
汚れ防止シート
19日前
個人
矯正椅子
4か月前
個人
ウォート指圧法
2日前
個人
歯の修復用材料
3か月前
個人
アイマスク装置
1か月前
個人
ホバーアイロン
6か月前
個人
バッグ式オムツ
4か月前
個人
シャンプー
5か月前
個人
湿布連続貼り機。
2か月前
三生医薬株式会社
錠剤
7か月前
個人
哺乳瓶冷まし容器
2か月前
個人
歯の保護用シール
4か月前
個人
陣痛緩和具
3か月前
個人
車椅子持ち上げ器
7か月前
個人
性行為補助具
2か月前
株式会社八光
剥離吸引管
4か月前
個人
服薬支援装置
7か月前
株式会社結心
手袋
7か月前
個人
エア誘導コルセット
1か月前
株式会社大野
骨壷
3か月前
続きを見る
他の特許を見る