TOP
|
特許
|
意匠
|
商標
特許ウォッチ
Twitter
他の特許を見る
公開番号
2025152934
公報種別
公開特許公報(A)
公開日
2025-10-10
出願番号
2024055122
出願日
2024-03-28
発明の名称
コンロバーナ
出願人
リンナイ株式会社
代理人
個人
,
個人
主分類
F24C
3/08 20060101AFI20251002BHJP(加熱;レンジ;換気)
要約
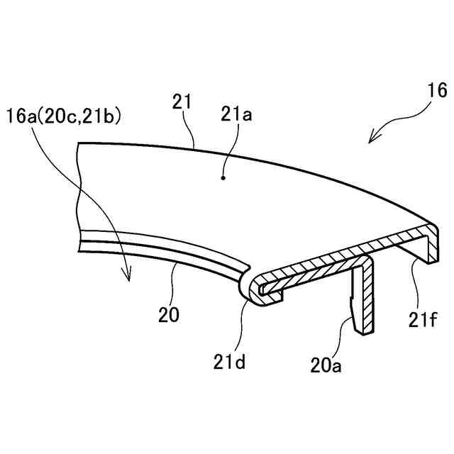
【課題】コンロバーナの美観を損ねることなく、バーナキャップの下板部材と上板部材とを接合する。
【解決手段】コンロバーナのバーナボディに載置されるバーナヘッド13の上方を覆ってバーナキャップ16を設置することとして、このバーナキャップは、バーナヘッドの上部に固定される複数の固定部20aを有する板状の下板部材20と、下板部材と重なり合う板状の平面部21aから延設された複数の突起21dを有する上板部材21とを備える。そして、下板部材に上板部材の平面部を重ねた状態で、突起を下板部材側に折り曲げることにより、上板部材の平面部と突起とで下板部材を挟持する。こうすれば、バーナキャップの下板部材と上板部材とが突起の折り曲げによる挟持にて接合されることから、接合に溶接が不要となり、上板部材の表面に溶接跡が付かないので、溶接での接合よりも美観を向上させることができる。
【選択図】図3
特許請求の範囲
【請求項1】
燃料ガスと空気との混合ガスが供給される混合室を有するバーナボディにバーナヘッドを載置することで、該混合室と連通する複数の炎口が該バーナヘッドの外周面の周方向に画成され、該バーナヘッドの上方を覆ってバーナキャップが設置されたコンロバーナにおいて、
前記バーナキャップは、
前記バーナヘッドの上部に固定される複数の固定部を有する板状の下板部材と、
前記下板部材と重なり合う板状の平面部から延設された複数の突起を有する上板部材と
を備え、
前記下板部材に前記上板部材の前記平面部を重ねた状態で、前記突起を該下板部材側に折り曲げることにより、該上板部材の該平面部と該突起とで該下板部材が挟持されている
ことを特徴とするコンロバーナ。
続きを表示(約 760 文字)
【請求項2】
請求項1に記載のコンロバーナにおいて、
前記下板部材は、略中央を貫通して下板貫通孔が形成されると共に、該下板貫通孔の周囲から下方に延設された下板筒部を有し、
前記上板部材は、前記平面部の略中央を貫通して上板貫通孔が形成されると共に、該上板貫通孔の周囲の該平面部から下方に延設されて前記下板筒部の内側に嵌合する上板筒部を有し、
前記上板筒部の下端には、下方に延設された前記複数の突起が周方向に間隔を取って配置されており、
前記下板部材に前記上板部材の前記平面部を重ねて前記下板筒部の内側に前記上板筒部を嵌合させた状態で、前記突起を該上板筒部の径方向の外側に折り曲げることにより、該上板部材の該平面部と該突起とで該下板部材の該下板筒部が挟持されている
ことを特徴とするコンロバーナ。
【請求項3】
請求項2に記載のコンロバーナにおいて、
前記下板部材に前記上板部材の前記平面部を重ねて前記下板筒部の内側に前記上板筒部を嵌合させた状態で、
前記上板筒部の下端における前記突起の両側には、前記下板筒部の下端よりも上方の位置まで切欠部が欠設されており、
前記上板筒部の下端における前記突起および前記切欠部を除く部分は、前記下板筒部の下端に対して同じ高さか下方に位置している
ことを特徴とするコンロバーナ。
【請求項4】
請求項2または請求項3に記載のコンロバーナにおいて、
前記上板部材の前記平面部と前記突起とで前記下板部材の前記下板筒部が挟持された状態で、該上板部材の該突起と該下板部材の前記固定部とが、前記上板筒部の径方向の同一直線上に位置している
ことを特徴とするコンロバーナ。
発明の詳細な説明
【技術分野】
【0001】
本発明は、バーナボディに載置されるバーナヘッドの上方を覆ってバーナキャップが設置されたコンロバーナに関する。
続きを表示(約 2,000 文字)
【背景技術】
【0002】
コンロバーナは、燃料ガスと空気との混合ガスが供給される混合室を有するバーナボディにバーナヘッドを載置することで、混合室と連通する複数の炎口がバーナヘッドの外周面の周方向に画成されるものが普及しており、炎口から流出する混合ガスを燃焼させて、コンロバーナの上方に置かれた鍋などの調理容器を加熱する。また、調理容器から煮こぼれた際に、高温になっているバーナヘッドに煮こぼれ液が直接的にかかることを抑制するために、バーナヘッドの上方を覆ってバーナキャップが設置されたコンロバーナが知られている。
【0003】
こうしたバーナキャップは、バーナヘッドの上部に固定される複数の固定部を有する板状の下板部材と、下板部材に重ねて接合される板状の上板部材とで構成されていることが多く(例えば、特許文献1)、溶接によって下板部材と上板部材とが接合されるのが一般的である。
【先行技術文献】
【特許文献】
【0004】
特開2021-32516号公報
【発明の概要】
【発明が解決しようとする課題】
【0005】
しかし、上述のようにバーナキャップの下板部材と上板部材とが溶接で接合されたコンロバーナでは、上板部材の表面に溶接跡が付くことがあり、使用者の目に留まり易いバーナキャップの表面に溶接跡が見えることから、美観が損なわれてしまうという問題があった。また、こうした上板部材の表面の溶接跡を目立たなくするためには、製造の際に入念な研磨工程を付加する必要があり、研磨しても溶接跡がわずかに残ってしまう場合がある。
【0006】
この発明は、従来の技術における上述した課題に対応してなされたものであり、コンロバーナの美観を損ねることなく、バーナキャップの下板部材と上板部材とを接合することが可能な技術の提供を目的とする。
【課題を解決するための手段】
【0007】
上述した課題を解決するために、本発明のコンロバーナは次の構成を採用した。すなわち、
<第1の態様>
燃料ガスと空気との混合ガスが供給される混合室を有するバーナボディにバーナヘッドを載置することで、該混合室と連通する複数の炎口が該バーナヘッドの外周面の周方向に画成され、該バーナヘッドの上方を覆ってバーナキャップが設置されたコンロバーナにおいて、
前記バーナキャップは、
前記バーナヘッドの上部に固定される複数の固定部を有する板状の下板部材と、
前記下板部材と重なり合う板状の平面部から延設された複数の突起を有する上板部材と
を備え、
前記下板部材に前記上板部材の前記平面部を重ねた状態で、前記突起を該下板部材側に折り曲げることにより、該上板部材の該平面部と該突起とで該下板部材が挟持されている
ことを特徴とする。
【0008】
このような第1の態様のコンロバーナでは、バーナキャップの下板部材と上板部材とが突起の折り曲げによる挟持にて接合されることから、接合に溶接が不要となり、上板部材の表面に溶接跡が付かないので、溶接での接合に比べて美観を向上させると共に、製造の際の研磨工程を簡略化することができる。
【0009】
<第2の態様>
第1の態様のコンロバーナにおいて、
前記下板部材は、略中央を貫通して下板貫通孔が形成されると共に、該下板貫通孔の周囲から下方に延設された下板筒部を有し、
前記上板部材は、前記平面部の略中央を貫通して上板貫通孔が形成されると共に、該上板貫通孔の周囲の該平面部から下方に延設されて前記下板筒部の内側に嵌合する上板筒部を有し、
前記上板筒部の下端には、下方に延設された前記複数の突起が周方向に間隔を取って配置されており、
前記下板部材に前記上板部材の前記平面部を重ねて前記下板筒部の内側に前記上板筒部を嵌合させた状態で、前記突起を該上板筒部の径方向の外側に折り曲げることにより、該上板部材の該平面部と該突起とで該下板部材の該下板筒部が挟持されている
ことを特徴とする。
【0010】
このような第2の態様のコンロバーナでは、下板筒部と上板筒部との嵌合によって、下板部材と上板部材との位置合わせが可能であり、位置ずれやガタつきを抑制することができる。しかも、バーナキャップの内側(上板貫通孔)では、上板筒部によって下板部材(下板筒部)が使用者から見え難くなるので、美観の向上を図ることができる。そして、上板筒部の下端に設けられた突起は、下板筒部側に折り曲げられて隠れるので、突起によって美観が損なわれることもない。
(【0011】以降は省略されています)
特許ウォッチbot のツイートを見る
この特許をJ-PlatPat(特許庁公式サイト)で参照する
関連特許
リンナイ株式会社
加熱調理器
8日前
リンナイ株式会社
加熱調理器
8日前
リンナイ株式会社
加熱調理支援システム
今日
リンナイ株式会社
ガスバーナ並びに加熱調理器
今日
リンナイ株式会社
加熱調理器用バーナ並びに加熱調理器
今日
リンナイ株式会社
加熱調理器用バーナ並びに加熱調理器
今日
リンナイ株式会社
加熱調理器用バーナ並びに加熱調理器
今日
リンナイ株式会社
気液溶解装置および微細気泡発生システム
2日前
個人
集熱器具
今日
株式会社トヨトミ
五徳
14日前
株式会社コロナ
空調装置
14日前
株式会社コロナ
空調装置
29日前
株式会社コロナ
加湿装置
1か月前
株式会社コロナ
給湯装置
3か月前
株式会社コロナ
空調装置
2か月前
株式会社コロナ
空調装置
1か月前
個人
油ハネ防止カーテン
3日前
株式会社コロナ
空調装置
1か月前
株式会社コロナ
空調装置
14日前
株式会社コロナ
空調装置
4か月前
株式会社コロナ
空気調和機
3か月前
株式会社コロナ
風呂給湯機
1か月前
株式会社コロナ
空気調和機
2か月前
個人
太陽光パネル傾斜装置
24日前
個人
住宅換気空調システム
2か月前
株式会社コロナ
直圧式給湯機
4か月前
株式会社コロナ
貯湯式給湯機
1か月前
株式会社コロナ
貯湯式給湯機
1か月前
株式会社コロナ
直圧式給湯機
2か月前
株式会社コロナ
温水暖房装置
14日前
株式会社コロナ
暖房システム
1か月前
個人
シンプルクーラー
22日前
ホーコス株式会社
排気フード
3か月前
株式会社パロマ
給湯器
4か月前
株式会社コロナ
貯湯式給湯装置
4か月前
三菱電機株式会社
換気扇
23日前
続きを見る
他の特許を見る