TOP
|
特許
|
意匠
|
商標
特許ウォッチ
Twitter
他の特許を見る
10個以上の画像は省略されています。
公開番号
2025107813
公報種別
公開特許公報(A)
公開日
2025-07-22
出願番号
2024001272
出願日
2024-01-09
発明の名称
モールドコイル及びモールドコイルの製造方法
出願人
株式会社タムラ製作所
代理人
個人
,
個人
,
個人
,
個人
主分類
H01F
37/00 20060101AFI20250714BHJP(基本的電気素子)
要約
【課題】コイルの湾曲面の被膜の損傷を防止し、コイルの露出面への樹脂の流入を阻止するモールドコイル及びモールドコイルの製造方法を提供する。
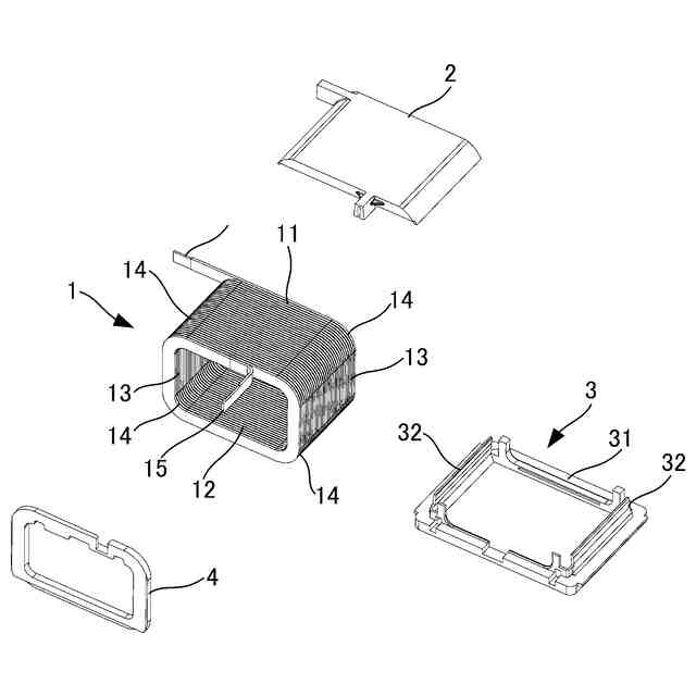
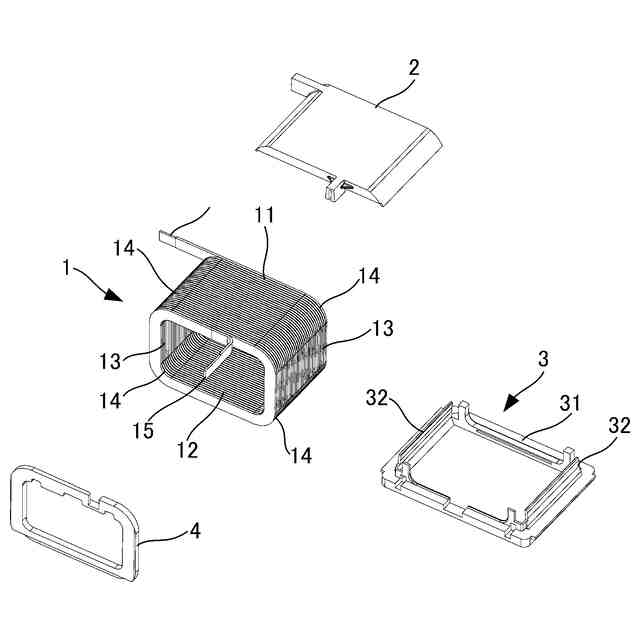
【解決手段】モールドコイルは、上面、下面及び一対の側面である4つの平坦面と4つの湾曲面が交互に形成されたコイル1と、コイル1の下面に配置される下面カバー3と、を備え、モールド樹脂が、コイル1の下面を除き、コイル1の周囲の少なくとも一部を被覆する。下面カバー3は、コイル1の下面を露出させる枠状部31と、枠状部31から立ち上がる壁部32と、を有する。壁部32は、コイル1の側面13に接触し、コイル1の湾曲面14に接触していない。モールド成型の際、モールド樹脂は壁部32の上方から射出される。
【選択図】図2
特許請求の範囲
【請求項1】
上面、下面及び一対の側面である4つの平坦面と4つの湾曲面が交互に形成されたコイルと、
前記コイルの下面に配置される下面カバーと、
前記コイルの下面を除き、前記コイルの周囲の少なくとも一部を被覆するモールド樹脂と、
を備え、
前記コイルは、絶縁被膜層で被覆した導電性部材を巻回して成り、
前記下面カバーは、
前記コイルの下面を露出させる枠状部と、
前記枠状部から立ち上がる壁部と、
を有し、
前記壁部の先端が前記コイルの側面に接触し、前記壁部は前記コイルの湾曲面に接触していないこと、
を特徴とするモールドコイル。
続きを表示(約 1,600 文字)
【請求項2】
前記壁部には前記壁部の先端が湾曲したR部が形成されており、
前記壁部は、前記R部によって前記コイルの側面と接触していること、
を特徴とする請求項1に記載のモールドコイル。
【請求項3】
前記壁部は、先細り形状であること、
を特徴とする請求項1又は2に記載のモールドコイル。
【請求項4】
前記壁部の外周面は、湾曲していること、
を特徴とする請求項1又は2に記載のモールドコイル。
【請求項5】
前記壁部は、前記コイルの側面と湾曲面の境界より高い位置で前記側面と接触していること
を特徴とする請求項1又は2に記載のモールドコイル。
【請求項6】
前記モールド樹脂は、前記コイルとともにコアを被覆し、
前記コアは、コア被覆樹脂によって被覆されており、
前記コア被覆樹脂は、
肉薄部と、
前記肉薄部の上方に設けられ、前記コイル側に突出する肉厚部と、
を有し、
前記壁部は、前記肉厚部の高さまで達せず、前記肉薄部と対向していること、
を特徴とする請求項1又は2に記載のモールドコイル。
【請求項7】
絶縁被膜層で被覆した導電性部材を巻回して成るコイル単体でモールド成形するモールドコイルの製造方法であって、
前記コイルにカバーを装着する装着工程と、
前記カバーを装着した前記コイルを金型に収容し、モールド樹脂によって前記コイルの下面を除き、前記コイルの周囲の少なくとも一部を被覆するモールド成形工程と、
を含み、
前記コイルは、上面、下面及び一対の側面である4つの平坦面と4つの湾曲面が交互に形成されており、
前記カバーは、
前記コイルの下面を露出させる枠状部と、
前記枠状部から立ち上がる壁部と、
を有し、
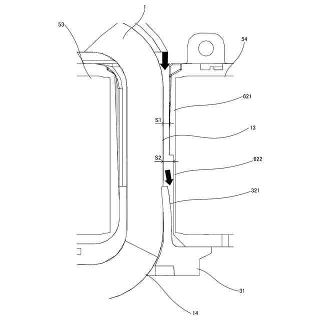
前記金型は、前記コイルに対向する面が前記コイルに向かって突出する肉厚部を有し、
前記装着工程では、前記壁部は前記コイルの湾曲面と接触させず、かつ、前記壁部の先端が前記コイルの側面と接触するように装着され、
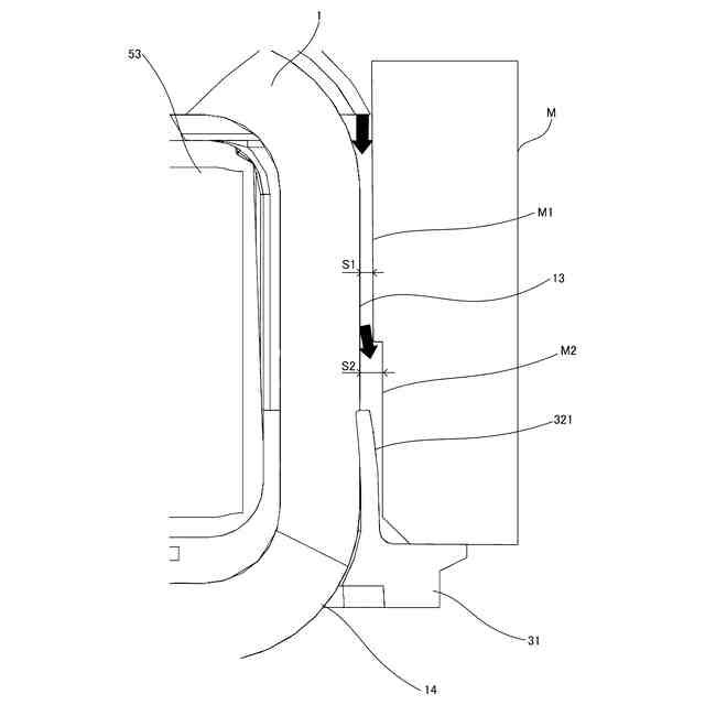
前記モールド成形工程では、前記壁部に向かう前記モールド樹脂は、前記コイルと前記肉厚部の間の細い流路を通った後、前記壁部に向かって流出すること、
を特徴とするモールドコイルの製造方法。
【請求項8】
絶縁被膜層で被覆した導電性部材を巻回して成るコイルとコアをモールド成形するモールドコイルの製造方法であって、
前記コイルにカバーを装着する装着工程と、
前記コイルに前記コアを組み付けた組立体を作製する組立工程と、
前記組立体を金型に収容し、モールド樹脂によって前記コイルの下面を除き、前記コイルの周囲の少なくとも一部を被覆するモールド成形工程と、
を含み、
前記コイルは、上面、下面及び一対の側面である4つの平坦面と4つの湾曲面が交互に形成されており、
前記カバーは、
前記コイルの下面を露出させる枠状部と、
前記枠状部から立ち上がる壁部と、
を有し、
前記コアは、コア被覆樹脂で被覆されており、
前記コア被覆樹脂は、前記コイルと対向する面が前記コイルに向かって突出する肉厚部を有し、
前記装着工程では、前記壁部は前記コイルの湾曲面と接触させず、かつ、前記壁部の先端が前記コイルの側面と接触するように装着され、
前記モールド成形工程では、前記壁部に向かう前記モールド樹脂は、前記コイルと前記肉厚部の間の細い流路を通った後、前記壁部に向かって流出すること、
を特徴とするモールドコイルの製造方法。
発明の詳細な説明
【技術分野】
【0001】
本発明は、モールド成形されるモールドコイル及びモールドコイルの製造方法に関する。
続きを表示(約 2,000 文字)
【背景技術】
【0002】
OA機器、太陽光発電システム、自動車など様々な用途にリアクトルなどのコイル部品が用いられている。コイル部品は、磁性材から成るコアにコイルを巻回して成る。また、コアとコイルの間には、コアとコイルを絶縁するため、樹脂部材が設けられている。
【0003】
近年、樹脂部材の樹脂でコイル単体を又はコイルとともにコアを一緒にモールド成形したモールドコイルが各所において使用されている。モールド成形では、コイルやコアを金型の所定の位置に配置し、樹脂を金型内に注入し、固化することでコイルやコアの内周面や外周面を樹脂部材で被覆されたモールドコイルが作製される。
【0004】
もっとも、放熱性を高めるため、コイルの表面を樹脂によって被覆せず、露出させる場合がある。露出させるためには、露出面への樹脂の流入を防ぐため、金型をコイルの露出面に強く押し当てる必要がある。一方で、金型を強く押し当てると、コイル表面が損傷し、コイル表面のエナメル等の被膜が剥がれる虞がある。そこで、コイルの表面の一部を樹脂製のカバーで被覆し、コイルと金型の間にこのカバーを介在させて押圧する手法が提案されている。
【先行技術文献】
【特許文献】
【0005】
特開2021-044280号公報
【発明の概要】
【発明が解決しようとする課題】
【0006】
コイルは、エナメル等の被膜を施した1本の導電性部材を巻き位置を巻軸方向にずらしながら筒状に巻回して成る。そのため、導電性部材を湾曲させたコイルの湾曲面の被膜が薄い。そのため、コイルの湾曲面については、樹脂製のカバーを用いた場合においても、なお損傷して被膜が剥がれるという問題が生じている。
【0007】
本発明は、上記課題を解決するためになされたものであり、その目的は、コイルの湾曲面の被膜の損傷を防止し、コイルの露出面への樹脂の流入を阻止することができるモールドコイル及びモールドコイルの製造方法を提供することにある。
【課題を解決するための手段】
【0008】
本発明のモールドコイルは、上面、下面及び一対の側面である4つの平坦面と4つの湾曲面が交互に形成されたコイルと、前記コイルの下面に配置される下面カバーと、前記コイルの下面を除き、前記コイルの周囲の少なくとも一部を被覆するモールド樹脂と、を備え、前記下面カバーは、前記コイルの下面を露出させる枠状部と、前記枠状部から立ち上がる壁部と、を有し、前記壁部は、前記コイルの側面に接触し、前記コイルの湾曲面に接触していないこと、を特徴とする。
【0009】
本発明のモールドコイルの製造方法は、コイル単体でモールド成形するモールドコイルの製造方法であって、前記コイルにカバーを装着する装着工程と、前記カバーを装着した前記コイルを金型に収容し、モールド樹脂によって前記コイルの下面を除き、前記コイルの周囲の少なくとも一部を被覆するモールド成形工程と、を含み、前記コイルは、上面、下面及び一対の側面である4つの平坦面と4つの湾曲面が交互に形成されており、前記カバーは、前記コイルの下面を露出させる枠状部と、前記枠状部から立ち上がる壁部と、を有し、前記金型は、前記コイルに対向する面が前記コイルに向かって突出する肉厚部を有し、前記装着工程では、前記壁部は、前記コイルの湾曲面と接触させず、かつ、前記コイルの側面と接触するように装着され、前記モールド成形工程では、前記壁部に向かう前記モールド樹脂は、前記コイルと前記肉厚部の間の細い流路を通った後、前記壁部に向かって流出すること、を特徴とする。
【0010】
また、本発明のモールドコイルの製造方法は、コイルとコアをモールド成形するモールドコイルの製造方法であって、前記コイルにカバーを装着する装着工程と、前記コイルに前記コアを組み付けた組立体を作製する組立工程と、前記組立体を金型に収容し、モールド樹脂によって前記コイルの下面を除き、前記コイルの周囲の少なくとも一部を被覆するモールド成形工程と、を含み、前記コイルは、上面、下面及び一対の側面である4つの平坦面と4つの湾曲面が交互に形成されており、前記カバーは、前記コイルの下面を露出させる枠状部と、前記枠状部から立ち上がる壁部と、を有し、前記コアは、コア被覆樹脂で被覆されており、前記コア被覆樹脂は、前記コイルと対向する面が前記コイルに向かって突出する肉厚部を有し、前記装着工程では、前記壁部は、前記コイルの湾曲面と接触させず、かつ、前記コイルの側面と接触するように装着され、前記モールド成形工程では、前記壁部に向かう前記モールド樹脂は、前記コイルと前記肉厚部の間の細い流路を通った後、前記壁部に向かって流出すること、を特徴とする。
【発明の効果】
(【0011】以降は省略されています)
この特許をJ-PlatPat(特許庁公式サイト)で参照する
関連特許
株式会社タムラ製作所
絶縁材
13日前
株式会社タムラ製作所
搬送加熱装置
12日前
株式会社タムラ製作所
反射材硬化物
12日前
株式会社タムラ製作所
反射材硬化物
12日前
株式会社タムラ製作所
反射材硬化物
12日前
株式会社タムラ製作所
リアクトルの製造方法
19日前
株式会社タムラ製作所
パワー半導体モジュール
13日前
株式会社タムラ製作所
フラックス、ソルダペーストおよびプリント回路基板
12日前
株式会社タムラ製作所
樹脂フィルム、樹脂付き銅箔、多層配線基板、コイル構造体、および磁気デバイス
12日前
株式会社タムラ製作所
感光性樹脂組成物、感光性樹脂組成物の光硬化物及び当該光硬化物を有するプリント配線板
13日前
東ソー株式会社
絶縁電線
今日
個人
フレキシブル電気化学素子
12日前
日本発條株式会社
積層体
23日前
ローム株式会社
半導体装置
21日前
個人
防雪防塵カバー
23日前
ローム株式会社
半導体装置
21日前
ローム株式会社
半導体装置
21日前
日新イオン機器株式会社
イオン源
8日前
ローム株式会社
半導体装置
14日前
株式会社ユーシン
操作装置
12日前
ローム株式会社
半導体装置
19日前
株式会社GSユアサ
蓄電設備
12日前
太陽誘電株式会社
コイル部品
12日前
株式会社GSユアサ
蓄電装置
23日前
太陽誘電株式会社
全固体電池
19日前
株式会社GSユアサ
蓄電設備
12日前
オムロン株式会社
電磁継電器
13日前
株式会社ホロン
冷陰極電子源
6日前
株式会社GSユアサ
蓄電装置
19日前
株式会社ホロン
冷陰極電子源
19日前
個人
半導体パッケージ用ガラス基板
22日前
日本特殊陶業株式会社
保持装置
1日前
日本特殊陶業株式会社
保持装置
23日前
ローム株式会社
電子装置
23日前
日本特殊陶業株式会社
保持装置
21日前
トヨタ自動車株式会社
冷却構造
今日
続きを見る
他の特許を見る