TOP
|
特許
|
意匠
|
商標
特許ウォッチ
Twitter
他の特許を見る
公開番号
2025080668
公報種別
公開特許公報(A)
公開日
2025-05-26
出願番号
2023193968
出願日
2023-11-14
発明の名称
土壌中の窒素成分量の測定方法
出願人
日本碍子株式会社
代理人
個人
,
個人
主分類
G01N
27/416 20060101AFI20250519BHJP(測定;試験)
要約
【課題】 土壌中の窒素成分量を、その場で簡便に測定する方法を提供する。
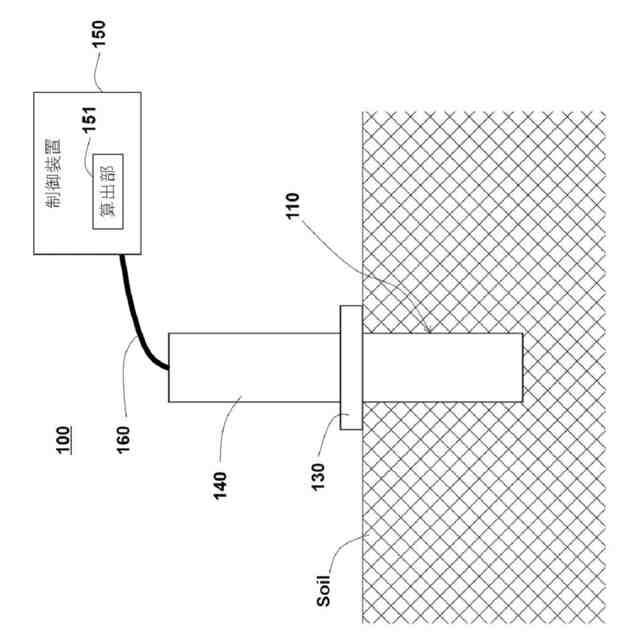
【解決手段】 ガスセンサ100を用いた土壌Soil中の窒素成分量の測定方法であって、ガスセンサ100は、被測定ガスを導入して被測定ガス中の含窒素ガスを測定対象ガスとして検出するガス検出部110と、ガス検出部110を加熱するヒータとを含み、前記測定方法は、ガス検出部110を測定すべき土壌Soilの所望の位置に挿入する挿入工程と、ヒータにより加熱されたガス検出部110により、ガス検出部110の外表面に接する土壌Soilを加熱し、土壌Soil中に含まれる窒素成分を熱分解して含窒素ガスを発生させる分解工程と、発生した含窒素ガスの量をガスセンサ100により検出する検出工程と、検出された含窒素ガスの前記量に基づいて、土壌Soil中の窒素成分量を算出する算出工程と、を含む。
【選択図】図1
特許請求の範囲
【請求項1】
ガスセンサを用いた土壌中の窒素成分量の測定方法であって、
前記ガスセンサは、
被測定ガスを導入して被測定ガス中の含窒素ガスを測定対象ガスとして検出するガス検出部と、
前記ガス検出部を加熱するヒータと、
を含み、
前記測定方法は、
前記ガスセンサの前記ガス検出部を、測定すべき土壌の所望の位置に挿入する挿入工程と、
前記ヒータにより加熱された前記ガス検出部により、前記ガス検出部の外表面に接する土壌を加熱し、前記土壌中に含まれる窒素成分を熱分解して含窒素ガスを発生させる分解工程と、
発生した前記含窒素ガスの量を前記ガスセンサにより検出する検出工程と、
検出された含窒素ガスの前記量に基づいて、前記土壌中の窒素成分量を算出する算出工程と、を含む土壌中の窒素成分量の測定方法。
続きを表示(約 1,400 文字)
【請求項2】
前記ガスセンサは、酸素イオン伝導性の固体電解質を含む長尺板状のセンサ素子を含み、
前記ガス検出部は、
前記センサ素子の長手方向の一方端の側の被測定ガスに接する部分と、
前記センサ素子の長手方向の前記一方端の側に形成された被測定ガス流通空所と、
前記被測定ガス流通空所内に配設された空所内測定電極と、前記被測定ガス流通空所とは異なる位置に配設され、前記空所内測定電極と対応する空所外測定電極とを含む、測定用ポンプセルとを含み、
前記検出工程において、前記ガスセンサは、前記測定用ポンプセルに流れる電流に基づいて、被測定ガス中の含窒素ガスの前記量を検出する、請求項1に記載の測定方法。
【請求項3】
前記検出工程において、前記ガスセンサは、前記測定用ポンプセルに流れる前記電流を所定の時間積分した電流積分値に基づいて、被測定ガス中の含窒素ガスの前記量を検出する、請求項2に記載の測定方法。
【請求項4】
前記ガスセンサの前記ガス検出部の前記外表面は、温度が180℃以上に保たれている、請求項1に記載の測定方法。
【請求項5】
前記ガスセンサの前記ガス検出部の前記外表面は、温度が500℃以下に保たれている、請求項1に記載の測定方法。
【請求項6】
前記ガスセンサの前記ガス検出部は、前記センサ素子の長手方向の前記一方端を保護する保護カバーを含み、
前記保護カバーの外表面は、前記ガスセンサの前記ガス検出部の前記外表面である、請求項2に記載の測定方法。
【請求項7】
前記センサ素子の長手方向の前記一方端の側の被測定ガスに接する前記部分の外表面は、前記ガスセンサの前記ガス検出部の前記外表面である、請求項2に記載の測定方法。
【請求項8】
前記算出工程において、前記ガスセンサにより検出された含窒素ガスの前記量と、予め求めておいた前記ガスセンサにより検出される含窒素ガスの量と土壌中の窒素成分量との相関関係とを用いて、前記土壌中の窒素成分量を算出する、請求項1に記載の測定方法。
【請求項9】
前記ガスセンサの測定対象ガスとしての前記含窒素ガスは、一酸化窒素NO、二酸化窒素NO
2
、及びアンモニアNH
3
からなる群から選ばれる少なとも1つ以上のガスである、請求項1に記載の測定方法。
【請求項10】
ガスセンサを用いて土壌中の窒素成分量が過剰か否かを判断する判断方法であって、
前記ガスセンサは、
被測定ガスを導入して被測定ガス中の含窒素ガスを測定対象ガスとして検出するガス検出部と、
前記ガス検出部を加熱するヒータと、
を含み、
前記判定方法は、
前記ガスセンサの前記ガス検出部を、測定すべき土壌の所望の位置に挿入する挿入工程と、
前記ヒータにより加熱された前記ガス検出部により、前記ガス検出部の外表面に接する土壌を加熱し、前記土壌中に含まれる窒素成分を熱分解して含窒素ガスを発生させる分解工程と、
発生した前記含窒素ガスの量を前記ガスセンサにより検出する検出工程と、
検出された含窒素ガスの前記量が所定の値より大きい場合に、前記土壌中の窒素成分量が過剰であると判断する判断工程と、を含む土壌中の窒素成分量の判断方法。
(【請求項11】以降は省略されています)
発明の詳細な説明
【技術分野】
【0001】
本発明は、土壌中の窒素成分量を測定する方法に関する。特に、ガスセンサを用いて土壌中の窒素成分量を測定する方法に関する。
続きを表示(約 1,400 文字)
【背景技術】
【0002】
亜酸化窒素N
2
Oは、温室効果ガスの一種であり、その地球温暖化係数は、代表的な温室効果ガスの二酸化炭素CO
2
の約300倍である(非特許文献1)。亜酸化窒素N
2
Oは、地球温暖化対策として、排出量を減らすべきガス種であり、排出量の削減目標も定められている。
【0003】
亜酸化窒素N
2
Oの排出量のうちの約75%が農業分野からの排出によるものである(非特許文献1)。具体的には、土壌に撒かれた窒素肥料のうち、野菜等の作物に吸収されず土壌に残留する余剰の窒素肥料が、土壌中のバクテリアに分解されて、亜酸化窒素N
2
Oが発生し、大気中に排出される。従って、亜酸化窒素N
2
Oの発生を抑制するためには、土壌中の窒素成分量を作物の生長に適した量に維持し、余剰の窒素肥料がない状態にすることがよい。そのために、土壌中の窒素成分量を測定することが必要である。土壌中の窒素成分の適正量は、土壌やその土壌に植えられる作物の種類により異なり得る。
【先行技術文献】
【特許文献】
【0004】
特許第3050781号公報
【非特許文献】
【0005】
ACS Sensors, 2002, 7, 3598-3610, https://doi.org/10.1021/acssensors.2c01275
【発明の概要】
【発明が解決しようとする課題】
【0006】
土壌中の窒素成分量の測定方法はいくつか知られている。例えば、一般的に用いられる土壌診断法は、窒素成分量を測定すべき土壌から土をサンプリングして、実験室にて分析を行う方法である。詳細な分析が可能ではあるが、手順が煩雑であり、且つ、結果を得るまでに時間を要するという課題がある。
【0007】
また、土壌中のpHやEC(電気伝導度;Electric Conductivity)を計測し、それらの値から、土壌中の窒素成分の過不足を推定する簡易診断方法も知られている。しかしながら、pHやECは窒素成分以外の成分の影響も受けるため、窒素成分の測定としての測定精度は低いという課題がある。
【0008】
また、非特許文献1には、測定すべき土壌(畑等)内に複数のN
2
Oセンサを立てて、大気中へのN
2
O排出量の空間分布を把握するアイデアが示されている(図8)。しかしながら、土壌から大気中に排出されたN
2
Oは空間中に拡散して、大気中に希釈されるため、N
2
Oセンサは極低濃度のN
2
Oを測定することを要し、測定精度が低くなると考えられる。
【0009】
上述の課題を鑑みて、本発明は、土壌中の窒素成分量を、その場で簡便に測定する方法を提供することを目的とする。
【課題を解決するための手段】
【0010】
本発明者は、鋭意検討の結果、ガスセンサを用いて土壌中の窒素成分量を測定する方法を見出した。本発明には、以下の発明が含まれる。
(【0011】以降は省略されています)
この特許をJ-PlatPat(特許庁公式サイト)で参照する
関連特許
他の特許を見る