TOP
|
特許
|
意匠
|
商標
特許ウォッチ
Twitter
他の特許を見る
公開番号
2025067394
公報種別
公開特許公報(A)
公開日
2025-04-24
出願番号
2023177345
出願日
2023-10-13
発明の名称
ラベル
出願人
株式会社フジシール
代理人
個人
,
個人
,
個人
主分類
G09F
3/02 20060101AFI20250417BHJP(教育;暗号方法;表示;広告;シール)
要約
【課題】非貼着部(突出部)のシワ、折れ、カール等の変形を抑制することのできるラベル(POPラベル)を提供すること。
【解決手段】本発明のラベルは、おもて面と、対象物に貼着可能な裏面と、を有する。前記ラベルは、平面視において、前記裏面が前記対象物に貼着される貼着部と、前記裏面が前記対象物に貼着されない非貼着部と、から構成される。前記ラベルが前記対象物に貼着された貼着状態において、前記ラベルの前記非貼着部の少なくとも一部は、前記対象物に対して外方に突出する。前記貼着状態において、前記ラベルは、前記ラベルの突出方向の先端側端縁側から内側に延びる線状の折り曲げ部を有する。
【選択図】図3
特許請求の範囲
【請求項1】
おもて面と、対象物に貼着可能な裏面と、を有するラベルであって、
前記ラベルは、平面視において、前記裏面が前記対象物に貼着される貼着部と、前記裏面が前記対象物に貼着されない非貼着部と、から構成され、
前記ラベルが前記対象物に貼着された貼着状態において、前記ラベルの前記非貼着部の少なくとも一部は、前記対象物に対して外方に突出し、
前記貼着状態において、前記ラベルは、前記ラベルの突出方向の先端側端縁側から内側に延びる線状の折り曲げ部を有する、
ラベル。
続きを表示(約 310 文字)
【請求項2】
前記ラベルは、折り曲げ補助線を有し、
前記折り曲げ部は、前記折り曲げ補助線に沿って折れ曲がった部分である、請求項1に記載のラベル。
【請求項3】
前記折り曲げ補助線は、前記先端側端縁に達する切込みを含まない、請求項2に記載のラベル。
【請求項4】
前記折り曲げ補助線は、前記裏面に設けられた線状の凹部により構成される、請求項2に記載のラベル。
【請求項5】
前記対象物は、筒状の胴部を有し、
前記ラベルの前記貼着部が、前記胴部の軸方向の端部に貼着され、前記ラベルの前記非貼着部が、前記胴部から軸方向の外方に突出する、請求項1に記載のラベル。
発明の詳細な説明
【技術分野】
【0001】
本発明は、ラベルに関する。
続きを表示(約 1,700 文字)
【背景技術】
【0002】
商品等の対象物に貼り付けられるPOPラベル(アテンションラベル、タックラベル)は、消費者に対する視認性や広告効果の向上を目的として、商品容器等の対象物に対して外方(例えば、上方)に一部が突出するように対象物5に貼着される。
【0003】
例えば、特許文献1(特許第6782594号公報)には、頂部にスリットが設けられたPOPラベルが記載されている。特許文献1には、POPラベルの頂部に外力が作用したときに、頂部に設けられたスリットにより外力が緩和され、POPラベルの折れ曲がりや、容器からの剥がれを防止できる旨記載されている。
なお、特許文献1で、スリットの例として、切込み、ミシン目、罫線が挙げられているが、上記の外力を緩和する旨の作用効果の説明や全体の記載から、スリットは基本的に切込みであると考えられる。
【先行技術文献】
【特許文献】
【0004】
特許第6782594号公報
【発明の概要】
【発明が解決しようとする課題】
【0005】
POPラベルの課題として、対象物(被着体)に対して突出して貼られるため、製品輸送中の梱包資材との接触や製品同士の接触、あるいは、店頭に陳列する際又は陳列後に人がラベルに接触することにより、ラベルの突出部(対象物から突出する部分)にシワや折れが入り、ラベルが曲がってしまうことで、ラベルの見栄えが大きく損ねられる可能性がある。特に、POPラベルの基材が比較的柔らかい薄い樹脂フィルムである場合、POPラベルの突出部が自重により自然に垂れ下がる可能性もあり、また、POPラベルの基材が紙である場合、外力によりシワや折れが生じやすい。
【0006】
なお、特許文献1に記載のラベルでは、ラベルを折り曲げるような外力が加えられた場合、スリットを起点にラベルの頂部に裂け目が生じ易いと考えられる。また、ラベルの頂部の切込み等を設けると、その部分はラベルのデザインの美観や視認性を損ねることになる。また、特許文献1に記載のラベルでは、スリットの両側において、外力が加えられなかった側は外力が緩和されるものの、外力が加えられた側は、むしろ外力への抗力が低下して折り曲げられ易くなってしまう。また、特許文献1に記載のラベルでは、自然に自重で垂れ下がるような柔らかい素材に対して、垂れ下がりによる折れ曲がりを防止する効果は規定できない。
【0007】
本発明の目的は、非貼着部(突出部)のシワ、折れ、カール等の変形を抑制することのできるラベル(POPラベル)を提供することである。
【課題を解決するための手段】
【0008】
本発明のラベルは、おもて面と、対象物に貼着可能な裏面と、を有する。
前記ラベルは、平面視において、前記裏面が前記対象物に貼着される貼着部と、前記裏面が前記対象物に貼着されない非貼着部と、から構成される。
前記ラベルが前記対象物に貼着された貼着状態において、前記ラベルの前記非貼着部の少なくとも一部は、前記対象物に対して外方に突出する。
前記貼着状態において、前記ラベルは、前記ラベルの突出方向の先端側端縁側から内側に延びる線状の折り曲げ部を有する。
【発明の効果】
【0009】
本発明によれば、非貼着部(突出部)のシワ、折れ、カール等の変形を抑制することのできるラベル(POPラベル)を提供することができる。
【図面の簡単な説明】
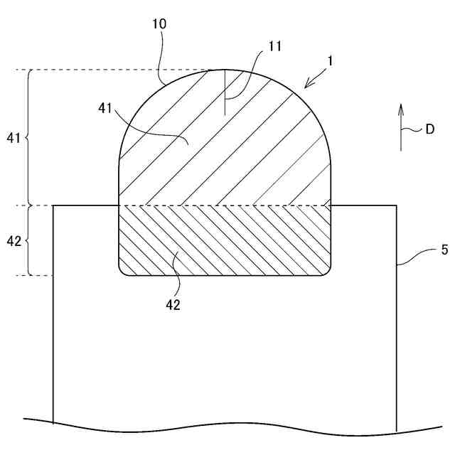
【0010】
実施形態のラベルの貼着状態を示す断面図である。
実施形態のラベルの貼着状態を示す正面図である。
実施形態のラベルのバリエーションを示す平面図である。
実施形態のラベルの別のバリエーションを示す平面図である。
実施形態のラベルの貼着状態を示す斜視図である。
ラベルの座屈強度の測定方法を説明するための模式図である。
【発明を実施するための形態】
(【0011】以降は省略されています)
この特許をJ-PlatPat(特許庁公式サイト)で参照する
関連特許
他の特許を見る