TOP
|
特許
|
意匠
|
商標
特許ウォッチ
Twitter
他の特許を見る
公開番号
2025064639
公報種別
公開特許公報(A)
公開日
2025-04-17
出願番号
2023174552
出願日
2023-10-06
発明の名称
培養装置
出願人
キヤノン株式会社
,
キヤノンメディカルシステムズ株式会社
代理人
弁理士法人虎ノ門知的財産事務所
主分類
C12M
3/00 20060101AFI20250410BHJP(生化学;ビール;酒精;ぶどう酒;酢;微生物学;酵素学;突然変異または遺伝子工学)
要約
【課題】目的に応じた培養容器を用いた細胞培養を閉鎖状態で行うこと。
【解決手段】本実施形態に係る培養装置は、供給部と、筐体と、保持機構とを備える。前記供給部は、細胞の培養を行う培地を培養容器に供給する。前記筐体は、前記供給部が設けられ、前記培養容器との間で密閉空間を形成する。前記保持機構は、前記筐体に設けられ、前記培養容器を保持する。これにより、本実施形態に係る培養装置は、様々な目的に応じた培養を閉鎖状態で行うことができる。
【選択図】図2
特許請求の範囲
【請求項1】
細胞の培養を行う培地を培養容器に供給する供給部と、
前記供給部が設けられ、前記培養容器との間で密閉空間を形成するための筐体と、
前記筐体に設けられ、前記培養容器を保持する保持機構と、
を備える培養装置。
続きを表示(約 530 文字)
【請求項2】
前記保持機構は、前記培養容器の底面を下側から支持した上で、前記筐体を前記培養容器の上端に接触させて前記筐体の上部から押し込むことで前記密閉空間を形成すると共に前記培養容器を保持する、
請求項1に記載の培養装置。
【請求項3】
前記保持機構は、弾性部材を有し、前記弾性部材と前記培養容器の側壁上部とが接することで前記培養容器を保持する、
請求項1に記載の培養装置。
【請求項4】
前記弾性部材は、前記筐体の溝部に挟持される、
請求項3に記載の培養装置。
【請求項5】
前記培養容器に収容された前記細胞を剥離する液滴を吐出する吐出部、
を更に備える請求項1に記載の培養装置。
【請求項6】
前記供給部及び前記吐出部は、前記筐体内に設けられている、
請求項5に記載の培養装置。
【請求項7】
細胞の培養を行う培地を培養容器に供給する供給部と、
前記供給部が設けられ、前記培養容器との間で密閉空間を形成するための筐体と、
を備え、
前記培養容器は、前記筐体と着脱可能である、
培養装置。
発明の詳細な説明
【技術分野】
【0001】
本明細書及び図面に開示の実施形態は、培養装置に関する。
続きを表示(約 1,500 文字)
【背景技術】
【0002】
細胞培養には開放系培養と閉鎖系培養との2種類がある。開放系培養は、通常、培養容器であるディッシュを用いて培養し、培地交換や継代などの作業を作業者がディッシュの蓋を開けて行う一般的な培養方法である。開放系培養では、細胞が培養されている空間が基本的に開放状態であるため、培養容器内に細菌等が混入する可能性がある。閉鎖系培養では、閉鎖系(密閉)の培養容器での培養が可能であるが、培地交換等の作業については開放状態で作業者が行うため、その際にやはり細菌等が混入するリスクがある。そのため、培地交換や細胞剥離についても閉鎖状態で行うことが可能な培養装置が求められる。
【先行技術文献】
【特許文献】
【0003】
特開2008-79554号公報
【発明の概要】
【発明が解決しようとする課題】
【0004】
培地交換等を閉鎖状態で行う培養装置を構成する場合、培養容器(培養室)を装置全体にあわせて設計することが考えられる。しかし、培養の目的によって培養容器を変更しようとすると、別の装置を設計する必要がある。
【0005】
本明細書及び図面に開示の実施形態が解決しようとする課題の一つは、目的に応じた培養容器を用いた細胞培養を閉鎖状態で行うことである。ただし、本明細書及び図面に開示の実施形態により解決される課題は上記課題に限られない。後述する実施形態に示す各構成による各効果に対応する課題を他の課題として位置づけることもできる。
【課題を解決するための手段】
【0006】
本実施形態に係る培養装置は、供給部と、筐体と、保持機構とを備える。前記供給部は、細胞の培養を行う培地を培養容器に供給する。前記筐体は、前記供給部が設けられ、前記培養容器との間で密閉空間を形成する。前記保持機構は、前記筐体に設けられ、前記培養容器を保持する。これにより、本実施形態に係る培養装置は、様々な目的に応じた培養を閉鎖状態で行うことができる。
【図面の簡単な説明】
【0007】
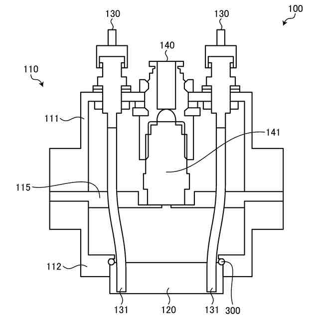
図1は、本実施形態に係る培養装置の構成を示す斜視図である。
図2は、本実施形態に係る培養装置の構成を示す側断面図である。
図3は、本実施形態に係る培養装置の構成を示す側断面図である。
図4は、本実施形態に係る培養装置における第2筐体部の側面図であり、保持機構の一例を説明するための図である。
図5Aは、筐体部の内径面で培養容器を保持しようとした場合の問題点を説明するための図である。
図5Bは、筐体部の内径面で培養容器を保持しようとした場合の問題点を説明するための図である。
【発明を実施するための形態】
【0008】
以下、図面を参照して、培養装置の実施形態について詳細に説明する。なお、実施形態は、以下の実施形態に限られるものではない。また、一つの実施形態に記載した内容は、原則として他の実施形態にも同様に適用される。
【0009】
図1は、本実施形態に係る培養装置100の構成を示す斜視図である。図2及び図3は、本実施形態に係る培養装置100の構成を示す側断面図である。ここで、図2は、図3に示すチューブ131の図示を省略している。図3は、図1、図2に示す支持部材150の図示を省略している。
【0010】
図1に示すように、本実施形態に係る培養装置100は、筐体110と、遮光板115と、複数の継手130とを備える。
(【0011】以降は省略されています)
この特許をJ-PlatPat(特許庁公式サイト)で参照する
関連特許
キヤノン株式会社
容器
26日前
キヤノン株式会社
容器
20日前
キヤノン株式会社
トナー
12日前
キヤノン株式会社
トナー
29日前
キヤノン株式会社
測距装置
14日前
キヤノン株式会社
表示装置
20日前
キヤノン株式会社
記録装置
26日前
キヤノン株式会社
定着装置
5日前
キヤノン株式会社
撮像装置
20日前
キヤノン株式会社
撮像装置
26日前
キヤノン株式会社
撮像装置
26日前
キヤノン株式会社
撮像装置
26日前
キヤノン株式会社
現像容器
1か月前
キヤノン株式会社
測距装置
1か月前
キヤノン株式会社
記録装置
5日前
キヤノン株式会社
電子機器
7日前
キヤノン株式会社
撮像装置
13日前
キヤノン株式会社
撮像装置
12日前
キヤノン株式会社
雲台装置
12日前
キヤノン株式会社
現像装置
1か月前
キヤノン株式会社
記録装置
12日前
キヤノン株式会社
電子機器
12日前
キヤノン株式会社
記録装置
12日前
キヤノン株式会社
撮像装置
7日前
キヤノン株式会社
電子機器
12日前
キヤノン株式会社
現像装置
1か月前
キヤノン株式会社
現像容器
1か月前
キヤノン株式会社
定着装置
5日前
キヤノン株式会社
現像装置
1か月前
キヤノン株式会社
定着装置
5日前
キヤノン株式会社
露光ヘッド
5日前
キヤノン株式会社
液体収容体
15日前
キヤノン株式会社
液体収容体
14日前
キヤノン株式会社
画像形成装置
29日前
キヤノン株式会社
画像形成装置
1か月前
キヤノン株式会社
画像形成装置
13日前
続きを見る
他の特許を見る