TOP
|
特許
|
意匠
|
商標
特許ウォッチ
Twitter
他の特許を見る
10個以上の画像は省略されています。
公開番号
2025062276
公報種別
公開特許公報(A)
公開日
2025-04-14
出願番号
2023171222
出願日
2023-10-02
発明の名称
画像読取装置
出願人
キヤノン電子株式会社
代理人
主分類
H04N
1/04 20060101AFI20250407BHJP(電気通信技術)
要約
【課題】エッジ検出にかかる処理時間を短縮する。
【解決手段】原稿の画像を読み取る読取手段と、読取手段と原稿とを相対移動させる移動手段と、画像データから、移動手段による移動方向における第1の端部を検出する第1端部検出手段と、画像データから、第1の端部と反対側の端部である第2の端部を検出する第2端部検出手段と、第1の端部および前記第2の端部に基づいて、原稿の輪郭を検出する輪郭検出手段とを備え、第1の端部を検出するときの画像データの解像度である第1解像度よりも、第2の端部を検出するときの画像データの解像度である第2解像度の方が低い。
【選択図】図10
特許請求の範囲
【請求項1】
原稿の画像を読み取る読取手段と、
前記読取手段と前記原稿とを相対移動させる移動手段と、
前記画像データから、前記移動手段による移動方向における第1の端部を検出する第1端部検出手段と、
前記画像データから、前記第1の端部と反対側の端部である第2の端部を検出する第2端部検出手段と、
前記第1の端部および前記第2の端部に基づいて、原稿の輪郭を検出する輪郭検出手段と
を備え、
前記第1の端部を検出するときの前記画像データの解像度である第1解像度よりも、前記第2の端部を検出するときの前記画像データの解像度である第2解像度の方が低いことを特徴とする画像読取装置。
続きを表示(約 830 文字)
【請求項2】
前記読取手段は、前記原稿における第1の面の画像情報である第1画像データを読み取る第1読取手段と、前記原稿における前記第1の面の裏面である第2の面の画像情報である第2画像データを読み取る第2読取手段とを有し、
前記第1端部検出手段は、前記第1画像データから前記第1の端部を検出し、前記第2端部検出手段は、前記第2画像データから前記第2の端部を検出することを特徴とする請求項1に記載の画像読取装置。
【請求項3】
前記第1読取手段と、前記第2読取手段とは、それぞれ斜めに光を照射する光源と前記光源から照射された光が原稿で反射された反射光を受光することで画像を取得する受光部とを有し、
前記第1読取手段と前記第2読取手段とにおける前記光源からの光の照射方向は、前記搬送方向において、互いに逆向きであることを特徴とする請求項2に記載の画像読取装置。
【請求項4】
前記輪郭検出手段は、
検出された前記第1の端部の末端と、検出された前記第2の端部を反転させた鏡像の末端とを結ぶことにより、原稿の輪郭を検出することを特徴とする請求項1に記載の画像読取装置。
【請求項5】
画像データの解像度を変換する解像度変換手段を有し、
前記第2端部検出手段は、前記解像度変換手段によって前記第2画像データを前記第1画像データよりも低い解像度へ変換した第2端部検出用画像データを生成し、前記第2端部検出用画像データから前記第2の端部を検出することを特徴とする請求項2に記載の画像読取装置。
【請求項6】
前記第2端部検出手段は、前記第2画像データから前記第2の端部を検出する際に、検出対象とする列または行を1つおきに処理することで、実質的に前記第1の画像データよりも低い解像度に相当する画像データに対し前記第2の端部を検出することを特徴とする請求項2に記載の画像読取装置。
発明の詳細な説明
【技術分野】
【0001】
本発明は、原稿の画像を読み取る画像読取装置に関する。
続きを表示(約 1,600 文字)
【背景技術】
【0002】
原稿の画像を読み取る画像読取装置には、一般的に、読み取り画像から原稿の輪郭を検出するための輪郭検出機能が搭載されている。原稿の輪郭を検出することで、斜行した原稿の傾きを算出し、読み取り画像の向きが真っすぐになるように回転する(以降、斜行補正と記述)といった処理が可能になる。
【0003】
例えば、従来から、読み取り画像における原稿の端部(以降、エッジと記述)の影から、原稿の輪郭を検出する手法が知られている。特許文献1では、原稿の両面の画像を読み取り、表面の読み取り画像から検出した原稿の上端エッジと裏面の読み取り画像から検出した原稿の下端エッジを使用することで、原稿の輪郭を検出する技術が提案されている。
【0004】
なお、原稿の画像を読み取るにあたり、原稿の上端から下端へ向かって副走査方向の読み取りが行われる。従って、表面の読み取り画像から上端エッジを検出するタイミングよりも、裏面の読み取り画像から下端エッジを検出するタイミングの方が遅いことになる。つまり、下端エッジの検出が完了するまでは原稿の輪郭が検出できず、斜行補正のような原稿の輪郭情報を必要とする処理を開始できないため、下端エッジの検出をいかに早く完了させることができるかが、読み取り速度のパフォーマンスを低下させないために非常に重要になる。
【0005】
ここで、特許文献2では、エッジ検出にかかる処理時間を短縮する技術が提案されている。具体的には、原稿の画像を読み取った後、ユーザへ出力する画像データよりも解像度が低いエッジ検出用画像データを生成し、そのエッジ検出用画像データを使用して原稿のエッジ検出を行う。
【先行技術文献】
【特許文献】
【0006】
特開2010-153975号公報
特許第6311641号公報
【発明の概要】
【発明が解決しようとする課題】
【0007】
しかしながら、ユーザへ出力する画像データよりも解像度が低いエッジ検出用画像データを使用して原稿の上端エッジと下端エッジの検出を行った場合、少なからずエッジの検出精度に影響が生じる。特に、斜行補正で読み取り画像を回転させる際に、原稿の上端部分が、出力する画像データの上端部分に揃うように原稿の傾きを算出するため、上端エッジの検出精度が低下すると、斜行補正の精度へ大きく影響する。
【0008】
本発明は、上記問題の解決を図るものであり、原稿の輪郭の検出精度の低下を抑えつつ、原稿のエッジ検出処理にかかる時間を可能な限り短縮できるようにする技術を提供することを目的とする。
【課題を解決するための手段】
【0009】
上記課題を解決するために、本発明は、
原稿の画像を読み取る読取手段と、
前記読取手段と前記原稿とを相対移動させる移動手段と、
前記画像データから、前記移動手段による移動方向における第1の端部を検出する第1端部検出手段と、
前記画像データから、前記第1の端部と反対側の端部である第2の端部を検出する第2端部検出手段と、
前記第1の端部および前記第2の端部に基づいて、原稿の輪郭を検出する輪郭検出手段と
を備え、
前記第1の端部を検出するときの前記画像データの解像度である第1解像度よりも、前記第2の端部を検出するときの前記画像データの解像度である第2解像度の方が低いことを特徴とする。
【発明の効果】
【0010】
本発明によれば、原稿の輪郭の検出精度の低下を抑えつつ、原稿のエッジ検出処理にかかる時間を可能な限り短縮することで、原稿の輪郭検出処理による読み取り速度のパフォーマンスの低下を抑えることができる。
【図面の簡単な説明】
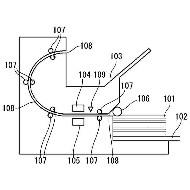
(【0011】以降は省略されています)
この特許をJ-PlatPat(特許庁公式サイト)で参照する
関連特許
キヤノン電子株式会社
モータ
1日前
キヤノン電子株式会社
モータ
9日前
キヤノン電子株式会社
加工装置
1日前
キヤノン電子株式会社
画像読取装置
1日前
キヤノン電子株式会社
原稿搬送装置
2日前
キヤノン電子株式会社
画像読取装置
9日前
キヤノン電子株式会社
シート搬送装置
1日前
キヤノン電子株式会社
固定装置及び加工装置
1日前
キヤノン電子株式会社
光学部材、撮像装置及び宇宙航行体
23日前
キヤノン電子株式会社
情報処理装置、情報処理方法およびプログラム
9日前
キヤノン電子株式会社
物体検出システム、物体検出方法およびプログラム
1日前
キヤノン電子株式会社
シート給送装置、シート給送装置の制御方法、及びプログラム
4日前
キヤノン電子株式会社
画像処理システム、読取装置、及び画像処理システムの制御方法
1日前
個人
イヤーピース
1日前
個人
イヤーマフ
15日前
個人
監視カメラシステム
24日前
個人
スイッチシステム
9日前
キーコム株式会社
光伝送線路
25日前
サクサ株式会社
中継装置
1か月前
サクサ株式会社
中継装置
1か月前
WHISMR合同会社
収音装置
1か月前
個人
スキャン式車載用撮像装置
24日前
キヤノン株式会社
撮像装置
2か月前
アイホン株式会社
電気機器
1か月前
個人
ワイヤレスイヤホン対応耳掛け
1か月前
キヤノン電子株式会社
画像読取装置
9日前
株式会社リコー
画像形成装置
2か月前
ヤマハ株式会社
放音制御装置
9日前
株式会社リコー
画像形成装置
17日前
サクサ株式会社
無線システム
29日前
株式会社リコー
画像形成装置
2か月前
個人
映像表示装置、及びARグラス
10日前
サクサ株式会社
無線通信装置
1か月前
サクサ株式会社
無線通信装置
1か月前
キヤノン電子株式会社
画像読取装置
1日前
キヤノン電子株式会社
画像読取装置
1か月前
続きを見る
他の特許を見る