TOP
|
特許
|
意匠
|
商標
特許ウォッチ
Twitter
他の特許を見る
10個以上の画像は省略されています。
公開番号
2025026313
公報種別
公開特許公報(A)
公開日
2025-02-21
出願番号
2024095123
出願日
2024-06-12
発明の名称
パイプ内冷水回収可能な省エネルギーキッチン・バスルーム用ヒーター
出願人
廈門迪芬奇厨衛有限公司
代理人
個人
主分類
F24H
9/00 20220101AFI20250214BHJP(加熱;レンジ;換気)
要約
【課題】ヒーター技術分野に適用し、配管やメンテナンスコストの増加を回避できる省エネルギーキッチン・バスルーム用ヒーターを提供する。
【解決手段】メタルホースと、メタルホース内に挿入された内部温水導管モジュールで構成される温水コンビネーションパイプを含み、内部温水導管モジュールは、入口管ヘッド、内部温水導管モジュール本体、水口パイプ先端から構成され、温水コンビネーションパイプ管体は、アウターチューブ、インナーチューブ、内部温水導管を含み、内部温水導管はエラストマー材料で作られる。アウターチューブ、インナーチューブ、内部温水導管を互いに介在させて一本の管とし、水圧により内部温水導管の壁面を伸縮させ、一本の管の場合は任意の長さのパイプで再利用する。
【選択図】図1
特許請求の範囲
【請求項1】
給湯器本体(100)に後付けされたパイプアセンブリ(200)を含み、前記パイプアセンブリ(200)は、冷水パイプ(210)、ガス輸入パイプ(220)および温水輸出パイプ(240)を含むパイプ内冷水回収可能な省エネルギーキッチン・バスルーム用ヒーターであって、
温水輸出パイプ(240)に温水コンビネーションパイプ(250)が設置され、温水コンビネーションパイプ(250)は、温水接続パイプ(260)によって給湯器本体(100)に取り付けられ、温水コンビネーションパイプ(250)とはメタルホースと、メタルホース内に挿入された内部温水導管モジュール(270)で構成されたものであり、
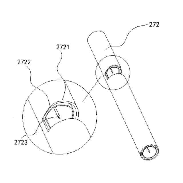
内部温水導管モジュール(270)は水入りパイプ先端(271)、内部温水導管モジュール本体(272)と水口パイプ先端(273)を含み、水入りパイプ先端(271)と水口パイプ先端(273)はそれぞれ内部温水導管モジュール本体(272)の両端に取り付けられ、
内部温水導管モジュール本体(272)はアウターチューブ(2721)を含み、アウターチューブ(2721)の内側にインナーチューブ(2722)が設置され、インナーチューブ(2722)の内側に内部温水導管(2723)が挿入され、内部温水導管(2723)はエラストマー材料に作られ、内部温水導管(2723)の内側と外側の表面は断熱材層で覆われており、内部温水導管(2723)の内部空間は水槽Iを形成し、インナーチューブ(2722)と内部温水導管(2723)との間の空間は水槽IIを形成し、
温水が内部温水導管モジュール(270)に入った後、水入りパイプ先端(271)が温水を内部温水導管(2723)に分配し、温水をキャビティIに通し、水圧により内部温水導管(2723)の弾性壁が外側に押され、水槽IIが圧縮され、水槽IIから冷水が排出され、インナーチューブ(2722)と内部温水導管(2723)から冷水が排出され、インナーチューブ(2722)と内部温水導管(2723)の壁を一緒に絞って水槽II内の冷水を空にし、通水モードIでの冷水の非接触排出と再利用を完成し、
水入りパイプ先端(271)は、インナーチューブ(2722)と内部温水導管(2723)との間に温水を分配し、水槽IIに温水を通過させ、水圧によって内部温水導管(2723)の弾力性のある壁を内側に押し、水槽Iを圧縮し、水槽Iから冷水を排出し、内部温水導管(2723)の壁を一緒に絞り、水槽Iの内側から冷水を空にし、通水モードIIでの冷水の非接触排出と再利用を完成し、
前記内部温水導管モジュール本体(272)には冷水回収パイプモジュールが取り付けられ、この冷水回収パイプモジュールは、前記内部温水導管モジュール本体の内部から排出された冷水を排出するのに使用され、
冷水回収パイプモジュールは、冷水回流パイプ(230)を介して冷水パイプ(210)に接続され、この冷水回収パイプモジュールは、冷水を冷水パイプ(210)に移送して再利用するのに使用され、
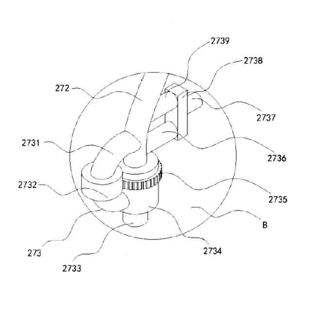
冷水回収パイプモジュールは、輸出パイプA(2736)と輸出パイプB(2739)を含み、輸出パイプA(2736)はインナーチューブ(2722)に接続されて水槽IIに接続され、
輸出パイプB(2739)は内部温水導管(2723)に接続されて水槽Iにも接続されていることを特徴とするパイプ内冷水回収可能な省エネルギーキッチン・バスルーム用ヒーター。
続きを表示(約 2,000 文字)
【請求項2】
前記水入りパイプ先端(271)は、分配パイプA(2714)とスケジューリングパイプA(2711)とを含み、分配パイプA(2714)は、内部温水導管モジュール本体(272)との接続部から離れた端部が接続パイプA(2713)に接続され、接続パイプA(2713)は温水接続パイプA(260)に接続され、
スケジューリングパイプA(2711)は、その一端が分配パイプA(2714)と接続パイプA(2713)との接続部に接続され、他端がインナーチューブ(2722)に接続され、水槽IIと接続していることを特徴とする請求項1に記載のパイプ内冷水回収可能な省エネルギーキッチン・バスルーム用ヒーター。
【請求項3】
前記分配パイプA(2714)は内部温水導管(2723)に接続され、分配パイプA(2714)には、分配パイプA(2714)と内部温水導管(2723)との間をオン・オフする電磁弁A(2715)が取り付けられ、
スケジューリングパイプA(2711)には、接続パイプA(2713)と水槽IIとの間をオン・オフする栓A(2712)が取り付けられていることを特徴とする請求項2に記載のパイプ内冷水回収可能な省エネルギーキッチン・バスルーム用ヒーター。
【請求項4】
前記水口パイプ先端(273)は、スケジューリングパイプB(2731)と分配パイプB(2734)を含み、分配パイプB(2734)は、内部温水導管モジュール本体(272)から離れた端部で接続パイプB(2733)に接続され、この接続パイプB(2733)は、温水輸出パイプ(240)に接続され、
スケジューリングパイプB(2731)の一端は分配パイプB(2734)と接続パイプB(2733)との接続部に接続され、他端がインナーチューブ(2722)に接続され、水槽IIに接続されていることを特徴とする請求項1に記載のパイプ内冷水回収可能な省エネルギーキッチン・バスルーム用ヒーター。
【請求項5】
前記分配パイプB(2734)は内部温水導管(2723)に接続され、分配パイプB(2734)には分配パイプB(2734)と内部温水導管(2723)との間をオン・オフする電磁弁B(2735)が取り付けられ、
スケジューリングパイプB(2731)には、接続パイプB(2733)と水槽IIとの間をオン・オフする栓B(2732)が取り付けられていることを特徴とする請求項4に記載のパイプ内冷水回収可能な省エネルギーキッチン・バスルーム用ヒーター。
【請求項6】
前記輸出パイプA(2736)と輸出パイプB(2739)は、内部温水導管モジュール本体(272)から離れた端部でメインパイプ(2738)に接続され、メインパイプ(2738)が接続パイプC(2737)を介して冷水回流パイプ(230)に接続されていることを特徴とする請求項1に記載のパイプ内冷水回収可能な省エネルギーキッチン・バスルーム用ヒーター。
【請求項7】
前記輸出パイプA(2736)と輸出パイプB(2739)にはいずれも電磁弁Cが取り付けられていることを特徴とする請求項6に記載のパイプ内冷水回収可能な省エネルギーキッチン・バスルーム用ヒーター。
【請求項8】
前記インナーチューブ(2722)は、マルチユニットのインナーチューブと多段ゴムホースからなり、マルチユニットインナーチューブと多段ゴムホースが十字に配列され、ゴムホースの外壁がアウターチューブ(2721)内に固定され、
ユニットインナーチューブは、外側の伸縮チューブ(27222)と、外側の伸縮チューブ(27222)の内側に挿入される内側の弾性チューブ(27221)から構成され、
外側伸縮チューブ(27222)は、複数の弧状収納用板(27223)と複数の弧状グリッド板(27224)から構成され、複数の弧状収納用板(27223)と複数の弧状グリッド板(27224)が環状に交差して配置され、
弧状収納用板(27223)にはスロットが設けられ、弧状グリッド板(27224)は弾力性のあるスペーサーの弾力性によってスロット内に挿入され、
電磁コイルが弧状収納用板(27223)の面の両側に取り付けられており、通電量の強弱を制御することで、弧状収納用板(27223)の両面に異なる磁気吸着力を発生させ、弾性スペーサとの力のバランスに達した後、弧状グリッド板(27224)の弾性度調整とスロット内の貫通度調整を行い、自管の半径の伸縮調整を実現することを特徴とする請求項1~7のいずれか一項に記載のパイプ内冷水回収可能な省エネルギーキッチン・バスルーム用ヒーター。
発明の詳細な説明
【技術分野】
【0001】
本発明は、暖房器具の技術分野に関し、より具体的には、パイプ内冷水回収可能な省エネルギーキッチン・バスルーム用ヒーターに関する。
続きを表示(約 3,000 文字)
【背景技術】
【0002】
ボイラは、ガス給湯器の名前の一種であり、その作業プロセスはガスは燃焼によって熱を放出し、その熱を冷水に伝え、お湯を作ることである。ガス給湯器は主に栓アセンブリ、メインバーナー、小火バーナー、熱交換器、安全装置などで構成されるが、煙道式給湯器の煙道、強制排気式給湯器の強制排気装置も含まれている。
【0003】
日常生活では、給湯器が蛇口の出口から一定の距離であるため、使用されていない場合、お湯がパイプラインに滞在するため、寒くなる。例えば、キッチンに設置されたガス給湯器は、浴室の蛇口やバルコニーの蛇口から少し離れた場所にあるため、お湯を使う際にはパイプから冷水を排出しなければならず、お湯の待ち時間が長くなり、水資源を無駄にするのである。
【0004】
上記の問題を解決する先行技術があるが、その問題を完全に解決しておらず、多かれ少なかれ問題がある。例えば、中国特許「給湯器及びそのパイプライン冷水リサイクルシステム」(第CN106052134B号)は、上記の問題をある程度解決できるが、これは「水槽にある水が温水パイプに流れ、温水パイプにある冷水を冷水回流パイプを通して水嚢に流す」方式を採用している。この方式で形成される閉ループは、温水と冷水を直接接触させて交互に入れ替えるため、温水と冷水の接触間で熱の伝えが起こり、ベランダなどの長距離伝送の場合、大量の温水が冷水に熱を伝えることになり、これによって、温水の冷却が温水の待ち時間を長引かせ、水資源を浪費させることになる;また中国特許 「給湯器冷水回収装置 」(第CN204787270U号)はある程度、上記の問題をある程度解決することができるが、それはあまりにも多くの栓やパイプラインを使用したために、特にバルコニーなどの長距離伝送の場合、過剰な埋設設備をもたらすだけでなく、パイプラインの使用コストを増加させるだけでなく、メンテナンスのコストをも増加させたのである。
【0005】
この問題を解決するため、給湯器と蛇口から水が出てくる場所との距離が遠いために、お湯を待つ時間が長くなり、水が無駄になるという問題を合理的に解決するために、パイプ内冷水回収可能な省エネルギーキッチン・バスルーム用ヒーターが提案されたのである。
【発明の概要】
【課題を解決するための手段】
【0006】
本発明の目的は、従来技術の欠点に対処することである、給湯器が水道の蛇口から少し離れた場所に設置されているため、お湯の待ち時間が長くなり、水資源が無駄になってしまうという問題を解決するために、提案されたパイプ内冷水回収可能な省エネルギーキッチン・バスルーム用ヒーター。
【0007】
パイプ内冷水回収可能な省エネルギーキッチン・バスルーム用ヒーター、給湯器本体に後付けされたパイプアセンブリを含み、前記パイプアセンブリは、冷水パイプ、ガス輸入パイプおよび温水輸出パイプを含む;温水輸出パイプに温水コンビネーションパイプが設置され、温水コンビネーションパイプは、温水接続パイプによって給湯器本体に取り付けられ、温水コンビネーションパイプとはメタルホースと、メタルホース内に挿入された内部温水導管モジュールで構成されたものであり、
内部温水導管モジュールは水入りパイプ先端、内部温水導管モジュール本体と水口パイプ先端を含み、水入りパイプ先端と水口パイプ先端はそれぞれ内部温水導管モジュール本体の両端に取り付けられている;内部温水導管モジュール本体はアウターチューブを含み、アウターチューブの内側にインナーチューブが設置され、インナーチューブの内側に内部温水導管が挿入され、インナーチューブはエラストマー材料に作られ、その内側と外側の表面は断熱材層で覆われている;内部温水導管の内部空間は水槽Iを形成し、インナーチューブと内部温水導管との間の空間は水槽IIを形成し、
温水が内部温水導管モジュールに入った後、水入りパイプ先端が温水を内部温水導管に分配し、温水を水槽Iに通し、水圧によって内部温水導管の弾性壁が外側に押され、水槽IIが圧縮され、水槽IIから冷水が排出され、インナーチューブと内部温水導管から冷水が排出され、インナーチューブと内部温水導管の壁を一緒に押し付け、水槽II内の冷水を空にし、通水モードIでの冷水の非接触排出と再利用を完成し、
水入りパイプ先端は、インナーチューブと内部温水導管との間に温水を分配し、水槽IIに温水を通過させ、水圧によって内部温水導管の弾力性のある壁が内側に押され、水槽Iが圧縮され、水槽Iから冷水が排出され、内部温水導管の壁を一緒に押し付け、水槽I内の冷水を空にし、通水モードIIでの冷水の非接触排出と再利用を完成する。
【0008】
使用する場合、内部温水導管はエラストマー材料であるため、水圧によって内部温水導管の壁面を伸縮させることができ、内部温水導管の内部空間に形成された水槽Iと、内部温水導管との間の空間に形成された水槽IIとが互いに切り替わる過程で、互いの内部冷水を絞り合うことを実現することができる;通水モードIと通水モードIIを交互に使用することで、冷水の非接触排出と再利用を完成する;給湯器が水道の蛇口から少し離れた場所に設置されているため、お湯の待ち時間が長くなり、水資源が無駄になってしまうという問題を解決し、また、温水と冷水を直接接触させて交互に入れ替えるため、温水と冷水の接触間で熱の伝えが起こり、ベランダなどの長距離伝送の場合、大量の温水が冷水に熱を伝えることになり、これによって、温水の冷却が温水の待ち時間を長引かせ、水資源を浪費させるという問題を回避した。それと同時に、アウターチューブ、アウターチューブ、内部温水導管を互いに介在させて一本の管とし、水圧を利用して内部温水導管の壁面を伸縮させることと相まって、通水モード1とモード2を交互に切り替えを実現し、一本の管の場合は任意の長さのパイプで再利用のための冷水の非接触排出を実現することができ、処理水量が確保できると同時に工事量を削減することができ、また、傍系補助配管を増加させないため、配管の使用量を削減することができ、配管の使用コストやメンテナンスコストの増加を回避することができるのである。
【0009】
本発明の技術的解決手段において、前記入口管ヘッドは、分配パイプAとスケジューリングパイプAを含み、分配パイプAは、内部温水導管モジュール本体から離れた端部において接続パイプAに接続され、接続パイプAは、温水接続パイプに接続され、
スケジューリングパイプAの一端は分配パイプAと接続パイプAとの接続部に接続され、他端はインナーチューブに接続され、水槽IIに接続されている。
【0010】
さらに、前記分配パイプAは内部温水導管に接続されており、分配パイプAには分配パイプAと内部温水導管との間をオン・オフする電磁弁Aが取り付けられ、
スケジューリングパイプAには、接続パイプAと水槽IIとの間をオン・オフする栓Aが取り付けられている。
(【0011】以降は省略されています)
この特許をJ-PlatPat(特許庁公式サイト)で参照する
関連特許
個人
空気調和機
4か月前
個人
エアコン室内機
4か月前
株式会社コロナ
空調装置
3か月前
株式会社コロナ
加湿装置
1か月前
株式会社コロナ
加湿装置
4か月前
株式会社コロナ
空調装置
1か月前
株式会社コロナ
空調装置
2か月前
株式会社コロナ
空調装置
13日前
株式会社コロナ
給湯装置
2か月前
株式会社コロナ
空調装置
23日前
株式会社コロナ
空気調和機
1か月前
個人
太陽光パネル傾斜装置
8日前
個人
住宅換気空調システム
2か月前
株式会社コロナ
風呂給湯機
1か月前
株式会社コロナ
空気調和機
2か月前
個人
シンプルクーラー
6日前
株式会社コロナ
直圧式給湯機
3か月前
株式会社パロマ
給湯器
3か月前
株式会社コロナ
直圧式給湯機
1か月前
株式会社コロナ
貯湯式給湯機
4か月前
株式会社コロナ
貯湯式給湯機
27日前
株式会社コロナ
暖房システム
23日前
ホーコス株式会社
排気フード
2か月前
株式会社コロナ
貯湯式給湯機
19日前
株式会社コロナ
貯湯式給湯装置
4か月前
株式会社コロナ
輻射式冷房装置
2か月前
三菱電機株式会社
換気扇
7日前
三菱電機株式会社
換気扇
7日前
三菱電機株式会社
換気扇
7日前
株式会社コロナ
貯湯式給湯装置
4か月前
ホーコス株式会社
換気扇取付枠
1か月前
株式会社コロナ
貯湯式給湯装置
3か月前
株式会社ノーリツ
燃焼装置
4か月前
株式会社パロマ
給湯暖房機
3か月前
個人
籾殻(そば殻)燃焼ストーブ
1か月前
株式会社パロマ
給湯暖房機
5か月前
続きを見る
他の特許を見る