TOP
|
特許
|
意匠
|
商標
特許ウォッチ
Twitter
他の特許を見る
公開番号
2025006316
公報種別
公開特許公報(A)
公開日
2025-01-17
出願番号
2023107028
出願日
2023-06-29
発明の名称
タイヤ
出願人
横浜ゴム株式会社
代理人
清流国際弁理士法人
,
個人
,
個人
主分類
B60C
11/00 20060101AFI20250109BHJP(車両一般)
要約
【課題】ドライ路面での操縦安定性とスノー路面での操縦安定性をバランス良く改善することを可能にしたタイヤを提供する。
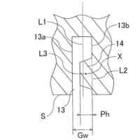
【解決手段】トレッド部1は子午線断面において陸部21~25のエッジ位置及びトレッド部1の接地端位置に基づいて特定されるタイヤ幅方向のプロファイルラインTLを有し、子午線断面において陸部21~25の踏面がそれぞれプロファイルラインTLよりもタイヤ径方向外側に突出しており、各陸部21~25の踏面のプロファイルラインTLからの突出量が0.05mm~1.00mmであり、陸部21~25のうち少なくとも1列の陸部に該陸部内で終端する周方向細溝15が配置され、周方向細溝15が配置された陸部の突出量が最も大きい位置から周方向細溝15の溝幅中心までのタイヤ幅方向の距離Aと周方向細溝15が配置された陸部の幅W
1
とは0≦A≦W
1
/4の関係を満たす。
【選択図】図1
特許請求の範囲
【請求項1】
トレッド部にタイヤ周方向に延びる少なくとも3本の主溝と該主溝により区画された少なくとも4列の陸部とを有するタイヤにおいて、
前記トレッド部は子午線断面において前記陸部のエッジ位置及び前記トレッド部の接地端位置に基づいて特定されるタイヤ幅方向のプロファイルラインを有し、子午線断面において前記陸部の踏面がそれぞれ前記プロファイルラインよりもタイヤ径方向外側に突出しており、各陸部の踏面の前記プロファイルラインからの突出量が0.05mm~1.00mmであり、前記陸部のうち少なくとも1列の陸部に該陸部内で終端する周方向細溝が配置され、該周方向細溝が配置された陸部の突出量が最も大きい位置から該周方向細溝の溝幅中心までのタイヤ幅方向の距離Aと該周方向細溝が配置された陸部の幅W
1
とが0≦A≦W
1
/4の関係を満たすことを特徴とするタイヤ。
続きを表示(約 820 文字)
【請求項2】
前記周方向細溝の溝幅が0.4mm~2.0mmの範囲にあることを特徴とする請求項1に記載のタイヤ。
【請求項3】
前記周方向細溝の溝長さが5mm~60mmの範囲にあることを特徴とする請求項1又は2に記載のタイヤ。
【請求項4】
前記周方向細溝の溝深さDsと前記周方向細溝に隣接する主溝の有効溝深さDとが0.5≦Ds/D≦0.8の関係を満たすことを特徴とする請求項1又は2に記載のタイヤ。
【請求項5】
車両に対する装着方向が指定されたタイヤであって、車両装着時にタイヤ赤道よりも車両内側に位置する前記陸部のうち少なくとも1列の陸部に前記周方向細溝が配置されていることを特徴とする請求項1又は2に記載のタイヤ。
【請求項6】
車両に対する装着方向が指定されたタイヤであって、前記トレッド部に4本の主溝と5列の陸部とを有しており、
前記4本の主溝は、車両装着時にタイヤ赤道よりも車両内側に位置する内側センター主溝と、車両装着時にタイヤ赤道よりも車両外側に位置する外側センター主溝と、車両装着時に前記内側センター主溝よりも車両内側に位置する内側ショルダー主溝と、車両装着時に前記外側センター主溝よりも車両外側に位置する外側ショルダー主溝とを含み、
前記5列の陸部は、前記内側センター主溝と前記外側センター主溝との間に区画されたセンター陸部と、前記内側センター主溝と前記内側ショルダー主溝との間に区画された内側ミドル陸部と、前記外側センター主溝と前記外側ショルダー主溝との間に区画された外側ミドル陸部と、前記内側ショルダー主溝よりも車両内側に区画された内側ショルダー陸部と、前記外側ショルダー主溝よりも車両外側に区画された外側ショルダー陸部とを含み、
前記周方向細溝が前記内側ミドル陸部に配置されていることを特徴とする請求項1又は2に記載のタイヤ。
発明の詳細な説明
【技術分野】
【0001】
本発明は、タイヤに関し、更に詳しくは、ドライ路面での操縦安定性とスノー路面での操縦安定性をバランス良く改善することを可能にしたタイヤに関する。
続きを表示(約 2,000 文字)
【背景技術】
【0002】
タイヤにおいて、ドライ路面での操縦安定性を向上させるため、トレッド部において陸部の踏面をタイヤ径方向外側に向かって膨出させることにより、陸部の接地圧を均一化することが行われている(例えば、特許文献1参照)。このような陸部は、平坦な陸部の場合と比べて陸部の端部における接地圧が低下するため、スノー性能(例えばスノー路面での操縦安定性)が低下する懸念がある。一方、スノー路面での操縦安定性を向上させるため、陸部に周方向細溝を設けることが一般的である。しかしながら、例えば、平坦な陸部のタイヤ幅方向中央部に周方向細溝を設けても、接地圧が低い領域に設けることになるため、所望の改善効果を得ることができないという問題がある。
【先行技術文献】
【特許文献】
【0003】
特許第5790876号公報
【発明の概要】
【発明が解決しようとする課題】
【0004】
本発明の目的は、ドライ路面での操縦安定性とスノー路面での操縦安定性をバランス良く改善することを可能にしたタイヤを提供することにある。
【課題を解決するための手段】
【0005】
上記目的を達成するための本発明のタイヤは、トレッド部にタイヤ周方向に延びる少なくとも3本の主溝と該主溝により区画された少なくとも4列の陸部とを有するタイヤにおいて、前記トレッド部は子午線断面において前記陸部のエッジ位置及び前記トレッド部の接地端位置に基づいて特定されるタイヤ幅方向のプロファイルラインを有し、子午線断面において前記陸部の踏面がそれぞれ前記プロファイルラインよりもタイヤ径方向外側に突出しており、各陸部の踏面の前記プロファイルラインからの突出量が0.05mm~1.00mmであり、前記陸部のうち少なくとも1列の陸部に該陸部内で終端する周方向細溝が配置され、該周方向細溝が配置された陸部の突出量が最も大きい位置から該周方向細溝の溝幅中心までのタイヤ幅方向の距離Aと該周方向細溝が配置された陸部の幅W
1
とが0≦A≦W
1
/4の関係を満たすことを特徴とするものである。
【発明の効果】
【0006】
本発明では、陸部の踏面をプロファイルラインからタイヤ径方向外側に突出させているので、接地形状を改善して、各陸部の接地長を拡大することができ、これによりドライ路面での操縦安定性を改善することができる。更に、プロファイルラインから突出した陸部において突出量が最も大きいタイヤ幅方向の位置(以下、最大突出位置という)の近傍に周方向細溝を配置しているので、陸部の接地圧が高く接地長が長い領域に周方向細溝が配置されることになり、エッジ成分を増大させることができるため、スノー路面での操縦安定性を改善することができる。また、周方向細溝を陸部内で終端させているので、陸部が分断されないため、陸部の剛性を確保することができ、ドライ路面での操縦安定性の悪化を防止している。これにより、ドライ路面での操縦安定性とスノー路面での操縦安定性をバランス良く改善することができる。
【0007】
本発明のタイヤにおいて、周方向細溝の溝幅は0.4mm~2.0mmの範囲にあることが好ましい。これにより、ドライ路面での操縦安定性とスノー路面での操縦安定性をバランス良く改善することができる。
【0008】
周方向細溝の溝長さは5mm~60mmの範囲にあることが好ましい。これにより、ドライ路面での操縦安定性とスノー路面での操縦安定性をバランス良く改善することができる。
【0009】
周方向細溝の溝深さDsと周方向細溝に隣接する主溝の有効溝深さDとは0.5≦Ds/D≦0.8の関係を満たすことが好ましい。トレッド部の摩耗時に雪柱せん断力が低下してスノー路面での操縦安定性が低下することがあるが、上記の関係を満たすことによりエッジ成分を向上させることができるため、トレッド部の摩耗時においてスノー路面での操縦安定性の低下を防止することができる。
【0010】
車両に対する装着方向が指定されたタイヤであって、車両装着時にタイヤ赤道よりも車両内側に位置する陸部のうち少なくとも1列の陸部に周方向細溝が配置されていることが好ましい。特に、ネガティブキャンバーが設定された車両に装着した際には車両内側の接地長が長くなる傾向があるため、車両内側の陸部に周方向細溝を設けることでスノー路面での操縦安定性を改善することができる。また、ドライ路面での操縦安定性を改善するためには車両外側の陸部の剛性を高めることが有効であるが、周方向細溝を車両内側の陸部に設けることでドライ路面での操縦安定性の悪化を防止することができる。
(【0011】以降は省略されています)
この特許をJ-PlatPat(特許庁公式サイト)で参照する
関連特許
横浜ゴム株式会社
タイヤ
2か月前
横浜ゴム株式会社
タイヤ
2か月前
横浜ゴム株式会社
タイヤ
1か月前
横浜ゴム株式会社
タイヤ
1か月前
横浜ゴム株式会社
タイヤ
1か月前
横浜ゴム株式会社
タイヤ
1か月前
横浜ゴム株式会社
タイヤ
1か月前
横浜ゴム株式会社
タイヤ
3日前
横浜ゴム株式会社
タイヤ
1か月前
横浜ゴム株式会社
タイヤ
1か月前
横浜ゴム株式会社
タイヤ
1か月前
横浜ゴム株式会社
タイヤ
1か月前
横浜ゴム株式会社
タイヤ
2か月前
横浜ゴム株式会社
タイヤ
1か月前
横浜ゴム株式会社
タイヤ
2か月前
横浜ゴム株式会社
タイヤ
2か月前
横浜ゴム株式会社
タイヤ
2か月前
横浜ゴム株式会社
タイヤ
2か月前
横浜ゴム株式会社
タイヤ
2か月前
横浜ゴム株式会社
タイヤ
2か月前
横浜ゴム株式会社
タイヤ
2か月前
横浜ゴム株式会社
タイヤ
2か月前
横浜ゴム株式会社
タイヤ
2か月前
横浜ゴム株式会社
タイヤ
2か月前
横浜ゴム株式会社
タイヤ
2か月前
横浜ゴム株式会社
タイヤ
1か月前
横浜ゴム株式会社
タイヤ
1か月前
横浜ゴム株式会社
音響材
24日前
横浜ゴム株式会社
タイヤ
12日前
横浜ゴム株式会社
タイヤ
4日前
横浜ゴム株式会社
タイヤ
10日前
横浜ゴム株式会社
タイヤ
10日前
横浜ゴム株式会社
ゴム組成物
11日前
横浜ゴム株式会社
ゴム組成物
11日前
横浜ゴム株式会社
ゴム組成物
12日前
横浜ゴム株式会社
ゴム組成物
12日前
続きを見る
他の特許を見る