TOP
|
特許
|
意匠
|
商標
特許ウォッチ
Twitter
他の特許を見る
10個以上の画像は省略されています。
公開番号
2025181613
公報種別
公開特許公報(A)
公開日
2025-12-11
出願番号
2024215912
出願日
2024-12-10
発明の名称
電気脱イオン装置及び電気脱イオンシステム
出願人
栗田工業株式会社
代理人
個人
,
個人
主分類
C02F
1/469 20230101AFI20251204BHJP(水,廃水,下水または汚泥の処理)
要約
【課題】濃縮水量を抑制することができ、また濃縮水の濃度を適正とすることができる電気脱イオン装置及び電気脱イオンシステムを提供する。
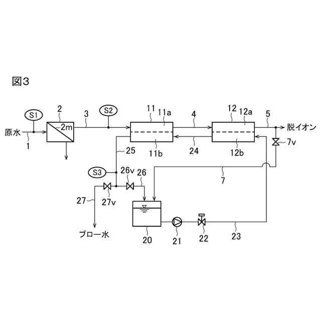
【解決手段】陽極と陰極との間にイオン交換膜によって濃縮室と脱塩室とが区画され、濃縮水が該濃縮室に流通され、原水が被処理水として脱塩室に流通され、脱イオン水として取り出される電気脱イオン装置を複数個直列に設置し、前段側の電気脱イオン装置の脱塩室の流出水を後段側の電気脱イオン装置の脱塩室に通水し、後段側の電気脱イオン装置の濃縮室の流出水を前段側の濃縮室に通水する電気脱イオンシステムにおいて、最前段側の電気脱イオン装置の濃縮室からの流出水を最後段側の電気脱イオン装置の濃縮室の入口側に戻す返送手段を備えたことを特徴とする電気脱イオンシステム。
【選択図】図1
特許請求の範囲
【請求項1】
陽極と陰極との間にイオン交換膜によって濃縮室と脱塩室とが区画され、
濃縮水が該濃縮室に流通され、
原水が被処理水として脱塩室に流通され、脱イオン水として取り出される電気脱イオン装置において、
該濃縮室からの流出水を該濃縮室の入口側に戻す返送手段を備えたことを特徴とする電気脱イオン装置。
続きを表示(約 1,000 文字)
【請求項2】
陽極と陰極との間にイオン交換膜によって濃縮室と脱塩室とが区画され、
濃縮水が該濃縮室に流通され、
原水が被処理水として脱塩室に流通され、脱イオン水として取り出される電気脱イオン装置を複数個直列に設置し、
前段側の電気脱イオン装置の脱塩室の流出水を後段側の電気脱イオン装置の脱塩室に通水し、
後段側の電気脱イオン装置の濃縮室の流出水を前段側の濃縮室に通水する電気脱イオンシステムにおいて、
最前段側の電気脱イオン装置の濃縮室からの流出水を最後段側の電気脱イオン装置の濃縮室の入口側に戻す返送手段を備えたことを特徴とする電気脱イオンシステム。
【請求項3】
原水を膜分離装置で処理してから最前段の前記電気脱イオン装置に供給するようにした電気脱イオンシステムであって、
前記返送手段は、返送途中の濃縮水を貯留するタンクを備えており、
該膜分離装置からの処理水を該タンクに導入する水補給手段が設けられている請求項2の電気脱イオンシステム。
【請求項4】
前記返送手段は、返送途中の濃縮水を貯留するタンクを備えており、
最後段側の前記電気脱イオン装置からの脱イオン水を該タンクに導入する水補給手段が設けられている請求項2の電気脱イオンシステム。
【請求項5】
最前段側の前記電気脱イオン装置から前記タンクに流入する濃縮水の水質を検出する水質センサが設けられており、
該水質センサの検出値に応じて最前段の電気脱イオン装置からの濃縮水をブローするブロー手段を有する請求項3又は4の電気脱イオンシステム。
【請求項6】
前記タンクから最後段側の電気脱イオン装置への送水量を制御する流量制御弁を有する請求項3又は4の電気脱イオンシステム。
【請求項7】
前記返送手段で返送される濃縮水のpHを調整するpH調整剤の薬注手段を有する請求項1の電気脱イオン装置。
【請求項8】
前記薬注手段は、前記返送手段で返送される濃縮水のpHを9未満に調整する請求項7の電気脱イオン装置。
【請求項9】
最前段側の前記電気脱イオン装置からの濃縮水のpHを検出するpH検出手段が設けられており、
前記薬注手段は、該pH検出手段の検出値に基づいてpH調整剤の薬注を行う請求項8の電気脱イオン装置。
発明の詳細な説明
【技術分野】
【0001】
本発明は、電気脱イオン装置及び電気脱イオンシステムに関する。
続きを表示(約 1,200 文字)
【背景技術】
【0002】
電気脱イオン装置は、一般に陰極及び陽極間にカチオン交換膜とアニオン交換膜とを交互に配置して脱塩室及び濃縮室を形成し、この脱塩室にイオン交換樹脂を充填したものである。電気脱イオン装置において、脱塩室に原水を通過させるとともに濃縮室に濃縮水を通過させ、陰極及び陽極間に電流を流すと、脱塩室からアニオン交換膜及びカチオン交換膜を通って濃縮室へとイオンが移動することにより、脱塩室から脱イオン水が得られる。濃縮水の役割は、脱塩室からのイオンの排出及び電極間の電流の通電である。
【0003】
特許文献1には、脱イオン水(脱塩室流出水)の一部を分取し、濃縮室に脱塩室と向流で通水する方法が記載されている。この方法によると、脱塩室の脱イオン水出口付近と隣り合う濃縮室入口付近における濃縮水の濃度が、脱イオン水と同一になるので、炭酸、シリカ、ホウ素等の弱電解質が濃縮室から脱塩室へ濃度勾配によって拡散する(逆拡散する)ことを防ぎ、高純度の脱イオン水を得ることができる。
【0004】
特許文献2には、電気脱イオン装置を多段に設置し、各段の電気脱イオン装置の脱塩室流出水(脱塩水)の一部をその段の電気脱イオン装置の濃縮室に向流方式で通水することが記載されている。また、この特許文献2には、最終段の電気脱イオン装置の脱塩水を各段の電気脱イオン装置の濃縮室に向流方式で通水することが記載されている。
【0005】
特許文献1,2では、濃縮室流出水はそのまま排出工程に送られている。
【先行技術文献】
【特許文献】
【0006】
特開2002-205069号公報
特開2019-111467号公報
【発明の概要】
【発明が解決しようとする課題】
【0007】
従来、電気脱イオン装置の濃縮水の濃度は、濃縮倍率(脱塩室流量/濃縮室流量)に基づいて制御されている。また、特許文献1,2にも示されるように、濃縮室流出水は排出工程に送られている。その結果、電気脱イオン装置の濃縮水の使用量が多くなることがあった。
【0008】
電気脱イオン装置の濃縮水の使用量を単に低減した場合、(1)濃縮室にスケールが発生して電気脱イオン装置の印加電圧が上昇する、(2)装置寿命が短くなる、(3)回収率が低下する、等の問題が生じ易くなる。
【0009】
本発明の一態様は、濃縮水量を抑制することができる電気脱イオン装置及び電気脱イオンシステムを提供することを課題とする。また、本発明の一態様は、濃縮水の濃度を適正とすることができる電気脱イオン装置及び電気脱イオンシステムを提供することを課題とする。
【課題を解決するための手段】
【0010】
本発明の要旨は、以下の通りである。
(【0011】以降は省略されています)
この特許をJ-PlatPat(特許庁公式サイト)で参照する
関連特許
株式会社げんき
液体活性化装置
1か月前
新・産業洗浄株式会社
曝気装置
13日前
株式会社ライトアース
水循環式水質浄化システム
1か月前
スタンレー電気株式会社
流体除菌装置
7日前
東芝ライテック株式会社
流体殺菌装置
今日
東芝ライテック株式会社
流体殺菌装置
今日
スタンレー電気株式会社
流体除菌装置
1か月前
栗田工業株式会社
逆浸透膜装置の運転方法
1か月前
オルガノ株式会社
UV照射装置
1か月前
有限会社フリーウェー
浄水装置
1か月前
ジヤトコ株式会社
排水回収システム
21日前
ダイハツ工業株式会社
有機物の分解処理装置
2日前
大成建設株式会社
中和処理システムと中和処理方法
13日前
栗田工業株式会社
水処理拠点の状況診断支援システム
6日前
株式会社ジェイテクト
発酵装置
7日前
個人
海水の塩分除去装置と淡水製造方法
22日前
株式会社クボタ
有機性廃棄物の処理方法
13日前
竹鶴油業株式会社
残渣処理プラント及び成形物の製造方法
1か月前
株式会社医道メディカル
水素及び水素溶解エクソソーム液発生装置
1か月前
三菱化工機株式会社
電界ろ過装置及び電界ろ過装置のろ材の製造方法
29日前
栗田工業株式会社
電気脱イオン装置及び電気脱イオンシステム
今日
水ing株式会社
廃水処理装置および廃水処理方法
2日前
王子ホールディングス株式会社
排水処理方法
1か月前
栗田工業株式会社
水・蒸気サイクル中の有機系溶存物質の除去方法
1か月前
株式会社セルマップ
油吸着用の吸着体、及び油吸着用の吸着体の製造方法
1か月前
株式会社大林組
汚泥処理施設及び汚泥処理方法
13日前
オルガノ株式会社
電気式脱イオン水製造システム及びその運用方法
13日前
WOTA株式会社
水処理方法、及び水処理装置
今日
東ソー株式会社
ニッケルと錯生成能力を持つ化合物を含有する水溶液の浄化方法
8日前
東芝ライテック株式会社
メンテナンス装置、および流体殺菌システム
今日
キヤノン株式会社
液体中に溶存するガスの回収システム
1か月前
株式会社クボタ
浄水処理方法および原水評価方法
13日前
WOTA株式会社
貯留槽及び水処理システム
6日前
栗田工業株式会社
フッ化物イオン及びカチオン含有水の処理方法及び装置
8日前
荏原実業株式会社
防臭システム、防臭装置及び防臭方法
1か月前
株式会社タカギ
浄水カートリッジ
13日前
続きを見る
他の特許を見る