TOP
|
特許
|
意匠
|
商標
特許ウォッチ
Twitter
他の特許を見る
10個以上の画像は省略されています。
公開番号
2025180917
公報種別
公開特許公報(A)
公開日
2025-12-11
出願番号
2024088606
出願日
2024-05-31
発明の名称
画像形成装置
出願人
ブラザー工業株式会社
代理人
弁理士法人第一テクニカル国際特許事務所
主分類
G03G
15/00 20060101AFI20251204BHJP(写真;映画;光波以外の波を使用する類似技術;電子写真;ホログラフイ)
要約
【課題】雷サージが繰り返して入力された場合でも電源基板の故障を招くのを抑制する。
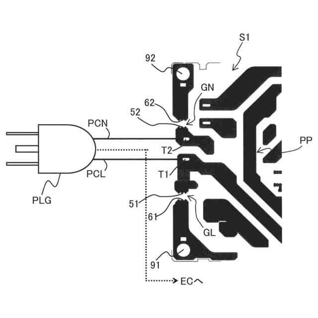
【解決手段】画像形成装置1は、電源基板3と、金属エンクロージャーECと、を備え、電源基板3は、第1入力端子T1及び第2入力端子T2に接続され、商用電源Pから供給される交流電圧を直流電圧に変換するAC/DC変換回路31と、第1入力端子T1に接続される第1放電電極51と、第1放電電極51との間で第1放電ギャップGLを形成し、金属エンクロージャーECに接続される第1接地電極61と、第2入力端子T2に接続される第2放電電極52と、第2放電電極52との間で第2放電ギャップGNを形成し、金属エンクロージャーECに接続される第2接地電極62と、を有し、金属エンクロージャーECは、入力端子T1,T2側との間で第3放電ギャップG3L,G3Nを形成し、入力端子T1,T2側に向けて延びる、突起部を有する、
【選択図】図7
特許請求の範囲
【請求項1】
画像形成部と、
前記画像形成部に直流電圧を供給する電源基板と、
前記電源基板の全体を覆い、接地されている金属エンクロージャーと、
を備え、
前記電源基板は、
前記電源基板上に配置された第1入力端子及び第2入力端子であって、商用電源に接続された電源ケーブルのライブ側に接続される第1入力端子及び前記電源ケーブルのニュートラル側に接続される第2入力端子と、
前記第1入力端子及び前記第2入力端子にそれぞれ接続され、前記商用電源から供給される交流電圧を前記直流電圧に変換するAC/DC変換回路と、
前記第1入力端子に接続される第1放電電極と、
前記第1放電電極との間で第1放電ギャップを形成し、前記金属エンクロージャーに接続される第1接地電極と、
前記第2入力端子に接続される第2放電電極と、
前記第2放電電極との間で第2放電ギャップを形成し、前記金属エンクロージャーに接続される第2接地電極と、
を有し、
前記金属エンクロージャーは、
前記第1入力端子及び前記第2入力端子のうち少なくとも1つの入力端子側との間で第3放電ギャップを形成し、前記入力端子側に向けて延びる、突起部を有する、
ことを特徴とする画像形成装置。
続きを表示(約 1,900 文字)
【請求項2】
請求項1記載の画像形成装置において、
前記金属エンクロージャーは、
前記第1入力端子及び前記第2入力端子側に向けてそれぞれ延びる、2つの前記突起部を有する、
ことを特徴とする画像形成装置。
【請求項3】
請求項1記載の画像形成装置において、
前記第1入力端子及び前記第2入力端子は、前記電源基板の表裏2つの基板面のうち、前記電源基板に取り付けられる電子部品のリードをハンダ付けするためのハンダ面に配置されており、
前記突起部は、
前記金属エンクロージャーのうち前記ハンダ面に対向する側の面において、前記少なくとも1つの入力端子側に突出するように設けられている、
ことを特徴とする画像形成装置。
【請求項4】
請求項3記載の画像形成装置において、
前記電子部品は、第1リードと第2リードとを有するコンデンサであって、
前記コンデンサは、前記第1リードが前記電源基板を貫通して前記少なくとも1つの入力端子に接続されるとともに前記第2リードが電気的に接地されており、
前記第1リードの端部は、前記第1入力端子から前記金属エンクロージャーに向けて延び、
前記突起部は、
前記第1リードの端部に向けて延び、前記第1リードの端部との間で前記第3放電ギャップを形成する、
ことを特徴とする画像形成装置。
【請求項5】
請求項4記載の画像形成装置において、
前記電子部品は、前記第1リードと前記第2リードとをそれぞれ有する、第1コンデンサ及び第2コンデンサであり、
前記第1コンデンサの前記第1リードは前記電源基板を貫通して前記第1入力端子に接続され、前記第1コンデンサの前記第1リードの端部は前記第1入力端子から前記金属エンクロージャーに向けて延び、前記第1コンデンサの前記第2リードは電気的に接地されており、
前記第2コンデンサの前記第1リードは前記電源基板を貫通して前記第2入力端子に接続され、前記第2コンデンサの前記第1リードの端部は前記第2入力端子から前記金属エンクロージャーに向けて延び、前記第2コンデンサの前記第2リードは電気的に接地されており、
前記金属エンクロージャーは、前記第1入力端子及び前記第2入力端子側に向けてそれぞれ延びる、第1突起部及び第2突起部を有し、
前記第1突起部は、前記第1コンデンサの前記第1リードの端部との間に前記第3放電ギャップを形成し、
前記第2突起部は、前記第2コンデンサの前記第1リードの端部との間に前記第3放電ギャップを形成する、
ことを特徴とする画像形成装置。
【請求項6】
請求項1記載の画像形成装置において、
前記第1入力端子及び前記第2入力端子は、前記電源基板の表裏2つの基板面のうち、前記電源基板に取り付けられる電子部品のリードをハンダ付けするためのハンダ面に配置されており、
更に、ジャンパーワイヤーを備え、
前記ジャンパーワイヤーの一端は、前記電源基板を貫通して前記第1入力端子及び前記第2入力端子の少なくとも1つの入力端子に接続されるとともに、前記ジャンパーワイヤーの他端は、前記電源基板を貫通して前記ハンダ面のダミー端子に接続され、
前記突起部は、
前記ジャンパーワイヤーの胴体部に向けて延び、前記胴体部との間で前記第3放電ギャップを形成する、
ことを特徴とする画像形成装置。
【請求項7】
請求項6記載の画像形成装置において、
前記ジャンパーワイヤーは、第1ジャンパーワイヤー及び第2ジャンパーワイヤーを含み、
前記第1ジャンパーワイヤーの前記一端は前記第1入力端子に接続されるとともに、前記第1ジャンパーワイヤーの前記他端は前記ハンダ面の第1ダミー端子に接続され、
前記第2ジャンパーワイヤーの前記一端は前記第2入力端子に接続されるとともに、前記第2ジャンパーワイヤーの前記他端は前記ハンダ面の第2ダミー端子に接続され、
前記金属エンクロージャーは、前記第1ジャンパーワイヤー及び前記第2ジャンパーワイヤーの前記胴体部に向けてそれぞれ延びる、第3突起部及び第4突起部を有し、
前記第3突起部は、前記第1ジャンパーワイヤーの前記胴体部との間に前記第3放電ギャップを形成し、
前記第4突起部は、前記第2ジャンパーワイヤーの前記胴体部との間に前記第3放電ギャップを形成する、
ことを特徴とする画像形成装置。
発明の詳細な説明
【技術分野】
【0001】
本発明は、画像形成部に直流電圧を供給する電源基板を備えた画像形成装置に関する。
続きを表示(約 2,100 文字)
【背景技術】
【0002】
従来、電源基板を備える画像形成装置は、電源ラインが接続される2つの入力端子を有する電源基板を備え、その電源基板は、電源ラインから供給される交流電圧を直流電圧に変換し画像形成部などに供給している。従来の画像形成装置の電源基板は、入力端子に接続される放電電極と電気的に接地されている接地電極と、を有し、放電電極と接地電極との間に放電ギャップが形成されている。電源ケーブルを介して雷サージが電源基板に入力された場合において、従来の画像形成装置は、雷サージは入力端子、放電ギャップを経由して、接地電極に接続されている金属エンクロージャーを介してアースに逃げるように構成されていた。
特許文献1には、電源基板に、商用電源のライブ側に接続される第1入力端子と、商用電源のニュートラル側に接続される第2入力端子と、商用電源から第1入力端子及び第2入力端子を介し供給される交流電圧を直流電圧に変換するAC/DC変換回路と、第1入力端子とAC/DC変換回路との間に接続されたヒューズと、第1入力端子とグランドとの間に配置された放電ギャップと、を設ける技術が開示されている。
【先行技術文献】
【特許文献】
【0003】
特開2023-50447号公報
【発明の概要】
【発明が解決しようとする課題】
【0004】
しかし、従来の画像形成装置では、雷サージが繰り返して入力されることで放電ギャップ間の放電が繰り返し実行されると、放電電極及び接地電極が摩耗して放電ギャップを超えた放電が不十分となる。その結果、電源基板の故障を招き電源基板の交換時期が早まるという問題があった。
【0005】
本発明の目的は、雷サージが繰り返して入力された場合でも電源基板の故障を招くのを抑制できる画像形成装置を提供することにある。
【課題を解決するための手段】
【0006】
上記目的を達成するために、本願発明は、画像形成部と、 前記画像形成部に直流電圧を供給する電源基板と、前記電源基板の全体を覆い、接地されている金属エンクロージャーと、を備え、前記電源基板は、前記電源基板上に配置された第1入力端子及び第2入力端子であって、商用電源に接続された電源ケーブルのライブ側に接続される第1入力端子及び前記電源ケーブルのニュートラル側に接続される第2入力端子と、前記第1入力端子及び前記第2入力端子にそれぞれ接続され、前記商用電源から供給される交流電圧を前記直流電圧に変換するAC/DC変換回路と、前記第1入力端子に接続される第1放電電極と、前記第1放電電極との間で第1放電ギャップを形成し、前記金属エンクロージャーに接続される第1接地電極と、前記第2入力端子に接続される第2放電電極と、前記第2放電電極との間で第2放電ギャップを形成し、前記金属エンクロージャーに接続される第2接地電極と、を有し、前記金属エンクロージャーは、前記第1入力端子及び前記第2入力端子のうち少なくとも1つの入力端子側との間で第3放電ギャップを形成し、前記入力端子側に向けて延びる、突起部を有する、ことを特徴とする。
【0007】
本構成は、電源ケーブルのライブ側に第1入力端子を接続し、電源ケーブルのニュートラル側に第2入力端子を接続する。第1入力端子に接続される第1放電電極と第1接地電極との間に第1放電ギャップが形成され、第2入力端子に接続される第2放電電極と第2接地電極との間に第2放電ギャップが形成される。第1接地電極及び第2接地電極は、接地されている金属エンクロージャーに接続される。
【0008】
電源ケーブルを介し電源基板に入力された雷サージは、第1入力端子を介し第1放電電極に導かれ第1放電ギャップを超えて第1接地電極に至るか、若しくは、第2入力端子を介し第2放電電極に導かれ第2放電ギャップを超えて第2接地電極に至る。雷サージは、第1接地電極若しくは第2接地電極から金属エンクロージャーによりアースされ、逃がされる。
【0009】
本構成は、金属エンクロージャーが、第1入力端子及び第2入力端子のうち少なくとも1つの入力端子側に向けて延びる突起部を有する。そのため、電源基板と、少なくとも1つの入力端子側に向けて延びる金属エンクロージャーの突起部との間に、新たな放電ギャップである第3放電ギャップが形成される。
【0010】
本構成によって、第1放電電極及び第1接地電極、又は第2放電電極及び第2接地電極が摩耗し、第1又は第2放電ギャップを介した放電が困難になった時でも、雷サージを上記新たな放電ギャップである第3放電ギャップを介し金属エンクロージャーへ向けて逃がすことができる。故に、本構成の画像形成装置は、雷サージが繰り返して入力された場合であっても、電源基板の故障を招くのを抑制できる。
【発明の効果】
(【0011】以降は省略されています)
この特許をJ-PlatPat(特許庁公式サイト)で参照する
関連特許
個人
表示装置
1か月前
個人
雨用レンズカバー
1か月前
日本精機株式会社
プロジェクタ
6日前
日本精機株式会社
車両用投射装置
2か月前
キヤノン株式会社
撮像装置
1か月前
キヤノン株式会社
撮像装置
2か月前
キヤノン株式会社
撮像装置
1か月前
キヤノン株式会社
撮像装置
1か月前
キヤノン株式会社
撮像装置
13日前
株式会社リコー
画像形成装置
1か月前
株式会社リコー
画像形成装置
1か月前
株式会社リコー
画像形成装置
27日前
株式会社リコー
画像形成装置
1か月前
株式会社リコー
画像形成装置
1か月前
株式会社リコー
画像形成装置
2か月前
株式会社リコー
画像形成装置
今日
キヤノン株式会社
トナー
1か月前
キヤノン株式会社
画像形成装置
1か月前
キヤノン株式会社
画像形成装置
21日前
キヤノン株式会社
トナー
2か月前
キヤノン株式会社
画像形成装置
1か月前
株式会社オプトル
プロジェクタ
2か月前
キヤノン株式会社
トナー
2か月前
沖電気工業株式会社
画像形成装置
8日前
レーザーテック株式会社
光源装置
29日前
沖電気工業株式会社
画像形成装置
1か月前
キヤノン株式会社
現像装置
2か月前
アイホン株式会社
カメラシステム
2か月前
キヤノン株式会社
レンズキャップ
1か月前
レーザーテック株式会社
光源装置
8日前
スタンレー電気株式会社
照明装置
2か月前
沖電気工業株式会社
画像形成装置
1か月前
株式会社電気印刷研究所
静電印刷用積層体
2か月前
シャープ株式会社
捺染トナー
6日前
ブラザー工業株式会社
画像形成装置
2か月前
ブラザー工業株式会社
画像形成装置
2か月前
続きを見る
他の特許を見る