TOP
|
特許
|
意匠
|
商標
特許ウォッチ
Twitter
他の特許を見る
公開番号
2025178151
公報種別
公開特許公報(A)
公開日
2025-12-05
出願番号
2025080037
出願日
2025-05-12
発明の名称
自転車の変速装置を動作させる方法および自転車
出願人
ロベルト・ボッシュ・ゲゼルシャフト・ミト・ベシュレンクテル・ハフツング
,
ROBERT BOSCH GMBH
代理人
個人
,
個人
主分類
B62M
9/122 20100101AFI20251128BHJP(鉄道以外の路面車両)
要約
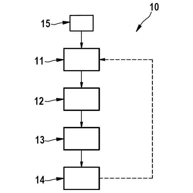
【課題】簡単でコスト効率の良い手段を用いてチェーンシフト装置の特に正確で確実な切り替えを提供できる電動自転車の変速装置を動作させる方法を提供する。
【解決手段】自転車、特に電動自転車の変速装置を動作させる方法に関し、変速装置は、異なるスプロケット間で自転車チェーンを移動させるように設定された制御可能に作動させることができるシフト装置を有するチェーンシフト装置を備え、ギアチェンジの終了が検知され、直前のギアチェンジの終了が検知された場合に初めて新たなギアチェンジを実行できるように、ギアチェンジを相並ぶギアにのみ、および順次実行するようシフト装置を制御して作動させる。
【選択図】図1
特許請求の範囲
【請求項1】
自転車(100)、特に電動自転車の変速装置(1)を動作させる方法であって、
―前記変速装置(1)は、異なるスプロケット間で自転車チェーン(4)を移動させるように設定された制御可能に作動させることができるシフト装置(3)を有するチェーンシフト装置(2)を備え、
―ギアチェンジの終了が検知され、
―直前のギアチェンジの終了が検知された場合に初めて新たなギアチェンジを実行できるように、ギアチェンジを相並ぶギアにのみ、および順次実行するよう前記シフト装置(3)を制御して作動させる、方法。
続きを表示(約 1,000 文字)
【請求項2】
前記ギアチェンジの終了は、前記ギアチェンジの開始が認識された後の予め定められた期間の経過にもとづいて認識され、特にチェーン移動中に認識される、請求項1に記載の方法。
【請求項3】
前記ギアチェンジの終了は、前記ギアチェンジの開始が認識された後の、前記自転車(100)のチェーンリング(107)の予め定められたチェーンリング回転数の検出に応答して認識される、請求項1または2に記載の方法。
【請求項4】
前記ギアチェンジの終了は、前記ギアチェンジの開始が認識された後の、前記自転車(100)のチェーンリング(107)の予め定められたチェーンリング角度の検出に応答して認識される、請求項1から3までのいずれか1項に記載の方法。
【請求項5】
前記ギアチェンジの終了は、前記ギアチェンジの開始が認識された後の、スプロケットの予め定められたスプロケット回転数の検出に応答して認識される、請求項1から4までのいずれか1項に記載の方法。
【請求項6】
前記ギアチェンジの終了は、前記ギアチェンジの開始が認識された後の、スプロケットの予め定められたスプロケット回転角度の検出に応答して認識される、請求項1から5までのいずれか1項に記載の方法。
【請求項7】
前記スプロケット回転数および/または前記スプロケット回転角度は、検出されたケイデンスおよび/またはモータ回転数、ならびに瞬時ギア比にもとづいて検知される、請求項5または6のいずれか1項に記載の方法。
【請求項8】
前記ギアチェンジが手動および/または自動で生成されたシフト信号(15)に応答して認識されるように前記シフト装置(3)を制御して作動させる、請求項1から7までのいずれか1項に記載の方法。
【請求項9】
前記ギアチェンジの開始は、前記シフト信号(15)の生成に応答して、および/またはチェーン変更時点の認識に応答して認識される、請求項8に記載の方法。
【請求項10】
特に少なくとも1つの予め定められたシフト回転数での前記スプロケットの回転が検出される間にのみ前記ギアチェンジが実行されるように前記シフト装置(3)を制御して作動させる、請求項1から9までのいずれか1項に記載の方法。
(【請求項11】以降は省略されています)
発明の詳細な説明
【技術分野】
【0001】
本発明は、自転車の変速装置を動作させる方法および自転車に関する。
続きを表示(約 2,500 文字)
【背景技術】
【0002】
チェーンシフト装置(Kettenschaltung)を有する自転車の変速装置(Gangschaltung)が知られている。その場合、自転車チェーンは、シフト装置(Schaltvorrichtung)によってスプロケット間を移動させられる。シフト過程の後に新たなギアが実際に入るまで、通常、スプロケットを最初に特定の回転数回転させる必要がある。したがって、シフト過程が高速で連続する場合には、直前のギアチェンジが完全に行われるより前に、すでに次のギアが予め選択されるという可能性がある。シフト機構(Schaltwerk)またはフロントディレイラが相応に動かされている場合、チェーンは複数のスプロケットにわたって斜めに走る可能性があり、それによりとりわけ摩耗が増大する可能性がある。
【発明の概要】
【0003】
これに対して、請求項1の特徴を有する本発明による方法は、簡単でコスト効率の良い手段を用いてチェーンシフト装置の特に正確で確実な切り替えを提供できることを特徴とする。本発明によれば、このことは自転車、特に電動自転車の変速装置を動作させる方法によって達成され、変速装置は、制御可能に作動させることができるシフト装置を有するチェーンシフト装置を備えている。シフト装置は、自転車チェーンを異なるスプロケットに移動させるように設定されている。この方法では、ギアチェンジの終了が検知される。その場合、直前のギアチェンジの終了が検知された場合に初めて新たなギアチェンジを実行できるように、ギアチェンジ、特にすべてのギアチェンジを相並ぶ(nebeneinanderliegend)ギアにのみ、および順次実行するように、シフト装置を制御して作動させる。
【0004】
好ましくはシフト機構および/またはフロントディレイラをシフト装置と見なすことができる。
【0005】
特に、自転車チェーンがシフト装置によってあるスプロケットから別のスプロケットに移動されることがギアチェンジと見なされる。その場合、ギアチェンジは、特に、2つのスプロケットの各々における直前と直後のそれぞれの完全な係合のちょうど間の状態を含む。その場合、例えば、予め定められた数のスプロケットの歯との係合を完全な係合と見なすことができる。したがって、特に、ギアチェンジの終了は、シフト装置が自転車チェーンをターゲットギアのスプロケットに保持し、自転車チェーンがターゲットギアのスプロケットと予め定められた目標係合状態にある状態を定義する。
【0006】
言い換えれば、この方法では、ギアチェンジの終了が的確に検知され、直前のギアチェンジの終了が確実に認識された場合に初めて次の新たなギアチェンジが許可される。これは特に、直前のギアチェンジをまだ完全に終わらせていないうちは次の新たなギアチェンジが的確に阻止されることを意味する。その場合、さらに、相並ぶギアにのみ順次切り替えられる。したがって、特に、自転車チェーンを有する相並ぶスプロケットのみをギアチェンジの際に相並ぶギアとして係合させる。すなわち、シフト過程では直接隣り合うギアのうちの1つにのみ切り替えられる。
【0007】
したがって、この方法は、直前のシフト過程が完了したことが確実に認識された場合に初めて新たなシフト過程を実行できるという利点を提供する。それにより特に機械的な観点から多くの利点が生じる。詳細には、それによって、あるギアから次のギアへの的確なシフト過程で、常に自転車チェーンの比較的多くの部分がギアチェンジの前と後の2つのギアの対応するスプロケットのうちの少なくとも1つと係合するため、自転車チェーンが常に十分な力を伝達できることを確保することができる。これによって、さらに、チェーンの滑り(Durchrutschen)を可能な限り防ぐことが可能になり得る。それによって、さらに、特に自転車チェーンが2つより多いスプロケットにわたって同時に斜めになるおそれのある状況と比べてシフトシステム(Schaltsystem)の摩耗および損傷が大幅に低減される。さらに、この方法は、常に可能な限り正確なチェーン移動によってシフトコマンドの迅速な処理を可能にする。すなわち、特に、直前のギアチェンジの終了が認識された直後にシフト装置によって制御されて次のギアチェンジが開始される場合に、複数のギアの特に迅速な切り替えを順次可能にすることができる。
【0008】
従属請求項は、本発明の好ましい発展形態を示す。
【0009】
好ましくは、ギアチェンジの終了は、ギアチェンジの開始が認識された後の予め定められた期間の経過にもとづいて認識される。その場合、この認識は、特に自転車チェーンのチェーン移動中にのみ行われる。言い換えれば、ギアチェンジは、特にその間に自転車チェーンが常に移動する場合、ギアチェンジの開始後の予め定められた期間の経過後に完了したとみなされる。予め定められた期間は、例えば少なくとも0.5秒、好ましくは最大2秒であり得る。それにより、方法を特に簡単でコスト効率よく実行することができる。
【0010】
好ましくは、ギアチェンジの終了は、ギアチェンジの開始が認識された後の、自転車のチェーンリングの予め定められたチェーンリング回転数の検出に応答して認識される。言い換えれば、ギアチェンジの開始の認識以降、チェーンリングの回転数が検出され、特に記録される。この予め定められたチェーンリング回転数に達した場合、ギアチェンジが完了したとみなされる。特に、自転車のクランク軸および/またはクランクに回転不可能に接続され、自転車チェーンと係合する伝達要素がチェーンリングとみなされる。好ましくは、チェーンリングの回転数をケイデンスの検出にもとづいて検知することができる。例えば、所定のチェーンリング回転数は少なくとも0.5回転、好ましくは最大3回転であることができる。それによりギアチェンジの完了を特に確実に監視することができる。
(【0011】以降は省略されています)
この特許をJ-PlatPat(特許庁公式サイト)で参照する
関連特許
個人
カート
5か月前
個人
走行装置
5か月前
個人
三輪バイク
1か月前
個人
台車
18日前
個人
乗り物
7か月前
個人
電動走行車両
5か月前
個人
自転車用歩数計
1か月前
個人
閂式ハンドル錠
5か月前
個人
駐輪設備
3か月前
個人
発音装置
9か月前
個人
電動モビリティ
9か月前
個人
ボギー・フレーム
3か月前
個人
自由方向乗車自転車
9か月前
個人
三輪電動車両
1か月前
個人
ルーフ付きトライク
3か月前
個人
ルーフ付きトライク
4か月前
個人
“zen-go.”
4か月前
井関農機株式会社
作業車両
1か月前
個人
パワーアシスト自転車
3か月前
個人
キャンピングトライク
10か月前
個人
車の室内高温防止屋根
1か月前
個人
ステアリングの操向部材
10か月前
個人
電動式ルーフ付きトライク
10日前
個人
電動式ルーフ付きトライク
10日前
個人
電動式ルーフ付きトライク
10日前
個人
フロントフットブレーキ。
5か月前
井関農機株式会社
収穫作業車両
4日前
株式会社豊田自動織機
産業車両
6か月前
個人
ホイールハブ駆動構造
6か月前
豊田鉄工株式会社
小型車両
5か月前
学校法人千葉工業大学
車両
11か月前
学校法人千葉工業大学
車両
11か月前
個人
乗用自動車のディフューザー
2か月前
学校法人千葉工業大学
車両
11か月前
個人
自転車の駐輪場システム
7か月前
個人
自動車のタイヤの位置について
3か月前
続きを見る
他の特許を見る