TOP
|
特許
|
意匠
|
商標
特許ウォッチ
Twitter
他の特許を見る
10個以上の画像は省略されています。
公開番号
2025178139
公報種別
公開特許公報(A)
公開日
2025-12-05
出願番号
2025074172
出願日
2025-04-28
発明の名称
筋切りカッター及び筋切り方法
出願人
株式会社VALUE SPRINGS技術士事務所
代理人
主分類
B26D
3/24 20060101AFI20251128BHJP(切断手工具;切断;切断機)
要約
【課題】野菜の葉脈や根菜類の繊維を切断しつつ、切断後も野菜特有の外形を維持することが可能となり、切断後の野菜をスポンジ部材による反発力で切刃から離間させることができ、スポンジ部材による切刃の洗浄を簡単に行うことができる筋切カッターを提供する。
【解決手段】所定長さの複数の切刃1と、複数の切刃間に形成される欠落部Aからなる列状の切刃列Sを、互いに平行するよう所定の間隔で複数配置するとともに、切刃列に対して直角方向から見たとき、切刃列の各切刃が、隣接する切刃列の切刃の少なくとも1と、切刃の長さ方向において少なくとも一部が重複すように配置し、且つ切刃列間にスポンジ部材8を設置する。
【選択図】図1
特許請求の範囲
【請求項1】
所定の長さの複数の切刃と、前記切刃間に形成される欠落部からなり、前記切刃が連続して並ぶ切刃列を複数保持するカッタープレートを有する筋切りカッターにおいて、前記切刃列は略等間隔で複数設けられるとともに、前記切刃列に対して直角方向から見たとき、前記切刃列の前記各切刃は、隣接する前記切刃列の少なくとも1の切刃と、切刃の長さ方向において少なくとも一部が重複するとともに、前記カッタープレートに保持された前記切刃列の間にスポンジ部材が設置されたことを特徴とする筋切カッター。
続きを表示(約 350 文字)
【請求項2】
前記切刃列に直交する方向に複数の切刃列からなる直交切刃列が更に設けられ、切刃列の切刃と直交切刃列の切刃は、互いに相手方の切刃が形成する欠落部の略中央に配置されていることを特徴とする請求項1記載の筋切りカッター。
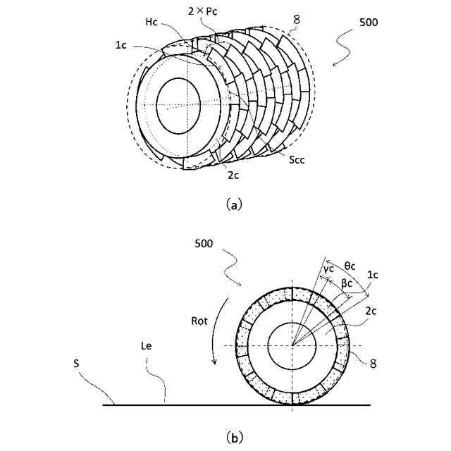
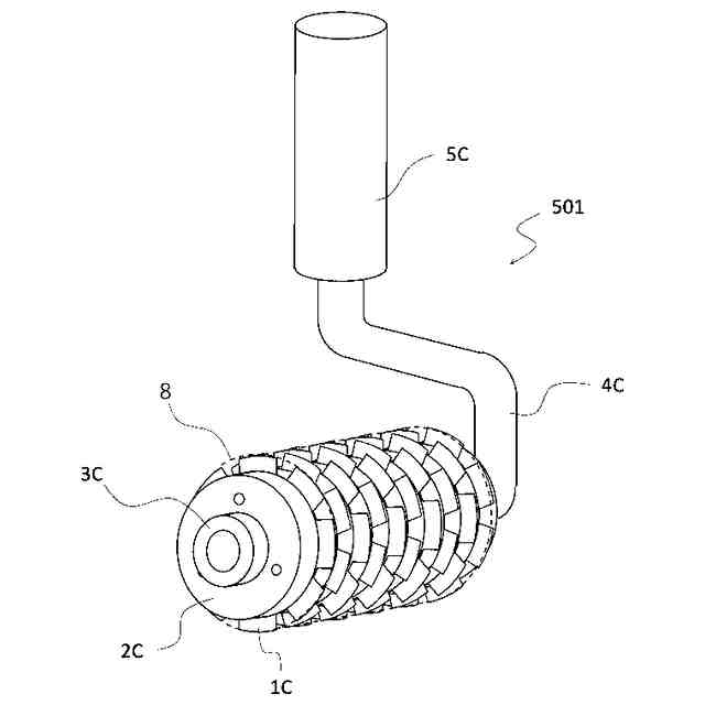
【請求項3】
所定の長さの複数の切刃と、前記切刃間に形成される欠落部からなり、前記切刃が連続して並ぶ切刃列を複数保持するカッタープレートを有する筋切りカッターにおいて、前記カッタープレートが円筒形状であり、円筒面に前記切刃列が配置されたことを特徴とする請求項1、あるいは請求項2記載の筋切りカッター。
【請求項4】
前記請求項1から3記載の筋切りカッターを用い、1又は複数載置された野菜に対し、外形を残したまま切れ込みを入れる筋切り方法。
発明の詳細な説明
【技術分野】
【0001】
本発明は、主に葉野菜の葉脈や根菜類の繊維を部分的に切断するためのカッターであり、切断後も切断前の切断対象物の外形を維持できる筋切りカッターに関する。
続きを表示(約 2,200 文字)
【背景技術】
【0002】
従来の野菜カッターの中には、特許文献1に示すよう野菜を確実に切断するための考案や、特許文献2に示すよう野菜を細かく切断する考案が存在する。
【先行技術文献】
【特許文献】
【0003】
実願昭55−031157号(実開昭56−137997号)のマイクロフィルム
実願昭61−105043号(実開昭63−010095号)のマイクロフィルム
【発明の概要】
【発明が解決しようとする課題】
【0004】
しかし、これらの考案では野菜は細かく分断されるため、切断後に連結部を残留させることはできず、各野菜特有の形状を活かした調理には適さないという問題があった。また、切断後の野菜が切刃に付着してしまうことから、付着した野菜片を切刃から取り除くための手間がかかるという問題があった。
【課題を解決するための手段】
【0005】
上記課題を解決するため、所定長さの複数の切刃と、複数の切刃間に形成される欠落部からなる列状の切刃列を、所定の間隔で複数配置するとともに、切刃列に対して直角方向から見たとき、切刃列の各切刃が、隣接する切刃列の切刃の少なくとも1と、切刃の長さ方向において少なくとも一部が重複すように配置し、さらに、切刃列の間にスポンジ部材を設置する構成とした。
【発明の効果】
【0006】
このように切刃を配置した本発明によれば、例えば、野菜の葉脈や根菜類の繊維を切断しつつ、切刃の直角方向には連結部分を持たせることができるため、切断後も野菜特有の外形を維持することが可能となる。さらには、切断後の野菜はスポンジ部材による反発力で切刃から離間させることができる。なお、スポンジ部材は、切刃に接するように設置できることから、手が直接切刃に接触のを防ぐ効果と、設置した状態で洗剤を染み込ませて圧縮、膨張を繰り返すことで切刃の洗浄を簡単に行うことができるという効果も併せ持つ。
【図面の簡単な説明】
【0007】
本発明における第1実施例を示す筋切りカッターの構成図である。
本発明における第1実施例の葉脈切断形態説明図である
本発明における第1実施例を根菜類の切断に適用した実施例を示す構成図である。
本発明における第1実施例を肉類の切断に適用した実施例を示す構成図である。
本発明における第2実施例の葉脈切断形態説明図である。
本発明における第3実施例を示す筋切りカッターの構成図である。
本発明における第4実施例の葉脈切断形態説明図である。
本発明における第5実施例を示す筋切りカッターの構成図である。
本発明における第6実施例を示す筋切りカッターの斜視図である。
本発明における第6実施例を示す構成部材の説明図である。
本発明における第7実施例を示す示す筋切りカッターの構成図である。
【発明を実施するための形態】
【0008】
本発明は、例えば葉野菜の葉脈のような筋状部分を設定した長さ以下に切断し、且つ切断後も切断前の外形を維持できるよう、部分的に連結部を残すよう構成したもので、切断対象物の最大幅以下の刃渡りをもつ複数の切刃を欠落部を設けつつ列状に配置し、且つそれぞれの切刃を、近接する列の切刃との間で、切刃の直角方向から見て部分的に重なるように配置したものである。ここで最大幅とは、平行葉脈のような筋を有する切断対象物の場合は筋の延伸方向に対して切断対象物が有する直角方向の最大幅、筋の方向が定まらない切断対象物の場合は方向によらず切断対象物が有する最大幅、また切断対象物を重ねた場合は重ねた状態での上記最大幅を表す。
【0009】
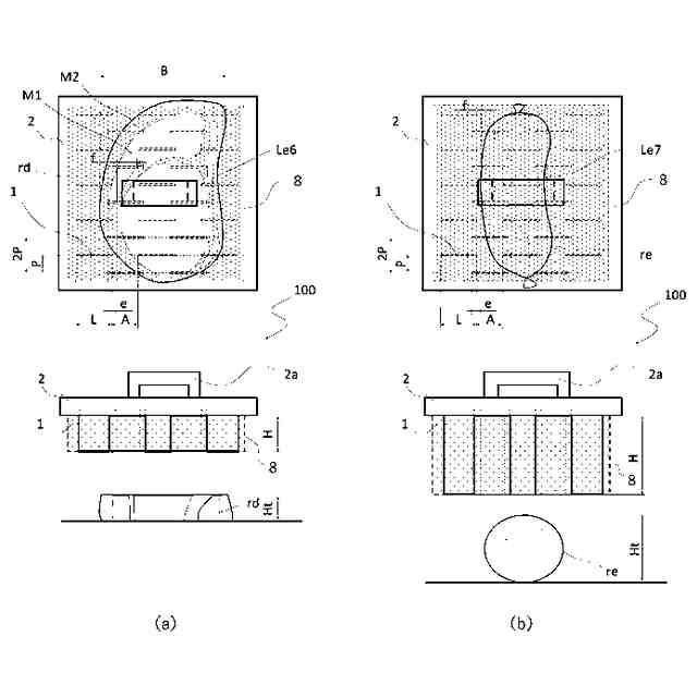
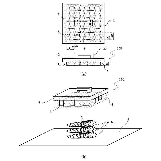
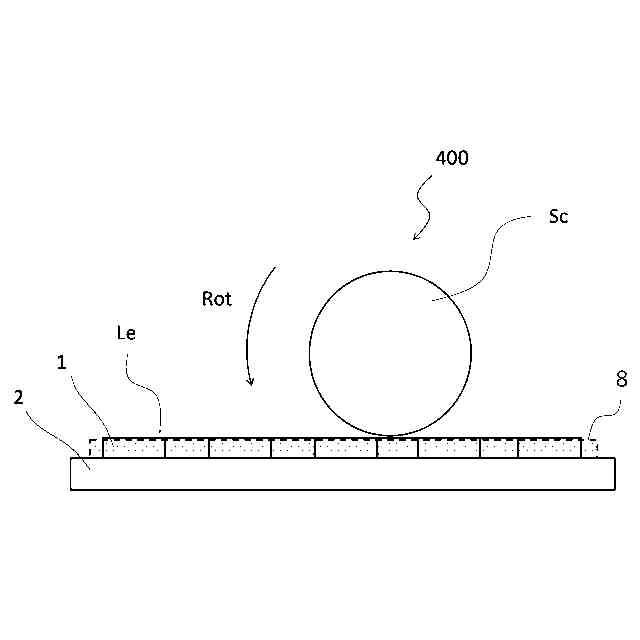
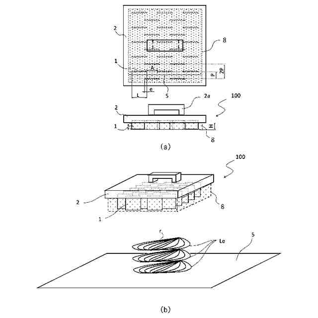
本発明における第1実施例について図1及び図2を用いて説明する。始めに、第1実施例を示す筋きりカッター100の構成を図1-(a)を用いて説明する。例えば笹の葉のような平行脈系葉野菜の最大幅以下に設定された刃渡りLと、葉野菜の最大厚さ以上に設定された突き出し高さHを有する切刃1は、上面に取手2aを有する板状のカッタープレート2の底面に固定されている。ここで最大厚さとは、切断対象物が有する最大厚さ、また切断対象物を重ねた場合は、重ねた状態での切断対象物の最大厚さを表す。前記カッタープレート2の底面には、前記切刃1が直線上に距離Aの欠落部を設けつつ列を成すよう複数配置された切刃列Sが形成され、且つ前記切刃列SはピッチPの距離で複数列配置されている。また、前記切刃1の端部は、隣接する列の前記切刃1との間に、切刃1の列に直交する方向から見て、重なりeを有するよう配置されている。
【0010】
なお、切刃列Sを構成する切刃1は厳密に直線上に整列する必要はなく、ある程度(例えばピッチPの20%程度)ずれていても構わない。また切刃列Sを構成する全ての切刃1が切刃列Sと平行で設置されなくても、さらには前記刃渡りLや欠落部AピッチPが一定である必要はなく、隣接する列の切刃1との間に前記重なりeを形成できれば本発明の効果を得ることができる。
(【0011】以降は省略されています)
この特許をJ-PlatPat(特許庁公式サイト)で参照する
関連特許
個人
曲線カッター
2か月前
個人
ハサミ
5か月前
個人
円弧状刃の包丁
8か月前
個人
理美容はさみ
5か月前
個人
折り畳みナイフ
11か月前
株式会社サボテン
鋏
7か月前
個人
2wayコーナーパンチ
9か月前
福善刃物工業株式会社
鋏
17日前
株式会社和田機械
栗切り機の刃物
3か月前
個人
自動曲機とそれに使用する刃物
2か月前
やおき工業株式会社
鋏
5か月前
株式会社フタミ
表面処理装置
7か月前
個人
自動曲機とそれに使用する刃物
1か月前
個人
梳き鋏及び梳き鋏使用方法
1か月前
トヨタ自動車株式会社
切断装置
10か月前
デュプロ精工株式会社
加工装置
4か月前
独立行政法人 国立印刷局
打ち抜き装置
3か月前
株式会社日本キャリア工業
食料切断装置
6か月前
株式会社日本キャリア工業
食料切断装置
10か月前
株式会社日本キャリア工業
食料切断装置
5か月前
株式会社日本キャリア工業
食料切断装置
5か月前
船井電機株式会社
電動器具
4か月前
株式会社日本キャリア工業
食料切断装置
5か月前
株式会社日本キャリア工業
食料切断装置
5か月前
株式会社日本キャリア工業
食料切断装置
5か月前
デュプロ精工株式会社
用紙積載装置
9か月前
株式会社村田製作所
切断装置
9日前
鈴茂器工株式会社
棒状食材切断装置
9か月前
本田技研工業株式会社
切断装置
2か月前
西川ゴム工業株式会社
薪割り具
10か月前
近畿刃物工業株式会社
切断加工用刃物
6か月前
THESTANDBYME合同会社
鋏
5か月前
近畿刃物工業株式会社
切断加工用刃物
6か月前
近畿刃物工業株式会社
切断加工用刃物
5か月前
株式会社ホリゾン
断裁装置
8か月前
株式会社DIC
ヘアカット用レザー
9か月前
続きを見る
他の特許を見る