TOP
|
特許
|
意匠
|
商標
特許ウォッチ
Twitter
他の特許を見る
10個以上の画像は省略されています。
公開番号
2025177684
公報種別
公開特許公報(A)
公開日
2025-12-05
出願番号
2024084731
出願日
2024-05-24
発明の名称
鉄筋コンクリート構造、これを備えたプレキャスト鉄筋コンクリートモジュール、及び、床版
出願人
日鉄エンジニアリング株式会社
,
株式会社横河NSエンジニアリング
代理人
個人
,
個人
,
個人
,
個人
,
個人
,
個人
,
個人
,
個人
主分類
E02B
3/06 20060101AFI20251128BHJP(水工;基礎;土砂の移送)
要約
【課題】開口部の軸方向に十分な強度を備え、且つ、厚さの増加を抑えた鉄筋コンクリート構造、これを備えたプレキャスト鉄筋コンクリートモジュール、及び、床版を提供する。
【解決手段】開口部10Pを有する鉄筋コンクリート構造であって、開口部10Pを形成する筒状体11と、筒状体11が挿通される貫通孔12hを備え、筒状体11の軸方向に直交する面に沿って配置される補強平板12と、筒状体11の外周側に配置される鉄筋配置部13と、を備え、鉄筋配置部13は、補強平板12の外周縁から軸方向に沿って延びる板状の周壁13aと、補強平板12に沿う方向に延在しかつ周壁13a及び補強平板12の少なくとも一方と係合する複数の鉄筋Rが形成する鉄筋配列面13cと、を備えることを特徴とする。
【選択図】図2
特許請求の範囲
【請求項1】
開口部を有する鉄筋コンクリート構造であって、
前記開口部を形成する筒状体と、
前記筒状体が挿通される貫通孔を備え、前記筒状体の軸方向に直交する面に沿って配置される補強平板と、
前記筒状体の外周側に配置される鉄筋配置部と、
を備え、
前記鉄筋配置部は、
前記補強平板の外周縁から前記軸方向に沿って延びる板状の周壁と、
前記補強平板に沿う方向に延在しかつ前記周壁及び前記補強平板の少なくとも一方と係合する複数の鉄筋が形成する鉄筋配列面と、
を備えることを特徴とする鉄筋コンクリート構造。
続きを表示(約 830 文字)
【請求項2】
前記鉄筋配列面は、前記軸方向において前記周壁が存在する範囲内に配置されている、
ことを特徴とする請求項1に記載の鉄筋コンクリート構造。
【請求項3】
前記補強平板は、前記筒状体に対して1つ設けられる、
ことを特徴とする請求項1に記載の鉄筋コンクリート構造。
【請求項4】
前記周壁は、前記補強平板の外周縁に沿って環状に設けられる、
ことを特徴とする請求項1に記載の鉄筋コンクリート構造。
【請求項5】
前記周壁は、前記軸方向の端部から面方向内部に進入する形状に形成された切り欠きを備え、
前記複数の鉄筋は、前記切り欠きに係合している、
ことを特徴とする請求項1に記載の鉄筋コンクリート構造。
【請求項6】
前記周壁は、板厚方向に貫通する貫通孔を備え、
前記複数の鉄筋は、前記貫通孔に係合している、
ことを特徴とする請求項1に記載の鉄筋コンクリート構造。
【請求項7】
前記鉄筋の端部は、雄ネジ部を備え、
前記鉄筋は、前記雄ネジ部に定着板が螺合されることで、前記周壁及び前記補強平板の少なくとも一方に固定される、
ことを特徴とする請求項1に記載の鉄筋コンクリート構造。
【請求項8】
前記鉄筋は曲げ部を備える、
ことを特徴とする請求項1に記載の鉄筋コンクリート構造。
【請求項9】
前記補強平板と前記周壁とを接続するリブを更に備える、
ことを特徴とする請求項1に記載の鉄筋コンクリート構造。
【請求項10】
前記軸方向において、前記リブの端部は、前記周壁の端部と、前記周壁の端部の隣に位置する前記鉄筋配列面と、の間に位置する、
ことを特徴とする請求項9に記載の鉄筋コンクリート構造。
(【請求項11】以降は省略されています)
発明の詳細な説明
【技術分野】
【0001】
本開示は、鉄筋コンクリート構造、それを備えたプレキャスト鉄筋コンクリートモジュール、及び、床版に関する。
続きを表示(約 2,600 文字)
【背景技術】
【0002】
鉄筋コンクリート構造において、開口部を設けることがある。
特許文献1には、鉄筋コンクリート構造に開口部を設けるために、複数重ねられた環状のフープ筋に、定着板を介して放射筋を取り付けた構造が記載されている。
特許文献2には、円形鋼管と、円形鋼管を保持する補強鋼板と、を備え、円形鋼管を設けることで鉄筋コンクリート構造に開口部を形成しつつ、補強鋼板に固着された継手筋を、円形鋼管の設置により寸断された主鉄筋に接続した構造が記載されている。
【先行技術文献】
【特許文献】
【0003】
特開昭62-55362号公報
特開2008-144415号公報
【発明の概要】
【発明が解決しようとする課題】
【0004】
鉄筋コンクリート構造を備えた桟橋を、例えば、水上に配置する際、鉄筋コンクリート構造に開口部を設けることで、開口部を介して桟橋の下方に日光を当て、水中生物との共生を図りたい旨の要望がある。ここで、鉄筋コンクリート構造に開口部を設ける場合、鉄筋が寸断されるため、鉄筋コンクリート構造の開口部周辺における強度が低下する。また、開口部を介してより広い範囲に日光を当てるためには、鉄筋コンクリート構造の厚さを抑えることが好ましい。
特許文献1に記載の構造は、開口部を形成するために設けられたフープ筋を、鉄筋のみで補強している。このため、厚さを抑えることについて有利となることが見込まれ、また、径方向において高い強度を有するが、軸方向の強度に課題がある。
特許文献2に記載の構造は、例えば、壁体構造に適用される。すなわち、円形鋼管の管軸が水平になるように配置される。このため、例えば、当該構造を床版構造に適用する場合には管軸方向の強度が課題となる。管軸方向の強度を向上させるために補強鋼板の数を増やすことも考えられるが、管軸方向の寸法、つまり構造の厚さが増加する課題がある。
【0005】
本開示は、前述した事情に鑑みてなされたものであって、開口部の軸方向に十分な強度を備え、且つ、厚さの増加を抑えた鉄筋コンクリート構造、これを備えたプレキャスト鉄筋コンクリートモジュール、及び、床版を提供することを目的とする。
【課題を解決するための手段】
【0006】
本開示の一態様に係る鉄筋コンクリート構造は、開口部を有する鉄筋コンクリート構造であって、前記開口部を形成する筒状体と、前記筒状体が挿通される貫通孔を備え、前記筒状体の軸方向に直交する面に沿って配置される補強平板と、前記筒状体の外周側に配置される鉄筋配置部と、を備え、前記鉄筋配置部は、前記補強平板の外周縁から前記軸方向に沿って延びる板状の周壁と、前記補強平板に沿う方向に延在しかつ前記周壁及び前記補強平板の少なくとも一方と係合する複数の前記鉄筋が形成する鉄筋配列面と、を備えることを特徴とする。
【発明の効果】
【0007】
本開示によれば、開口部の軸方向に十分な強度を備え、且つ、厚さの増加を抑えた鉄筋コンクリート構造、これを備えたプレキャスト鉄筋コンクリートモジュール、及び、床版を提供することができる。
【図面の簡単な説明】
【0008】
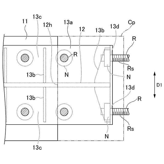
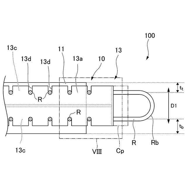
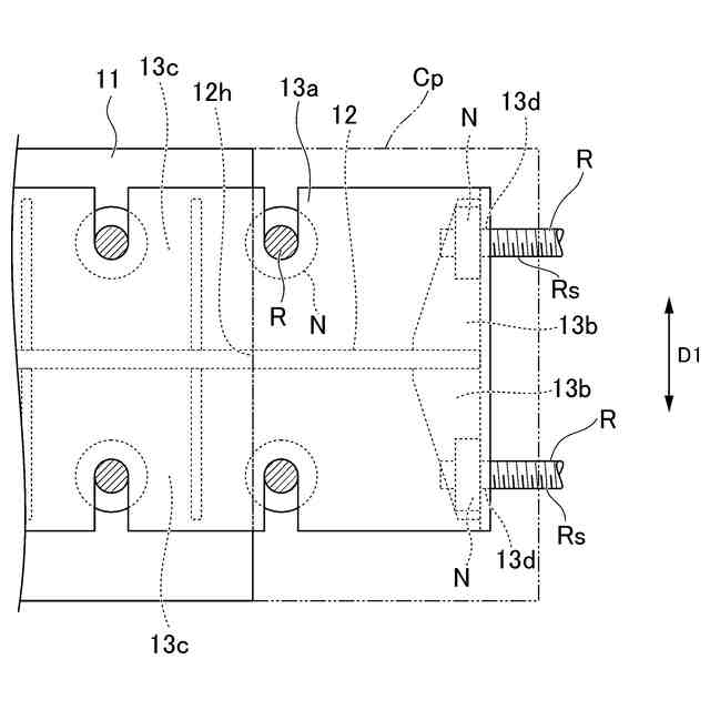
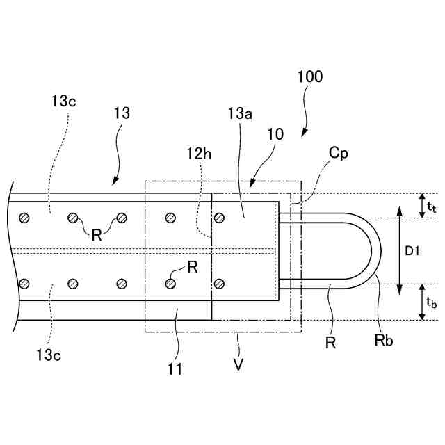
実施形態に係る桟橋である。
第1実施形態に係る穴付きモジュールの内部構造を示す斜視図である。
図2に示す穴付きモジュールの内部構造の一部平面図である。
図2に示す穴付きモジュールの内部構造の一部正面図である。
図4のV部の拡大図である。
図5に示すリブの詳細図である。
図4に示す周壁の変形例である。
図7のVIII部の拡大図である。
穴付きモジュール同士の接続部の平面図である。
穴付きモジュール同士の接続部の正面視の断面図である。
桟橋に第2実施形態に係るプレキャスト鉄筋コンクリートモジュールが設けられた例である。
第2穴付きモジュールの平面図である。
第3穴付きモジュールの平面図である。
【発明を実施するための形態】
【0009】
(第1実施形態)
以下、図面を参照し、本開示の一実施形態に係る鉄筋コンクリート構造、プレキャスト鉄筋コンクリートモジュール、及び床版を説明する。
本実施形態に係る鉄筋コンクリート構造は、開口部を有する。前記開口部は、鉄筋コンクリート構造の厚さ方向に貫通するように形成される。
本実施形態に係る鉄筋コンクリート構造は、例えば、桟橋の床版に用いられる。このとき、鉄筋コンクリート構造は、開口部において日光を通過させる。このことで、桟橋の下方に日光を当てることができるようにし、水中生物との共生に寄与する。
本実施形態に係る床版は、複数のプレキャスト鉄筋コンクリートモジュールによって形成される。すなわち、本実施形態に係る床版は、複数のプレキャスト鉄筋コンクリートモジュールを施工現場において適宜配列し、前記複数のプレキャスト鉄筋コンクリートモジュール同士の間にコンクリートを打設することで形成される。
以下、本実施形態に係る鉄筋コンクリート構造が、桟橋の床版に用いられる例について説明する。
【0010】
図1は、実施形態に係る桟橋Bである。
本実施形態に係る床版Fは、例えば、図1に示すように、水上に設けられる桟橋Bに用いられる。本実施形態に係る床版Fは、プレキャスト鉄筋コンクリートモジュール100を、水平面に沿って縦横に複数配列して構成されている。
水上の桟橋Bにおいては、床版Fの下に生息する生物との共生を図ることに課題がある。本実施形態に係る床版Fに用いられるプレキャスト鉄筋コンクリートモジュール100には、後述の通り開口部10Pを備えた穴付きプレキャスト鉄筋コンクリートモジュール10が複数含まれている。このことで、開口部10Pを介して、桟橋Bの杭が打設された水底に日光を当てことができる。したがって、桟橋Bの下の水底において海藻草類が生育できるようにして、桟橋Bが設けられた水域における生物との共生に寄与する。
(【0011】以降は省略されています)
この特許をJ-PlatPat(特許庁公式サイト)で参照する
関連特許
個人
バケット
1か月前
鹿島建設株式会社
接続方法
22日前
日本車輌製造株式会社
杭打機
2日前
株式会社富田製作所
継手部構造
1か月前
大新土木株式会社
均し台船
今日
株式会社クボタ
作業車
1日前
株式会社郷土開発
傾斜地の切土工法
21日前
ウエダ産業株式会社
アタッチメント
13日前
エポコラム機工株式会社
地盤改良装置
6日前
日立建機株式会社
建設機械
1か月前
日立建機株式会社
建設機械
8日前
日本車輌製造株式会社
建設機械
6日前
株式会社クボタ
作業機
21日前
日本車輌製造株式会社
建設機械
今日
日立建機株式会社
作業機械
1か月前
大和ハウス工業株式会社
泥回収システム
今日
大和ハウス工業株式会社
泥回収システム
今日
アロン化成株式会社
排水管通気設備
今日
ナブテスコ株式会社
ドーザブレード駆動機構
1か月前
日本車輌製造株式会社
杭打機の表示システム
1か月前
東洋テクノ株式会社
スライム処理装置
今日
株式会社大林組
掘削支援装置及び掘削支援方法
15日前
セイコー機器株式会社
親綱支柱
2日前
株式会社大林組
評価支援装置及び評価支援方法
1か月前
日立建機株式会社
作業機械
1日前
株式会社竹中工務店
構真柱
1日前
強化土エンジニヤリング株式会社
地盤注入工法
今日
住友重機械工業株式会社
ショベル、操作支援システム
今日
エポコラム機工株式会社
地盤改良装置及び地盤改良工法
6日前
個人
保護カバー及び保護カバーの取付方法
1か月前
株式会社大林組
免震構造及び免震構造の施工方法
1か月前
エポコラム機工株式会社
地盤改良装置及び地盤改良工法
6日前
ヤンマーホールディングス株式会社
作業機械
21日前
ヤンマーホールディングス株式会社
作業機械
21日前
コベルコ建機株式会社
建設機械
8日前
コベルコ建機株式会社
建設機械
8日前
続きを見る
他の特許を見る