TOP
|
特許
|
意匠
|
商標
特許ウォッチ
Twitter
他の特許を見る
公開番号
2025177410
公報種別
公開特許公報(A)
公開日
2025-12-05
出願番号
2024084220
出願日
2024-05-23
発明の名称
表示装置
出願人
株式会社ジャパンディスプレイ
代理人
弁理士法人スズエ国際特許事務所
主分類
G02F
1/1335 20060101AFI20251128BHJP(光学)
要約
【課題】 表示品位を向上させることが可能な表示装置を提供する。
【解決手段】 一実施形態によれば、表示装置は、基板と、前記基板の上方に配置された半導体と、前記半導体と電気的に接続された画素電極と、前記半導体と前記画素電極との間に配置された第1カラーフィルタと、を備える。前記第1カラーフィルタは、第1層と、前記第1層の上に配置され、前記第1層と同じ色を有する第2層と、を有している。
【選択図】 図5
特許請求の範囲
【請求項1】
基板と、
前記基板の上方に配置された半導体と、
前記半導体と電気的に接続された画素電極と、
前記半導体と前記画素電極との間に配置された第1カラーフィルタと、を備え、
前記第1カラーフィルタは、第1層と、前記第1層の上に配置され、前記第1層と同じ色を有する第2層と、を有している、
表示装置。
続きを表示(約 1,100 文字)
【請求項2】
前記第1カラーフィルタは、緑色を有するカラーフィルタである、
請求項1に記載の表示装置。
【請求項3】
前記第1層および前記第2層を覆う有機絶縁層をさらに備え、
前記有機絶縁層は、ポジ型の感光性樹脂によって形成され、
前記第1カラーフィルタは、ネガ型の感光性樹脂によって形成されている、
請求項1に記載の表示装置。
【請求項4】
前記基板の上方に配置された隣り合う2本の走査線と、
前記2本の走査線と交差する隣り合う2本の信号線と、をさらに備え、
前記第1カラーフィルタは、前記2本の走査線と前記2本の信号線とで囲われた開口部に重なり、
前記第1層の幅は、前記開口部の幅よりも大きい、
請求項1に記載の表示装置。
【請求項5】
前記第2層の幅は、前記第1層の幅よりも小さい、
請求項4に記載の表示装置。
【請求項6】
前記第2層の幅は、前記開口部の幅よりも大きい、
請求項5に記載の表示装置。
【請求項7】
前記基板の上方に配置された隣り合う2本の走査線と、
前記2本の走査線と交差する隣り合う2本の信号線と、をさらに備え、
前記第1層の周縁部は、前記2本の走査線および前記2本の信号線にそれぞれ重なっている、
請求項1に記載の表示装置。
【請求項8】
前記半導体と前記第1カラーフィルタとの間に配置された無機絶縁層と、
前記無機絶縁層の上に配置された接続電極と、をさらに備え、
前記無機絶縁層は、前記開口部に重なる第1コンタクトホールを有し、
前記接続電極は、前記第1コンタクトホールにおいて、前記半導体と電気的に接続され、
前記第1層の一部は、前記第1コンタクトホールを埋めている、
請求項4に記載の表示装置。
【請求項9】
前記第2層は、前記第1コンタクトホールに重なっている、
請求項8に記載の表示装置。
【請求項10】
前記第1層および前記第2層を覆う有機絶縁層をさらに備え、
前記有機絶縁層は、前記走査線に重なる第2コンタクトホールを有し、
前記画素電極は、前記第2コンタクトホールにおいて、前記接続電極と電気的に接続され、
前記第2コンタクトホールの内面と前記基板の主面に平行な面とがなす角度は、前記第1層の側面と前記基板の主面に平行な面とがなす角度よりも小さい、
請求項8に記載の表示装置。
(【請求項11】以降は省略されています)
発明の詳細な説明
【技術分野】
【0001】
本発明の実施形態は、表示装置に関する。
続きを表示(約 1,600 文字)
【背景技術】
【0002】
カラー表示が可能な表示装置の一例として、アレイ基板がスイッチング素子、画素電極、およびカラーフィルタを備えるCOA(Color filter On Array)方式の液晶表示装置が提案されている。カラーフィルタは、色再現範囲の拡大の要求に伴って、色を濃くしたり、カラーフィルタの厚さを大きくしたりする場合がある。
【先行技術文献】
【特許文献】
【0003】
特許第4335158号公報
特開2022-180090号公報
【発明の概要】
【発明が解決しようとする課題】
【0004】
本発明は、表示品位を向上させることが可能な表示装置を提供することを目的の一つとする。
【課題を解決するための手段】
【0005】
一実施形態によれば、表示装置は、基板と、前記基板の上方に配置された半導体と、前記半導体と電気的に接続された画素電極と、前記半導体と前記画素電極との間に配置された第1カラーフィルタと、を備える。前記第1カラーフィルタは、第1層と、前記第1層の上に配置され、前記第1層と同じ色を有する第2層と、を有している。
【図面の簡単な説明】
【0006】
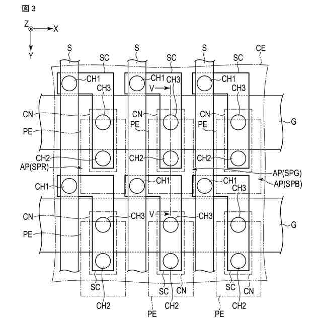
図1は、一実施形態に係る表示装置の概略的な分解斜視図である。
図2は、図1に示した表示パネルの概略的な平面図である。
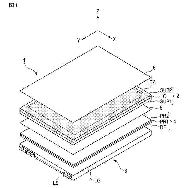
図3は、副画素の構造の一例を示す概略的な平面図である。
図4は、第1基板が備えるカラーフィルタの配置態様を説明するための図である。
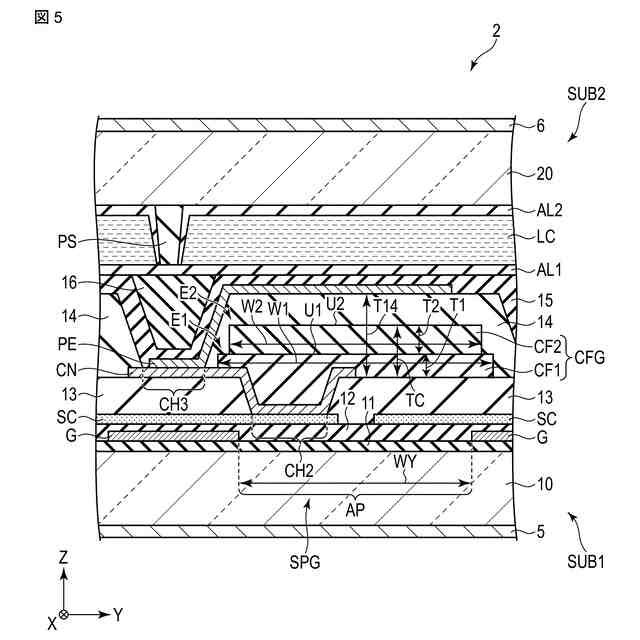
図5は、図3に示したV-V線に沿う表示パネルの概略的な断面図である。
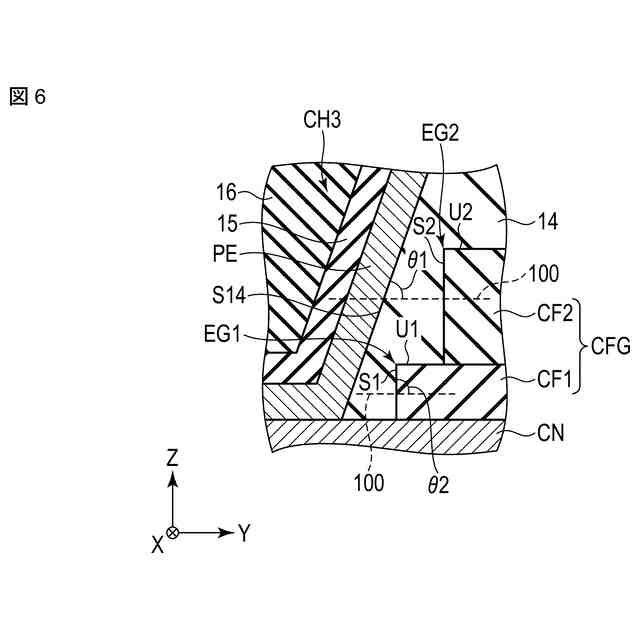
図6は、図5に示したカラーフィルタおよび絶縁層の一部を示す部分拡大図である。
図7は、比較例に係るカラーフィルタを示す概略的な断面図である。
図8は、カラーフィルタの他の構成例を示す概略的な平面図である。
【発明を実施するための形態】
【0007】
以下、実施形態について、図面を参照しながら説明する。なお、開示はあくまで一例に過ぎず、当業者において、発明の主旨を保っての適宜変更について容易に想到し得るものについては、当然に本発明の範囲に含有されるものである。また、図面は、説明をより明確にするため、実際の態様に比べて、各部の幅、厚さ、形状などについて模式的に表される場合があるが、あくまで一例であって、本発明の解釈を限定するものではない。また、本明細書と各図において、既出の図に関して前述したものと同一または類似した機能を発揮する構成要素には同一の参照符号を付し、重複する詳細な説明を適宜省略することがある。
【0008】
なお、図面には、必要に応じて理解を容易にするために、互いに直交するX軸、Y軸およびZ軸を記載する。X軸に沿った方向を第1方向Xと称し、Y軸に沿った方向を第2方向Yと称し、Z軸に沿った方向を第3方向Zと称する。第3方向Zと平行に各種要素を見ることを平面視という。
【0009】
本施形態においては、表示装置の一例として、液晶表示装置を開示する。ただし、本実施形態にて開示される技術的思想は、他の表示装置として、例えば有機エレクトロルミネッセンス表示素子、マイクロLED、またはミニLEDなどの他種の表示素子を備える表示装置に適用可能である。また、本実施形態にて開示される技術的思想は、静電容量式センサや光学式センサなどのセンサ素子を有するアレイ基板や電子機器にも適用可能である。
【0010】
本実施形態に係る表示装置は、例えば、車載機器、スマートフォン、タブレット端末、携帯電話端末、パーソナルコンピュータ、テレビ受像装置、ゲーム機器、ヘッドマウントディスプレイ等の種々の装置に用いることができる。
(【0011】以降は省略されています)
この特許をJ-PlatPat(特許庁公式サイト)で参照する
関連特許
カンタツ株式会社
撮像レンズ
今日
アイカ工業株式会社
反射防止フィルム
8日前
日本電気株式会社
波長可変光源
今日
東京応化工業株式会社
光学製品
1日前
新光電気工業株式会社
光導波路部品
1日前
キヤノン株式会社
表示装置
13日前
キヤノン株式会社
表示装置
6日前
住友化学株式会社
複合偏光板
6日前
矢崎総業株式会社
光ケーブル
2日前
京セラ株式会社
アイソレータ
13日前
古河電気工業株式会社
光ファイバケーブル
6日前
古河電気工業株式会社
光ファイバケーブル
6日前
株式会社タムロン
ズームレンズ及び撮像装置
6日前
住友ベークライト株式会社
光学部品の製造方法
6日前
古河電気工業株式会社
融着機、ピッチ変換部材
6日前
ウシオ電機株式会社
反射型位相差構造体
2日前
株式会社吉野工業所
加飾部材
今日
住友化学株式会社
偏光板及び画像表示装置
今日
キヤノン株式会社
顕微鏡
今日
マクセル株式会社
空中浮遊映像表示装置
今日
日東電工株式会社
光学積層体
6日前
日東電工株式会社
光学積層体
6日前
株式会社小糸製作所
画像生成装置
15日前
日東電工株式会社
光学積層体
6日前
キヤノン株式会社
光学系および観察装置
2日前
セイコーエプソン株式会社
光学表示装置
今日
キヤノン株式会社
光学系および撮像装置
21日前
吉祥園株式会社
近くの物体を遠くに鏡像させて見る光学器具
7日前
個人
双眼ルーペ
8日前
日本精機株式会社
表示装置及びヘッドアップディスプレイ装置
2日前
キヤノン株式会社
走査光学装置及び画像形成装置
15日前
キヤノン株式会社
走査光学装置及び画像形成装置
13日前
TOPPANホールディングス株式会社
調光装置
13日前
東芝テック株式会社
光学装置
6日前
株式会社フジクラ
光ファイバ処理工具
今日
住友電気工業株式会社
光変調器
今日
続きを見る
他の特許を見る