TOP
|
特許
|
意匠
|
商標
特許ウォッチ
Twitter
他の特許を見る
公開番号
2025177185
公報種別
公開特許公報(A)
公開日
2025-12-05
出願番号
2024083784
出願日
2024-05-23
発明の名称
撓み噛合い式歯車装置
出願人
住友重機械工業株式会社
代理人
個人
,
個人
主分類
F16H
1/32 20060101AFI20251128BHJP(機械要素または単位;機械または装置の効果的機能を生じ維持するための一般的手段)
要約
【課題】起振体軸受を好適に潤滑する。
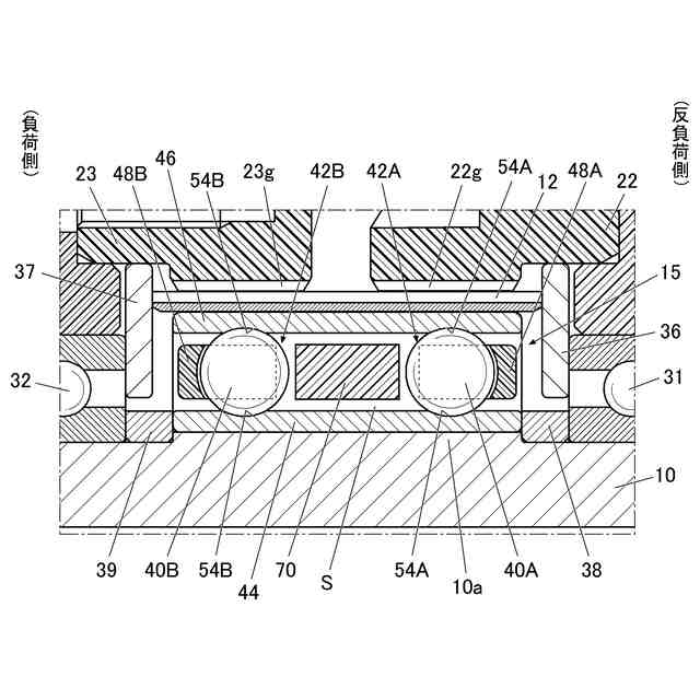
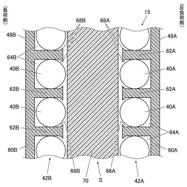
【解決手段】撓み噛合い式歯車装置1は、起振体10aと外歯歯車12との間に配置される起振体軸受15とを備える。起振体軸受15は、複数の第1転動体40Aが周方向に配列された第1転動体列42Aと、第1転動体40Aを保持する第1保持器48Aと、第1転動体列42Aから軸方向にオフセットした位置に配置され複数の第2転動体40Bが周方向に配列された第2転動体列42Bと、第2転動体40Bを保持する第2保持器48Bとを備える。第1保持器48Aは、各第1転動体40Aを収容する第1ポケット64Aが軸方向で第2転動体列42B側に向けて開口している。第2保持器48Bは、各第2転動体40Bを収容する第2ポケット64Bが軸方向で第1転動体列42A側に向けて開口している。第1転動体列42Aと第2転動体列42Bとの間にスペーサ部材70が配置される。
【選択図】図2
特許請求の範囲
【請求項1】
起振体と、前記起振体により撓み変形させられる撓み歯車と、前記起振体と前記撓み歯車との間に配置される起振体軸受と、を備える撓み噛合い式歯車装置であって、
前記起振体軸受は、複数の第1転動体が周方向に配列された第1転動体列と、前記複数の第1転動体を保持する第1保持器と、前記第1転動体列から軸方向にオフセットした位置に配置され複数の第2転動体が周方向に配列された第2転動体列と、前記複数の第2転動体を保持する第2保持器と、を備え、
前記第1保持器は、前記複数の第1転動体のそれぞれを収容する複数の第1ポケットを備え、前記第1ポケットは、軸方向で前記第2転動体列側に向けて開口しており、
前記第2保持器は、前記複数の第2転動体のそれぞれを収容する複数の第2ポケットを備え、前記第2ポケットは、軸方向で前記第1転動体列側に向けて開口しており、
前記第1転動体列と前記第2転動体列との間にスペーサ部材が配置される、
撓み噛合い式歯車装置。
続きを表示(約 390 文字)
【請求項2】
前記起振体軸受は、前記第1転動体列と前記第2転動体列に共通の外輪を有する、
請求項1に記載の撓み噛合い式歯車装置。
【請求項3】
前記起振体軸受は、前記第1転動体列と前記第2転動体列に共通の内輪を有する、
請求項1に記載の撓み噛合い式歯車装置。
【請求項4】
前記スペーサ部材は、内輪の外周と外輪の内周との間に、径方向に移動可能に配置される、
請求項1に記載の撓み噛合い式歯車装置。
【請求項5】
前記スペーサ部材は、前記第1保持器及び前記第2保持器のいずれとも接触しない、
請求項1に記載の撓み噛合い式歯車装置。
【請求項6】
前記第1転動体列と前記第2転動体列との間に、ちょう度番号が1号以上のグリースが配置される、
請求項1に記載の撓み噛合い式歯車装置。
発明の詳細な説明
【技術分野】
【0001】
本発明は、撓み噛合い式歯車装置に関する。
続きを表示(約 1,400 文字)
【背景技術】
【0002】
従来、起振体により撓み変形される外歯歯車と、起振体と外歯歯車との間に配置される起振体軸受とを備える撓み噛合い式歯車装置が知られている(例えば、特許文献1参照)。
この種の撓み噛合い式歯車装置では、起振体軸受が複列の場合等に、2列の転動体の間に空間を確保し、当該空間に潤滑剤(グリース)を保持させる場合がある。
【先行技術文献】
【特許文献】
【0003】
国際公開第2017/006442号
【発明の概要】
【発明が解決しようとする課題】
【0004】
しかしながら、転動体列間の空間に単純に潤滑剤を充填するだけでは、潤滑剤が当該空間に留まるだけで、転動体を好適に潤滑できない場合がある。
【0005】
本発明は、上記事情に鑑みてなされたもので、起振体軸受を好適に潤滑することを目的とする。
【課題を解決するための手段】
【0006】
本発明は、起振体と、前記起振体により撓み変形させられる撓み歯車と、前記起振体と前記撓み歯車との間に配置される起振体軸受と、を備える撓み噛合い式歯車装置であって、
前記起振体軸受は、複数の第1転動体が周方向に配列された第1転動体列と、前記複数の第1転動体を保持する第1保持器と、前記第1転動体列から軸方向にオフセットした位置に配置され複数の第2転動体が周方向に配列された第2転動体列と、前記複数の第2転動体を保持する第2保持器と、を備え、
前記第1保持器は、前記複数の第1転動体のそれぞれを収容する複数の第1ポケットを備え、前記第1ポケットは、軸方向で前記第2転動体列側に向けて開口しており、
前記第2保持器は、前記複数の第2転動体のそれぞれを収容する複数の第2ポケットを備え、前記第2ポケットは、軸方向で前記第1転動体列側に向けて開口しており、
前記第1転動体列と前記第2転動体列との間にスペーサ部材が配置される。
【発明の効果】
【0007】
本発明によれば、起振体軸受を好適に潤滑することができる。
【図面の簡単な説明】
【0008】
実施形態に係る撓み噛合い式歯車装置を示す断面図である。
図1のE部の拡大図である。
実施形態に係る起振体軸受における転動体列、保持器及びスペーサ部材の位置関係を示す図である。
実施形態に係る起振体軸受の変形例を示す図であって、図3と同じ部分を示す部分断面図である。
【発明を実施するための形態】
【0009】
以下、本発明の実施形態について、図面を参照して詳細に説明する。
【0010】
[撓み噛合い式歯車装置の構成]
図1は、本実施形態に係る撓み噛合い式歯車装置1を示す断面図である。
以下では、図中の回転軸O1に沿った方向を「軸方向」、回転軸O1から垂直な方向を「径方向」、回転軸O1を中心とする回転方向を「周方向」と定義する。また、軸方向のうち、外部の被駆動部材と連結される側(図中の左側)を「負荷側」といい、負荷側とは反対側(図中の右側)を「反負荷側」という。
(【0011】以降は省略されています)
この特許をJ-PlatPat(特許庁公式サイト)で参照する
関連特許
住友重機械工業株式会社
熱伝導機構
18日前
住友重機械工業株式会社
熱伝導機構
18日前
住友重機械工業株式会社
成形品管理装置
1か月前
住友重機械工業株式会社
撓み噛合い式歯車装置
2日前
住友重機械工業株式会社
建設機械及び管理装置
17日前
住友重機械工業株式会社
産業機械管理装置及びシステム
9日前
住友重機械工業株式会社
作業機械用の遠隔操作システム
1か月前
住友重機械工業株式会社
金型装置、及び射出成形システム
1か月前
住友重機械工業株式会社
ショベル、ショベルの操作システム
25日前
住友重機械工業株式会社
射出成形機用ノズル、及び射出成形機
9日前
住友重機械工業株式会社
射出成形機
11日前
住友重機械工業株式会社
GaAs半導体デバイス製造装置、GaAs半導体デバイス製造方法
17日前
パーシモン テクノロジーズ コーポレイション
磁気によりガイドされた材料取扱いロボット
25日前
個人
留め具
1か月前
個人
鍋虫ねじ
3か月前
個人
紛体用仕切弁
3か月前
個人
回転伝達機構
4か月前
個人
ホース保持具
7か月前
個人
差動歯車用歯形
5か月前
個人
ジョイント
2か月前
個人
給排気装置
2か月前
個人
ナット
2か月前
個人
ナット
1か月前
株式会社不二工機
電磁弁
5か月前
株式会社不二工機
電磁弁
6か月前
個人
地震の揺れ回避装置
4か月前
個人
ゲート弁バルブ
17日前
個人
吐出量監視装置
3か月前
カヤバ株式会社
緩衝器
5か月前
カヤバ株式会社
ダンパ
5か月前
カヤバ株式会社
緩衝器
5か月前
カヤバ株式会社
ダンパ
5か月前
カヤバ株式会社
緩衝器
2か月前
柿沼金属精機株式会社
分岐管
3か月前
兼工業株式会社
バルブ
1か月前
株式会社タカギ
水栓装置
4か月前
続きを見る
他の特許を見る