TOP
|
特許
|
意匠
|
商標
特許ウォッチ
Twitter
他の特許を見る
10個以上の画像は省略されています。
公開番号
2025177001
公報種別
公開特許公報(A)
公開日
2025-12-05
出願番号
2024083459
出願日
2024-05-22
発明の名称
増幅回路
出願人
住友電工デバイス・イノベーション株式会社
代理人
個人
,
個人
,
個人
,
個人
主分類
H03F
1/52 20060101AFI20251128BHJP(基本電子回路)
要約
【課題】抵抗において生じる熱に対する放熱性を高め得る増幅回路を提供する。
【解決手段】増幅回路は、アンプ、第1抵抗、第2抵抗、第1キャパシタおよび第2キャパシタを備える。アンプは、高周波信号を増幅し、増幅した高周波信号を出力端子に出力する。第1抵抗の第1端は、アンプと出力端子との間の配線または出力端子に接続されている。第2抵抗の第1端は、第1抵抗の第2端に接続されている。第1キャパシタの第1電極は、第1抵抗の第2端と第2抵抗の第1端との間のノードに接続されている。第1キャパシタの第2電極は基準電位に接続されている。第2キャパシタの第1電極は、第2抵抗の第2端に接続されている。第2キャパシタの第2電極は基準電位に接続されている。
【選択図】図2
特許請求の範囲
【請求項1】
高周波信号を増幅し、増幅した前記高周波信号を出力端子に出力するアンプと、
第1端および第2端を有し、前記アンプと前記出力端子との間の配線に前記第1端が接続された第1抵抗と、
第1端および第2端を有し、前記第1端が前記第1抵抗の前記第2端に接続された第2抵抗と、
第1電極および第2電極を有し、前記第1抵抗の前記第2端と前記第2抵抗の前記第1端との間のノードに前記第1電極が接続され、前記第2電極が基準電位に接続された第1キャパシタと、
第1電極および第2電極を有し、前記第1電極が前記第2抵抗の前記第2端に接続され、前記第2電極が基準電位に接続された第2キャパシタと、
を備える、増幅回路。
続きを表示(約 760 文字)
【請求項2】
前記第1抵抗の抵抗値は前記第2抵抗の抵抗値よりも小さい、請求項1に記載の増幅回路。
【請求項3】
前記第1抵抗、前記第2抵抗、前記第1キャパシタ、および前記第2キャパシタが設けられる主面を有する基材を更に備え、
前記主面上において、前記第1キャパシタ、前記第2キャパシタ、または前記第1キャパシタおよび前記第2キャパシタの両方が、前記第1抵抗と前記第2抵抗との間に配置されている、請求項1または2に記載の増幅回路。
【請求項4】
前記主面の平面形状は、第1方向に長い長方形であり、
前記第1抵抗および前記第2抵抗の平面形状は、前記第1方向と交差する第2方向に長い長方形である、請求項3に記載の増幅回路。
【請求項5】
前記主面上に設けられ、前記第1抵抗の前記第1端に接続されたワイヤボンディングパッドと、
前記ワイヤボンディングパッドを前記配線と接続するボンディングワイヤと、
を備え、
前記第1抵抗は前記ワイヤボンディングパッドと前記第1キャパシタとの間に配置されている、請求項3に記載の増幅回路。
【請求項6】
前記第1抵抗、前記第2抵抗、前記第1キャパシタ、および前記第2キャパシタが設けられる主面を有する基材を更に備え、
前記第1抵抗および前記第2抵抗は、前記主面に形成された膜抵抗である、請求項1または2に記載の増幅回路。
【請求項7】
前記第1抵抗、前記第2抵抗、前記第1キャパシタ、および前記第2キャパシタが設けられる主面を有する基材を更に備え、
前記第1抵抗および前記第2抵抗は、前記基材に形成された拡散抵抗である、請求項1または2に記載の増幅回路。
発明の詳細な説明
【技術分野】
【0001】
本開示は、増幅回路に関する。
続きを表示(約 2,500 文字)
【背景技術】
【0002】
特許文献1は、パッケージに収納されたRFパワーデバイスを開示する。RFパワーデバイスは、少なくとも一つのトランジスタ、RF信号入力リード線、RF信号出力リード線、出力マッチング回路、およびビデオバイパス回路を備える。RF信号入力リード線およびRF信号出力リード線は、トランジスタに結合されている。出力マッチング回路はRF信号出力リード線に結合されている。トランジスタは、出力マッチング回路を介してRF信号出力リード線に結合されている。ビデオバイパス回路は、出力マッチング回路を介してRF信号出力リード線に結合されている。
【先行技術文献】
【特許文献】
【0003】
国際公開第2004/032188号
【発明の概要】
【発明が解決しようとする課題】
【0004】
高周波の増幅回路は、例えば携帯電話の基地局において用いられる。高周波の増幅回路では、通信周波数の広帯域化に伴い、信号周波数だけでなくベースバンドの周波数もノイズとして増幅されてしまう。そのようなノイズを抑制するために、ベースバンドの周波数を含む低周波数帯を低減する回路が増幅回路内に設けられることがある。一例では、その低周波数帯低減回路はキャパシタおよび抵抗を含み、低周波数帯のノイズ成分を吸収する。このとき、抵抗が発熱し、抵抗付近の温度が上昇する。抵抗付近の温度が過度に上昇すると抵抗の動作及び寿命に影響するので、抵抗において生じる熱に対する放熱性を高めることが望まれる。
【0005】
本開示は、抵抗において生じる熱に対する放熱性を高めることができる増幅回路を提供することを目的とする。
【課題を解決するための手段】
【0006】
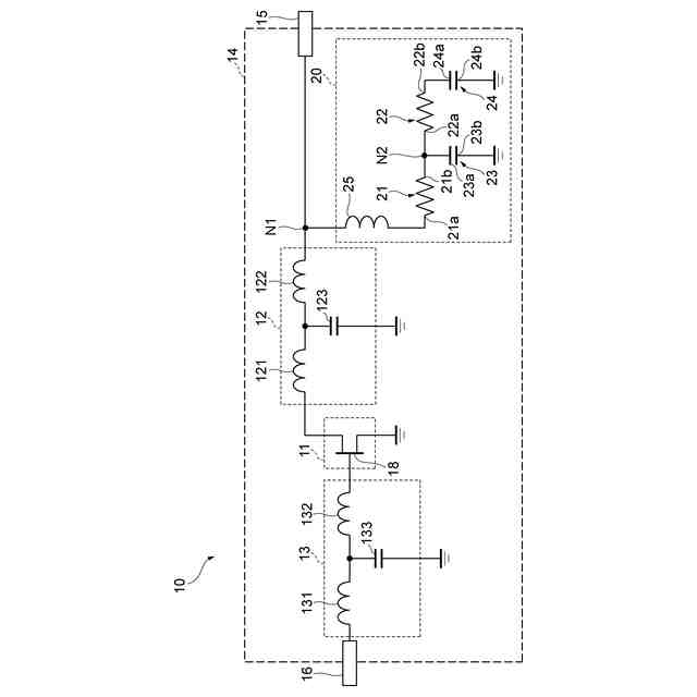
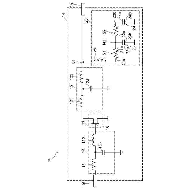
本開示の一実施形態による増幅回路は、アンプ、第1抵抗、第2抵抗、第1キャパシタ、および第2キャパシタを備える。アンプは、高周波信号を増幅し、増幅した高周波信号を出力端子に出力する。第1抵抗は、第1端および第2端を有する。第1抵抗の第1端は、アンプと出力端子との間の配線に接続されている。第2抵抗は、第1端および第2端を有する。第2抵抗の第1端は、第1抵抗の第2端に接続されている。第1キャパシタは、第1電極および第2電極を有する。第1キャパシタの第1電極は、第1抵抗の第2端と第2抵抗の第1端との間のノードに接続されている。第1キャパシタの第2電極は基準電位に接続されている。第2キャパシタは、第1電極および第2電極を有する。第2キャパシタの第1電極は、第2抵抗の第2端に接続されている。第2キャパシタの第2電極は基準電位に接続されている。
【発明の効果】
【0007】
本開示によれば、抵抗において生じる熱に対する放熱性を高めることができる増幅回路を提供できる。
【図面の簡単な説明】
【0008】
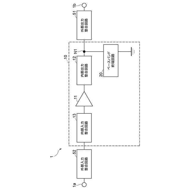
図1は、一実施形態に係る増幅回路の構成を模式的に示す図である。
図2は、一実施形態における半導体装置の回路図である。
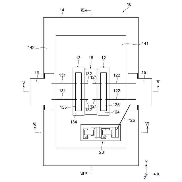
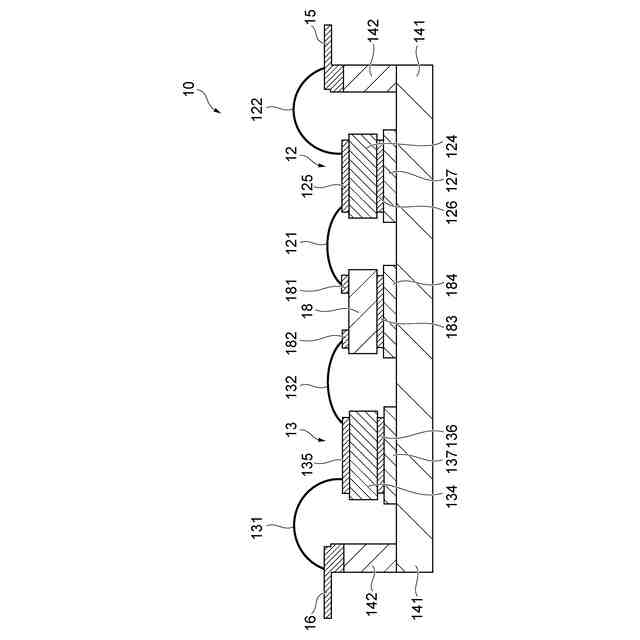
図3は、半導体装置の平面図である。
図4は、半導体装置の側面図である。
図5は、図3に示されたV-V線に沿った半導体装置の断面図である。
図6は、図3に示されたVI-VI線に沿った半導体装置の断面図である。
図7は、図3に示されたVII-VII線に沿った半導体装置の断面図である。
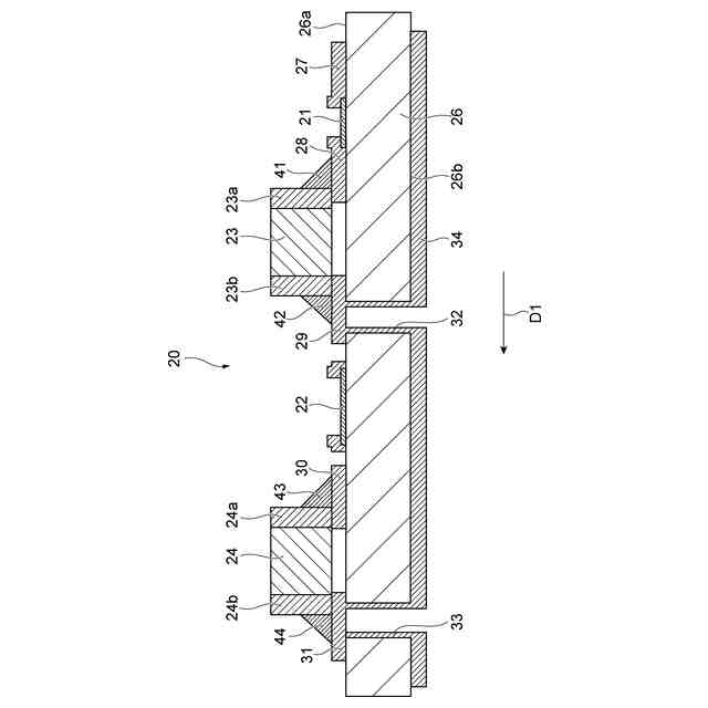
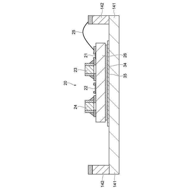
図8は、ベースバンド終端回路の斜視図である。
図9は、図8のIX-IX線に沿ったベースバンド終端回路の断面図である。
図10は、ベースバンド終端回路の作製工程を示す図である。
図11は、ベースバンド終端回路の作製工程を示す図である。
図12は、ベースバンド終端回路の作製工程を示す図である。
図13は、比較列に係るベースバンド終端回路の斜視図である。
図14は、ベースバンド終端回路の回路図である。
図15は、ベースバンド終端回路の電気特性の効果を確認するためのシミュレーションに使用された回路を示す図である。
図16は、シミュレーション結果を示すグラフである。
図17は、一変形例であるベースバンド終端回路の作製工程を示す図である。
図18は、一変形例であるベースバンド終端回路の作製工程を示す図である。
図19は、一変形例であるベースバンド終端回路の作製工程を示す図である。
【発明を実施するための形態】
【0009】
[本開示の実施形態の説明]
最初に、本開示の実施形態の内容を列記して説明する。[1]本開示の一実施形態による増幅回路は、アンプ、第1抵抗、第2抵抗、第1キャパシタ、および第2キャパシタを備える。アンプは、高周波信号を増幅し、増幅した高周波信号を出力端子に出力する。第1抵抗は、第1端および第2端を有する。第1抵抗の第1端は、アンプと出力端子との間の配線に接続されている。第2抵抗は、第1端および第2端を有する。第2抵抗の第1端は、第1抵抗の第2端に接続されている。第1キャパシタは、第1電極および第2電極を有する。第1キャパシタの第1電極は、第1抵抗の第2端と第2抵抗の第1端との間のノードに接続されている。第1キャパシタの第2電極は基準電位に接続されている。第2キャパシタは、第1電極および第2電極を有する。第2キャパシタの第1電極は、第2抵抗の第2端に接続されている。第2キャパシタの第2電極は基準電位に接続されている。
【0010】
上記[1]の増幅回路では、第1抵抗および第2抵抗といった少なくとも2つの抵抗が設けられている。この場合、抵抗が一つのみである場合と比べて、発熱箇所を分散させることができる。従って、抵抗において生じる熱に対する放熱性を高めることができる。加えて、第1抵抗が設けられることにより、第1キャパシタを通過する周波数帯域の減衰率を高めることができる。
(【0011】以降は省略されています)
この特許をJ-PlatPat(特許庁公式サイト)で参照する
関連特許
株式会社蜂鳥
増幅器
12日前
エイブリック株式会社
増幅器
2か月前
エイブリック株式会社
増幅器
2か月前
エイブリック株式会社
増幅回路
2か月前
日本電波工業株式会社
水晶振動子
1か月前
日本電波工業株式会社
圧電振動片
1か月前
京セラ株式会社
差動信号フィルタデバイス
18日前
京セラ株式会社
差動信号フィルタデバイス
18日前
富士電機株式会社
半導体装置
11日前
台灣晶技股ふん有限公司
水晶発振器
1か月前
株式会社半導体エネルギー研究所
駆動回路
2か月前
TDK株式会社
電子部品
1か月前
TDK株式会社
電子部品
2か月前
台灣晶技股ふん有限公司
水晶発振素子
1か月前
株式会社村田製作所
弾性波装置
11日前
住友電気工業株式会社
歪補償装置
5日前
ローム株式会社
自己診断システム
1か月前
三菱電機株式会社
高周波増幅器モジュール
1か月前
国立大学法人東北大学
弾性表面波デバイス
1か月前
株式会社村田製作所
高周波電力増幅器
10日前
日清紡マイクロデバイス株式会社
演算増幅器
2か月前
株式会社村田製作所
高周波電力増幅器
10日前
アルプスアルパイン株式会社
センサ装置
2か月前
エイブリック株式会社
電流制限回路及び電流制限装置
2か月前
エイブリック株式会社
出力制御回路及び電圧出力回路
2か月前
台灣晶技股ふん有限公司
発振装置
1か月前
太陽誘電株式会社
フィルタ及びマルチプレクサ
2か月前
日本電波工業株式会社
温度センサ内蔵型の水晶振動子
1か月前
株式会社NTTドコモ
リニアライザ
2か月前
三安ジャパンテクノロジー株式会社
弾性波デバイス
1か月前
ローム株式会社
発振回路
1か月前
ローム株式会社
発振回路
2か月前
TDK株式会社
フィルタ及び電子部品
2か月前
台灣晶技股ふん有限公司
共振装置
24日前
株式会社村田製作所
高周波回路および通信装置
2か月前
ローム株式会社
半導体装置
2か月前
続きを見る
他の特許を見る