TOP
|
特許
|
意匠
|
商標
特許ウォッチ
Twitter
他の特許を見る
10個以上の画像は省略されています。
公開番号
2025176084
公報種別
公開特許公報(A)
公開日
2025-12-03
出願番号
2025143801,2021176871
出願日
2025-08-29,2021-10-28
発明の名称
駆動装置及び撮像装置
出願人
富士フイルム株式会社
代理人
弁理士法人航栄事務所
主分類
G03B
5/00 20210101AFI20251126BHJP(写真;映画;光波以外の波を使用する類似技術;電子写真;ホログラフイ)
要約
【課題】駆動装置及び撮像装置を提供する。
【解決手段】デジタルカメラ1は、磁石52及び磁石53と、上記磁石からの作用を受け
る駆動用コイル62及び位置センサ63と、位置センサ63を通過し、駆動用コイル62
に電流が流れることによって第1起電力を生じさせる第1電気配線(配線領域64A及び
配線領域65A)と、駆動用コイル62に電流が流れることによって上記第1起電力と逆
方向の起電力である第2起電力を生じさせる第2電気配線(配線領域64B及び配線領域
65B)と、位置センサ63の出力に基づいて駆動用コイル62に流す電流を制御する制
御部18と、を備える。
【選択図】図4
特許請求の範囲
【請求項1】
磁石と、
前記磁石からの作用を受けるコイル及び位置センサと、
前記位置センサを通過し且つ前記コイルの内側から前記コイルの外側に跨がる電気配線と、
前記位置センサの出力に基づいて前記コイルに流す電流を制御するプロセッサと、を備え、
前記コイルに電流が流れることによって、前記電気配線により生じる起電力が閾値以下である駆動装置。
続きを表示(約 510 文字)
【請求項2】
請求項1に記載の駆動装置であって、
前記電気配線は、ループパターンを形成する駆動装置。
【請求項3】
請求項2に記載の駆動装置であって、
前記コイルに電流が流れることによって前記ループパターンを通過する磁束線の積算値が閾値以下である駆動装置。
【請求項4】
請求項2又は3に記載の駆動装置であって、
前記コイルを通過する磁束線の方向に見た状態にて、前記ループパターンにおける前記コイルの外側の領域の面積は、前記ループパターンにおける前記コイルの外周縁よりも内側の領域の面積よりも大きい駆動装置。
【請求項5】
請求項1から4のいずれか1項に記載の駆動装置であって、
前記位置センサは、前記コイルを通過する磁束線の方向に見た状態にて、前記コイルの内側に配置されている駆動装置。
【請求項6】
請求項1から5のいずれか1項に記載の駆動装置であって、
前記電気配線は、前記位置センサの差動出力配線である駆動装置。
【請求項7】
請求項1から6のいずれか1項に記載の駆動装置を備える撮像装置。
発明の詳細な説明
【技術分野】
【0001】
本発明は、駆動装置及び撮像装置に関する。
続きを表示(約 1,900 文字)
【背景技術】
【0002】
特許文献1には、位置検出用のセンサとしてホール素子を用いた半導体パッケージを含むカメラモジュールが記載され、位置検出用のセンサと電流供給用の配線とをできるだけ離して配置すること、或いは、この電流供給用の一対の配線間で、互いに電流の流れる向きが逆方向となるようにし漏れ磁場を相殺すること等によって、位置検出用のセンサに与える漏れ磁場による影響を低減することが記載されている。
【0003】
特許文献2には、撮像光学系を介して結像した光学像に応じた画像信号を出力する撮像素子を備える電子機器に用いられ、上記撮像素子を上記撮像光学系の光軸に直交する方向に移動させて上記画像信号が示す画像において生じたブレを補正するブレ補正装置が記載されている。
【0004】
特許文献3には、固定体と、光学素子を保持する可動体と、上記固定体に対して上記可動体を移動可能に支持する支持機構と、上記可動体を移動させる振れ補正用駆動機構とを備え、上記振れ補正用駆動機構は、上記可動体又は上記固定体のいずれか一方に設けられた磁石と、上記可動体又は上記固定体のいずれか他方に設けられ上記磁石の磁界内で上記可動体に電磁力を作用させる駆動コイルとを有する磁気駆動機構であり、上記可動体又は上記固定体のうち、上記駆動コイルが設けられている部材には、上記電磁力による上記磁石の変位を検出する磁気検出素子と、その磁気検出素子に作用する上記駆動コイルからの磁束をキャンセル可能な磁束を発生するキャンセルコイルとが設けられていることを特徴とする振れ補正機能付き光学ユニットが記載されている。
【先行技術文献】
【特許文献】
【0005】
特開2019-102803公報
特開2020-170962公報
特開2018-205585公報
【発明の概要】
【課題を解決するための手段】
【0006】
本開示の技術に係る一つの実施形態の駆動装置は、磁石と、上記磁石からの作用を受けるコイル及び位置センサと、上記位置センサを通過し且つ上記コイルの内側から上記コイルの外側に跨がる電気配線と、上記位置センサの出力に基づいて上記コイルに流す電流を制御するプロセッサと、を備え、上記コイルに電流が流れることによって、上記電気配線により生じる起電力が閾値以下であるものである。
【0007】
本開示の技術に係る一つの実施形態の撮像装置は、上記駆動装置を備えるものである。
【図面の簡単な説明】
【0008】
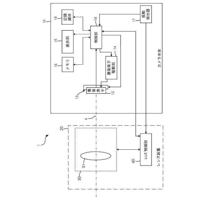
本発明の撮像装置の一実施形態であるデジタルカメラ1の概略構成を示す図である。
図1に示すデジタルカメラ1における撮像素子シフト機構13の概略構成を部分的に示す模式図である。
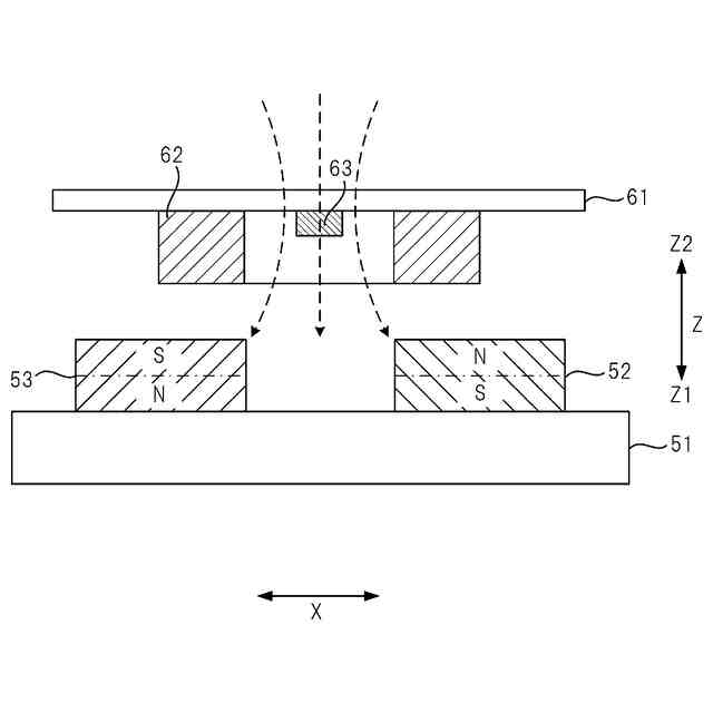
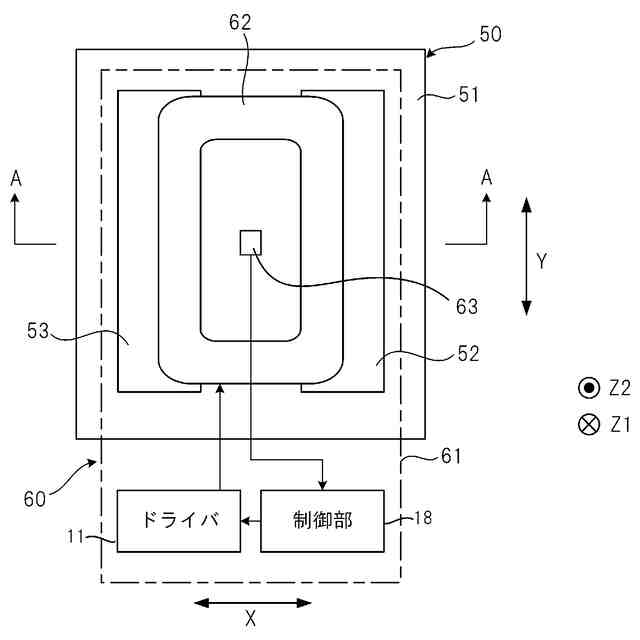
図2のA-A矢視の断面模式図である。
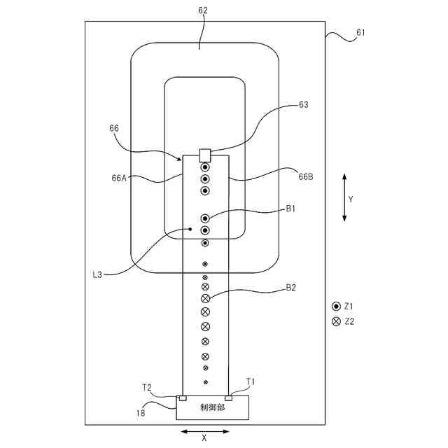
図2に示す可動部60を方向Z2に見た模式図である。
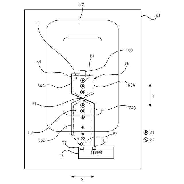
位置センサ63と制御部18を接続する電気配線の第一変形例を示す、図4に対応する模式図である。
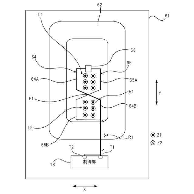
位置センサ63と制御部18を接続する電気配線の第二変形例を示す、図4に対応する模式図である。
位置センサ63と制御部18を接続する電気配線の第三変形例を示す、図4に対応する模式図である。
スマートフォン200の外観を示すものである。
図8に示すスマートフォン200の構成を示すブロック図である。
図7に示す電気配線の構成において位置センサ63を駆動用コイル62の外側に配置する場合の構成例を示す、図4に対応する模式図である。
【発明を実施するための形態】
【0009】
図1は、本発明の撮像装置の一実施形態であるデジタルカメラ1の概略構成を示す図である。デジタルカメラ1は、カメラ本体10とレンズ装置20とを備える。レンズ装置20は、カメラ本体10に着脱可能に、換言すると交換可能に構成されている。レンズ装置20はカメラ本体10と一体化されていてもよい。
【0010】
レンズ装置20は、撮像光学系30とレンズ制御部40とを有する。撮像光学系30は、撮像レンズ31と、図示しない絞り機構等を備えている。撮像レンズ31は、例えば撮像光学系30の焦点を調節するためのレンズ等を含む、単一のレンズ又は複数のレンズで構成される。レンズ制御部40は、プロセッサを主体に構成されており、後述の制御部18の制御により、撮像光学系30を駆動制御する。
(【0011】以降は省略されています)
この特許をJ-PlatPat(特許庁公式サイト)で参照する
関連特許
個人
表示装置
1か月前
個人
雨用レンズカバー
1か月前
日本精機株式会社
プロジェクタ
1日前
キヤノン株式会社
撮像装置
1か月前
キヤノン株式会社
撮像装置
8日前
キヤノン株式会社
撮像装置
1か月前
キヤノン株式会社
撮像装置
1か月前
日本精機株式会社
車両用投射装置
1か月前
株式会社リコー
画像形成装置
1か月前
株式会社リコー
画像形成装置
1か月前
株式会社リコー
画像形成装置
1か月前
株式会社リコー
画像形成装置
22日前
株式会社リコー
画像形成装置
1か月前
キヤノン株式会社
画像形成装置
1か月前
キヤノン株式会社
トナー
2か月前
キヤノン株式会社
トナー
1か月前
キヤノン株式会社
画像形成装置
16日前
キヤノン株式会社
画像形成装置
1か月前
キヤノン株式会社
トナー
1か月前
キヤノン株式会社
現像装置
1か月前
沖電気工業株式会社
画像形成装置
1か月前
スタンレー電気株式会社
照明装置
2か月前
アイホン株式会社
カメラシステム
1か月前
レーザーテック株式会社
光源装置
24日前
沖電気工業株式会社
画像形成装置
3日前
レーザーテック株式会社
光源装置
3日前
キヤノン株式会社
レンズキャップ
1か月前
沖電気工業株式会社
画像形成装置
1か月前
古野電気株式会社
装置
1か月前
ブラザー工業株式会社
画像形成装置
1か月前
ブラザー工業株式会社
画像形成装置
1か月前
シャープ株式会社
捺染トナー
1日前
キヤノン株式会社
画像形成装置
1か月前
キヤノン株式会社
画像形成装置
22日前
キヤノン株式会社
画像形成装置
22日前
キヤノン株式会社
画像形成装置
11日前
続きを見る
他の特許を見る