TOP
|
特許
|
意匠
|
商標
特許ウォッチ
Twitter
他の特許を見る
10個以上の画像は省略されています。
公開番号
2025176062
公報種別
公開特許公報(A)
公開日
2025-12-03
出願番号
2025141092,2022540619
出願日
2025-08-27,2020-09-03
発明の名称
グルタミン酸受容体アゴニストにより認知機能を増加させる方法
出願人
シークマイヤー, ピーター ジェイ.
,
ローウェン, スティーブン ビー.
,
コイル, ジョゼフ ティー.
代理人
個人
,
個人
,
個人
,
個人
,
個人
主分類
A61K
45/00 20060101AFI20251126BHJP(医学または獣医学;衛生学)
要約
【課題】作業記憶、推論/問題解決および注意/覚醒度を含む認知機能を増加させる処置を提供する。
【解決手段】対象において認知機能を増加させるおよび/または減少した認知機能に関連する疾患もしくは障害を処置する方法が提供される。対象をグルタミン酸受容体アゴニストで処置することは、対象をグルタミン酸受容体アゴニスト応答者として同定することを含むことができる。本方法は、対象から脳波(EEG)信号を取得することをさらに含むことができる。本方法は、1またはそれを超えるEEG測定基準を測定し、それによって対象をグルタミン酸受容体アゴニストとして同定することをさらに含むことができる。グルタミン酸受容体アゴニスト応答者を同定するための命令を有するコードを記憶する非一時的なプロセッサ可読媒体が、さらに提供される。
【選択図】なし
特許請求の範囲
【請求項1】
本明細書に記載の発明。
発明の詳細な説明
【技術分野】
【0001】
関連出願への相互参照
本出願は、2019年9月3日に出願された、「EEG Biomarkers」と題する米国仮出願第62/895,081号を基礎とし、それに基づく優先権を主張し、参照によりその開示全体を本明細書に組み入れる。
続きを表示(約 1,000 文字)
【0002】
技術分野
本開示は、思考力(cogitative)機能のための処置の分野に関する。
【背景技術】
【0003】
背景
作業記憶、推論/問題解決および注意/覚醒度を含む認知機能を増加させる処置が当技術分野において必要とされている。
【発明の概要】
【課題を解決するための手段】
【0004】
要旨
グルタミン酸受容体アゴニストをその後に投与される対象の脳波(EEG)データの処置前分析は、グルタミン酸受容体アゴニストによる処置がヒト対象における認知機能を増加させることを示す。さらに、EEGデータの分析は、グルタミン酸受容体アゴニストが認知機能に対して特に強い効果を有する対象の部分集団を同定する。
【0005】
したがって、さまざまな実施形態では、対象において、認知機能を増加させるおよび/または減少した認知機能に関連する疾患もしくは障害を処置する方法であって、有効量のグルタミン酸受容体アゴニストを投与することを含む、方法が本明細書において提供される。対象は、健康な対象であり得る、または精神障害に罹患し得る、もしくは精神障害のリスクがあり得る。
【0006】
さまざまな実施形態では、プロセッサによって実行される命令を表すコードを記憶する非一時的なプロセッサ可読媒体であって、前記コードは、前記プロセッサに、前記対象の1またはそれを超える脳位置から記録された脳波(EEG)信号を受信させ;前記EEG信号を1またはそれを超えるEEG測定基準に変換させ;および前記1またはそれを超えるEEG測定基準を受信し、前記1またはそれを超えるEEG測定基準に基づいて前記対象をグルタミン酸受容体アゴニスト応答者として同定するように構成されたモデルを実行させるためのコードを含む、非一時的なプロセッサ可読媒体がさらに提供される。
【図面の簡単な説明】
【0007】
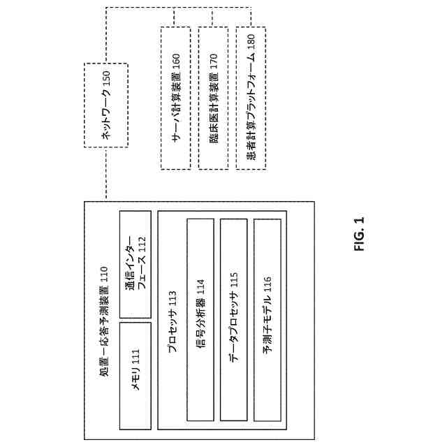
図1は、一実施形態による処置-応答予測装置の概略説明図である。
【0008】
図2は、一実施形態による処置-応答予測の方法を例示するフローチャートである。
【0009】
図3は、一実施形態による処置-応答予測の方法を例示するフローチャートである。
【0010】
図4は、EEG記録のためのモンタージュを示す。
(【0011】以降は省略されています)
この特許をJ-PlatPat(特許庁公式サイト)で参照する
関連特許
個人
貼付剤
1か月前
個人
簡易担架
20日前
個人
腋臭防止剤
20日前
個人
短下肢装具
4か月前
個人
足踏み器具
27日前
個人
排尿補助器具
1か月前
個人
嚥下鍛錬装置
5か月前
個人
洗井間専家。
8か月前
個人
前腕誘導装置
4か月前
個人
白内障治療法
8か月前
個人
胸骨圧迫補助具
3か月前
個人
腰ベルト
1か月前
個人
汚れ防止シート
2か月前
個人
バッグ式オムツ
5か月前
個人
矯正椅子
6か月前
個人
アイマスク装置
3か月前
個人
ウォート指圧法
1か月前
個人
ホバーアイロン
7か月前
個人
テスト肺
1日前
個人
歯の修復用材料
5か月前
個人
歯の保護用シール
6か月前
三生医薬株式会社
錠剤
8か月前
個人
シャンプー
7か月前
個人
車椅子持ち上げ器
8か月前
個人
排尿排便補助器具
22日前
個人
湿布連続貼り機。
3か月前
個人
哺乳瓶冷まし容器
4か月前
個人
陣痛緩和具
5か月前
個人
美容セット
29日前
株式会社結心
手袋
9か月前
株式会社八光
剥離吸引管
6か月前
株式会社大野
骨壷
5か月前
個人
服薬支援装置
8か月前
株式会社コーセー
化粧料
1か月前
個人
性行為補助具
4か月前
個人
エア誘導コルセット
3か月前
続きを見る
他の特許を見る