TOP
|
特許
|
意匠
|
商標
特許ウォッチ
Twitter
他の特許を見る
公開番号
2025176035
公報種別
公開特許公報(A)
公開日
2025-12-03
出願番号
2025137206,2023516408
出願日
2025-08-20,2022-03-30
発明の名称
磁性蓄冷材粒子、蓄冷器、冷凍機、クライオポンプ、超電導磁石、核磁気共鳴イメージング装置、核磁気共鳴装置、磁界印加式単結晶引上げ装置、及び、ヘリウム再凝縮装置
出願人
株式会社Niterra Materials
代理人
弁理士法人東京国際特許事務所
主分類
C09K
5/14 20060101AFI20251126BHJP(染料;ペイント;つや出し剤;天然樹脂;接着剤;他に分類されない組成物;他に分類されない材料の応用)
要約
【課題】極低温の温度域で、冷凍機の動作による長期間の振動を加えても、破損率の少ない磁性蓄冷材粒子、それを具備することにより長期間駆動しても冷凍性能が低下しない蓄冷器、冷凍機、及びその冷凍機を具備する超電導磁石等の装置を提供する。
【解決手段】実施形態の磁性蓄冷材粒子は、希土類元素を含む金属間化合物からなり、かつ、その断面に存在する空隙の面積の割合が0.0001%以上15%以下である。実施形態の蓄冷器、冷凍機、及びその冷凍機を具備する超電導磁石等の装置は、実施形態の磁性蓄冷材粒子を具備する。
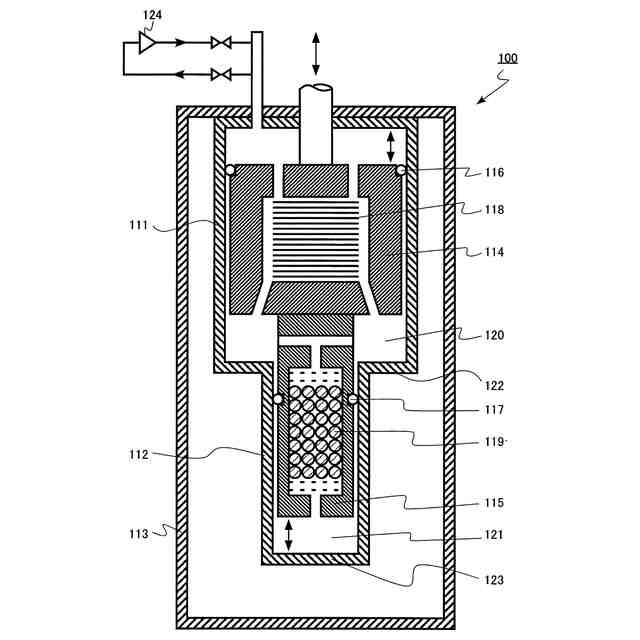
【選択図】 図1
特許請求の範囲
【請求項1】
RMz(RはY、La、Ce、Pr、Nd、Pm、Sm、Eu、Gd、Tb、Dy、Ho、Er、TmおよびYbから選ばれる少なくとも1種の希土類元素を、MはNi、Co、Cu、Ag、Ga、Bi、Si、Al及びRuから選ばれる少なくとも1種の金属元素を示し、zは0.001~9.0の範囲の数である)で表される希土類元素を含む金属間化合物からなり、かつ、その断面に存在する粒子中の空隙の面積の割合が0.0001%以上15%以下であり、アスペクト比が1であるものの割合が70%以上を占め、
投影像の周囲長さをLとし、投影像の実面積をAとしたとき、4πA/L
2
で表される円形度Rが0.4以下の磁性蓄冷材粒子の比率が10%以下である、磁性蓄冷材粒子。
続きを表示(約 380 文字)
【請求項2】
粒体であり、前記粒体の粒径が50μm以上3mm以下である請求項1記載の磁性蓄冷材粒子。
【請求項3】
請求項1または2記載の磁性蓄冷材粒子を充填した蓄冷器。
【請求項4】
請求項3記載の蓄冷器を備えた、冷凍機。
【請求項5】
請求項4記載の冷凍機を備えた、クライオポンプ。
【請求項6】
請求項4記載の冷凍機を備えた、超電導磁石。
【請求項7】
請求項4記載の冷凍機を備えた、核磁気共鳴イメージング装置。
【請求項8】
請求項4記載の冷凍機を備えた、核磁気共鳴装置。
【請求項9】
請求項4記載の冷凍機を備えた、磁界印加式単結晶引上げ装置。
【請求項10】
請求項4記載の冷凍機を備えた、ヘリウム再凝縮装置。
発明の詳細な説明
【技術分野】
【0001】
本発明の実施形態は、磁性蓄冷材粒子、蓄冷器、冷凍機、クライオポンプ、超電導磁石、核磁気共鳴イメージング(MRI)装置、核磁気共鳴装置、磁界印加式単結晶引上げ装置、及び、ヘリウム再凝縮装置に関する。
続きを表示(約 1,400 文字)
【背景技術】
【0002】
近年、超電導技術の発展は著しく、その応用分野が拡大するに伴って高性能かつ信頼性の高い極低温冷凍機の開発が不可欠になってきている。かかる極低温冷凍機は、高い熱効率を長期間にわたり発揮することが要求されている。
【0003】
極低温冷凍機では、複数の蓄冷材を蓄冷器の中に収容する。例えば、蓄冷材と、蓄冷器の中を通るヘリウムガスとの間で熱交換を行うことにより、寒冷を発生させる。例えば、超電導MRI装置やクライオポンプなどにおいては、ギフォード・マクマホン(GM)方式、スターリング方式、又はパルスチューブ方式などの冷凍サイクルによる冷凍機が用いられている。
【0004】
また、磁気浮上列車にも超電導磁石を用いて磁力を発生させるために高性能な冷凍機が必須とされている。さらに、最近では、超電導電力貯蔵装置(SMES)、及び高品質のシリコンウェハーなどを製造する磁界印加式単結晶引上げ装置などにおいても高性能な冷凍機が用いられている。さらに高い信頼性が期待されているパルスチューブ冷凍機の開発及び実用化も積極的に進められている。
【0005】
また、上記したような超電導磁石やMRI装置などにおいては、使用する液体ヘリウムが蒸発するため、液体ヘリウムの補給が問題となる。近年、ヘリウムの枯渇問題が深刻化し、入手困難な状態が発生し、産業界に影響を及ぼしている。
【0006】
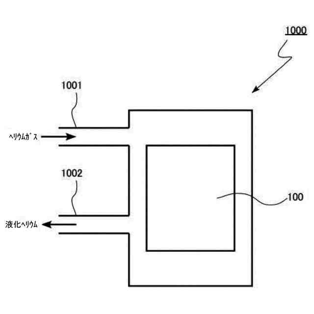
この液体ヘリウムの消費量を低減し、補給などのメンテナンスの負荷を軽減するため、蒸発したヘリウムを再凝縮するヘリウム再凝縮装置が実用化され、需要が高まっている。このヘリウム再凝縮装置にも、ヘリウムを液化するために、温度を4Kレベルに冷却するためにGM式冷凍機やパルスチューブ式冷凍機が使用されている。
【0007】
また、ヘリウム以外のガスの液化又は液化ガスの保存時に蒸発を防ぐために、GM式冷凍機やパルスチューブ式冷凍機を使用することが出来る。ヘリウム以外のガスとは、例えば水素である。液化水素の沸点は約20Kであるため、温度を20K以下に保てば液化水素の蒸発を低減させることができる。
【0008】
蓄冷材を搭載する冷凍機においては、蓄冷材が収容された蓄冷器内を、圧縮されたヘリウム(He)ガスなどの作動媒質が一方向に流れて、その熱エネルギーを蓄冷材に供給する。そして、蓄冷器内を膨張した作動媒質が反対方向に流れ、蓄冷材から熱エネルギーを受け取る。こうした過程での復熱効果が良好になるに伴い、作動媒質サイクルでの熱効率が向上し、より低い温度を実現することが可能となる。
【0009】
ここで蓄冷器に搭載する蓄冷材の単位体積当たりの比熱が高いほど、蓄冷材の蓄えることが可能な熱エネルギーが増加するため、冷凍機の冷凍能力が向上する。このため、蓄冷器の低温側には低温で高い比熱を有する蓄冷材を、高温側には高温で高い比熱を有する蓄冷材を搭載することが望ましい。
【0010】
蓄冷材はその組成に依存して、特定の温度域で高い体積比熱を示す。このため、目的とする温度領域において高い体積比熱を示す、異なる組成の蓄冷材を組み合わせることで、蓄冷能力が高まり、冷凍機の冷凍能力が向上する。
(【0011】以降は省略されています)
この特許をJ-PlatPat(特許庁公式サイト)で参照する
関連特許
日本化薬株式会社
インク
2か月前
日本化薬株式会社
インク
27日前
ベック株式会社
水性被覆材
1か月前
ベック株式会社
被膜形成方法
1か月前
ベック株式会社
被膜形成方法
4か月前
株式会社日本触媒
インクセット
2か月前
個人
絵具及び絵具セット
1か月前
日本化薬株式会社
前処理組成物
1か月前
出光興産株式会社
構造体
27日前
日本製紙株式会社
圧着紙
1か月前
日本化薬株式会社
インク組成物
2か月前
日本化薬株式会社
インクセット
27日前
メック株式会社
表面処理剤
1か月前
東ソー株式会社
印刷インキ組成物
1か月前
株式会社KRI
潜熱蓄熱材組成物
1か月前
関西ペイント株式会社
塗料組成物
3か月前
個人
滑り止め分散剤組成物
1か月前
東亞合成株式会社
プライマー組成物
1か月前
株式会社共和
粘着テープ
7日前
日澱化學株式会社
ホットメルト接着剤
1か月前
株式会社グッドネス
保冷パック
1か月前
シヤチハタ株式会社
油性インキ組成物
3か月前
東ソー株式会社
土木用注入薬液組成物
2か月前
大日精化工業株式会社
顔料分散液
2か月前
AGC株式会社
液状組成物
4か月前
アイカ工業株式会社
光硬化型圧着組成物
3か月前
アイカ工業株式会社
ホットメルト組成物
1か月前
デンカ株式会社
蛍光体
1か月前
東ソー株式会社
土質安定化注入薬液組成物
3か月前
東ソー株式会社
土質安定化注入薬液組成物
3か月前
マクセル株式会社
粘着テープ
1か月前
マクセル株式会社
粘着テープ
4か月前
リンテック株式会社
粘着シート
1か月前
大日本印刷株式会社
積層シート
1か月前
日本化薬株式会社
インク組成物及び捺染方法
1か月前
artience株式会社
水性フレキソインキ
1か月前
続きを見る
他の特許を見る